СИСТЕМА КЛАССИФИКАЦИИ ПАССАЖИРОВ, диагностический DTC: B1782

Код DTC Наименование DTC
B1782 Неисправность в цепи левого заднего датчика классификации пассажиров

ОПИСАНИЕ

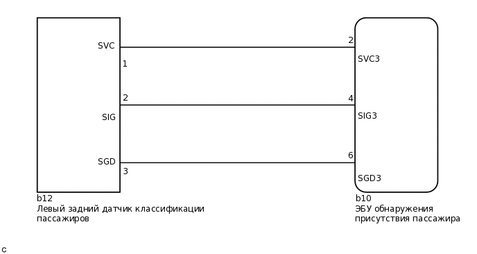
В цепь левого заднего датчика классификации пассажиров входят ЭБУ обнаружения пассажира и левый задний датчик классификации пассажиров.

Код DTC B1782 регистрируется при обнаружении неисправности в цепи левого заднего датчика классификации пассажиров.

№ DTC

Неисправность

Условие обнаружения DTC

Неисправный участок

B1782

Неисправность в цепи левого заднего датчика классификации пассажиров

  • ЭБУ обнаружения присутствия пассажира обнаруживает короткое замыкание, короткое замыкание на массу или на B+ или обрыв в цепи левого заднего датчика классификации пассажиров.

  • Неисправность левого заднего датчика классификации пассажиров

  • Неисправность ЭБУ обнаружения присутствия пассажира

  • Жгут электропроводки правого переднего сиденья

  • Левый задний датчик классификации пассажиров (регулятор правого переднего сиденья в сборе)*

  • ЭБУ обнаружения присутствия пассажира

  • *: Левый задний датчик классификации пассажиров встроен в регулятор правого переднего сиденья в сборе.

СХЕМА ЭЛЕКТРИЧЕСКИХ СОЕДИНЕНИЙ

C239232E57

ПРЕДОСТЕРЕЖЕНИЕ / ПРИМЕЧАНИЕ / УКАЗАНИЕ

Note:

После выключения зажигания следует подождать некоторое время, прежде чем отсоединять провод от отрицательного (-) вывода аккумуляторной батареи. Поэтому, прежде чем приступать к этой работе, обязательно ознакомьтесь с примечанием относительно отсоединения провода от отрицательного (-) вывода аккумуляторной батареи.

Нажмите здесьClick hereClick hereClick here

Tip:
  • При обнаружении кода DTC B1650/32 в ходе диагностики системы подушек безопасности проверьте коды DTC, зарегистрированные в ЭБУ обнаружения присутствия пассажира. Если DTC B1782 выводится, сначала выполните диагностику для этого кода DTC.

  • Если выполнить диагностику (проверку жгута проводов) затруднительно, выверните болты крепления сиденья переднего пассажира, чтобы была видна нижняя часть подушки сиденья.

  • В этом случае поднимите и поддерживайте сиденье, чтобы оно не упало. Удерживайте сиденье лишь столько, сколько требуется, так как длительное удержание сиденья может вызвать деформацию его направляющих.

ПОРЯДОК ВЫПОЛНЕНИЯ

  1. ПРОВЕРЬТЕ РАЗЪЕМЫ

    1. Выключите зажигание.

    2. Отсоедините провод от отрицательного (-) вывода аккумуляторной батареи.

    3. Проверьте правильность подключения разъемов к ЭБУ обнаружения присутствия пассажира и левому заднему датчику классификации пассажиров.

      OK

      Разъемы подсоединены должным образом.

      Tip:

      Если разъемы подсоединены ненадежно, подсоедините их и перейдите к следующей проверке.

    4. Отсоедините разъемы от ЭБУ обнаружения присутствия пассажира и левого заднего датчика классификации пассажиров.

    5. Убедитесь, что контакты разъемов не деформированы и не повреждены.

      OK

      Контакты не деформированы и не повреждены.

    Результат

    Перейти к

    OK

    НЕ СООТВ.

    НЕ СООТВ.

    ЗАМЕНИТЕ ЖГУТ ЭЛЕКТРОПРОВОДКИ ПРАВОГО ПЕРЕДНЕГО СИДЕНЬЯ

    СООТВ
  2. ПРОВЕРЬТЕ ЖГУТ ЭЛЕКТРОПРОВОДКИ ПРАВОГО ПЕРЕДНЕГО СИДЕНЬЯ (КОРОТКОЕ ЗАМЫКАНИЕ НА B+)

    1. C290338C11

      *1

      Левый задний датчик классификации пассажиров

      *2

      ЭБУ обнаружения присутствия пассажира

      *3

      Жгут электропроводки правого переднего сиденья

      *a

      Вид спереди разъема со стороны жгута проводов:

      (к ЭБУ обнаружения присутствия пассажира)

      Подсоедините провод к отрицательному (-) выводу аккумуляторной батареи.

    2. Включите питание (IG).

    3. Измерьте напряжение в соответствии со значениями, приведенными в таблице.

      Номинальное напряжение

      Подключение диагностического прибора

      Условие

      Заданные условия

      b10-2 (SVC3) - масса

      Зажигание включено (IG)

      Менее 1 В

      b10-4 (SIG3) - масса

      Зажигание включено (IG)

      Менее 1 В

      b10-6 (SGD3) - масса

      Зажигание включено (IG)

      менее 1 В

    4. Выключите зажигание.

    5. Отсоедините провод от отрицательного (-) вывода аккумуляторной батареи.

    Результат

    Перейти к

    OK

    НЕ СООТВ.

    НЕ СООТВ.

    ЗАМЕНИТЕ РЕГУЛЯТОР ПРАВОГО ПЕРЕДНЕГО СИДЕНЬЯ В СБОРЕClick here

    СООТВ
  3. ПРОВЕРЬТЕ ЖГУТ ЭЛЕКТРОПРОВОДКИ ПРАВОГО ПЕРЕДНЕГО СИДЕНЬЯ (ОБРЫВ)

    1. C295787C04

      *1

      Левый задний датчик классификации пассажиров

      *2

      ЭБУ обнаружения присутствия пассажира

      *3

      Жгут электропроводки правого переднего сиденья

      *4

      Технологический провод

      *a

      Вид спереди разъема со стороны жгута проводов:

      (к ЭБУ обнаружения присутствия пассажира)

      *b

      Вид спереди разъема со стороны жгута проводов:

      (к левому заднему датчику классификации пассажиров)

      Используя технологические провода, соедините контакты 1 (SVC) и 3 (SGD), и контакты 2 (SIG) и 3 (SGD) разъема C.

      Note:

      Технологический провод следует вставлять в контакты разъема без усилия.

    2. Измерьте сопротивление в соответствии со значениями, приведенными в таблице ниже.

      Номинальное сопротивление

      Подключение диагностического прибора

      Условие

      Заданные условия

      b10-2 (SVC3) - b10-6 (SGD3)

      Всегда

      Менее 1 Ом

      b10-4 (SIG3) - b10-6 (SGD3)

      Всегда

      Менее 1 Ом

    3. Отсоедините технологические провода от разъема C.

    Результат

    Перейти к

    OK

    НЕ СООТВ.

    НЕ СООТВ.

    ЗАМЕНИТЕ ЖГУТ ЭЛЕКТРОПРОВОДКИ ПРАВОГО ПЕРЕДНЕГО СИДЕНЬЯ

    СООТВ
  4. ПРОВЕРЬТЕ ЖГУТ ЭЛЕКТРОПРОВОДКИ ПРАВОГО ПЕРЕДНЕГО СИДЕНЬЯ (КОРОТКОЕ ЗАМЫКАНИЕ)

    1. C290338C11

      *1

      Левый задний датчик классификации пассажиров

      *2

      ЭБУ обнаружения присутствия пассажира

      *3

      Жгут электропроводки правого переднего сиденья

      *a

      Вид спереди разъема со стороны жгута проводов:

      (к ЭБУ обнаружения присутствия пассажира)

      Измерьте сопротивление в соответствии со значениями, приведенными в таблице ниже.

      Номинальное сопротивление

      Подключение диагностического прибора

      Условие

      Заданные условия

      b10-2 (SVC3) - b10-6 (SGD3)

      Всегда

      1 МОм или более

      b10-4 (SIG3) - b10-6 (SGD3)

      Всегда

      1 МОм или более

      b10-2 (SVC3) - b10-4 (SIG3)

      Всегда

      1 МОм или более

    Результат

    Перейти к

    OK

    НЕ СООТВ.

    НЕ СООТВ.

    ЗАМЕНИТЕ ЖГУТ ЭЛЕКТРОПРОВОДКИ ПРАВОГО ПЕРЕДНЕГО СИДЕНЬЯ

    СООТВ
  5. ПРОВЕРЬТЕ ЖГУТ ЭЛЕКТРОПРОВОДКИ ПРАВОГО ПЕРЕДНЕГО СИДЕНЬЯ (КОРОТКОЕ ЗАМЫКАНИЕ НА МАССУ)

    1. C290338C11

      *1

      Левый задний датчик классификации пассажиров

      *2

      ЭБУ обнаружения присутствия пассажира

      *3

      Жгут электропроводки правого переднего сиденья

      *a

      Вид спереди разъема со стороны жгута проводов:

      (к ЭБУ обнаружения присутствия пассажира)

      Измерьте сопротивление в соответствии со значениями, приведенными в таблице ниже.

      Номинальное сопротивление

      Подключение диагностического прибора

      Условие

      Заданные условия

      b10-2 (SVC3) - масса

      Всегда

      1 МОм или более

      b10-4 (SIG3) - масса

      Всегда

      1 МОм или более

      b10-6 (SGD3) - масса

      Всегда

      1 МОм или более

    Результат

    Перейти к

    OK

    НЕ СООТВ.

    НЕ СООТВ.

    ЗАМЕНИТЕ ЖГУТ ЭЛЕКТРОПРОВОДКИ ПРАВОГО ПЕРЕДНЕГО СИДЕНЬЯ

    СООТВ
  6. ПРОВЕРЬТЕ DTC

    1. Подсоедините разъемы к ЭБУ обнаружения присутствия пассажира и левому заднему датчику классификации пассажиров.

    2. Подсоедините провод к отрицательному (-) выводу аккумуляторной батареи.

    3. Удалите коды DTC, сохраненные в ЭБУ обнаружения присутствия пассажира.

      Нажмите здесьClick here

      Body Electrical > Occupant Detection > Clear DTCs

    4. Удалите коды DTC, сохраненные в ЭБУ системы SRS в сборе.

      Нажмите здесьClick here

      Body Electrical > SRS Airbag > Clear DTCs

    5. Выключите питание.

    6. Включите зажигание (IG) и подождите не менее 10 с.

    7. Проверьте наличие кодов DTC.

      Нажмите здесьClick here

      Body Electrical > Occupant Detection > Trouble Codes

      OK

      DTC B1782 не выводится.

      Tip:

      В этот момент могут выводиться другие коды, кроме B1782, которые не связаны с данной проверкой.

    8. Выключите питание.

    Result

    Перейти к

    OK

    НЕ СООТВ.

    OK

    ВЫПОЛНИТЕ ПРОВЕРКУ С ИМИТАЦИЕЙ УСЛОВИЙ ВОЗНИКНОВЕНИЯ НЕИСПРАВНОСТИ

    Нажмите здесьClick hereClick hereClick hereClick here

    NG
  7. ПРОВЕРЬТЕ ЭБУ ОБНАРУЖЕНИЯ ПРИСУТСТВИЯ ПАССАЖИРА

    1. Отсоедините провод от отрицательного (-) вывода аккумуляторной батареи.

    2. Замените ЭБУ обнаружения присутствия пассажира заведомо исправным.

      Нажмите здесьClick hereClick here

      Tip:

      Выполните следующую проверку, используя, по возможности, заведомо исправные узлы и детали от другого автомобиля.

    3. Подсоедините провод к отрицательному (-) выводу аккумуляторной батареи.

    4. Удалите коды DTC, сохраненные в ЭБУ обнаружения присутствия пассажира.

      Нажмите здесьClick here

      Body Electrical > Occupant Detection > Clear DTCs

    5. Удалите коды DTC, сохраненные в ЭБУ системы SRS в сборе.

      Нажмите здесьClick here

      Body Electrical > SRS Airbag > Clear DTCs

    6. Выключите питание.

    7. Включите зажигание (IG) и подождите не менее 10 с.

    8. Проверьте наличие кодов DTC.

      Нажмите здесьClick here

      Body Electrical > Occupant Detection > Trouble Codes

      OK

      DTC B1782 не выводится.

      Tip:

      В этот момент могут выводиться другие коды, кроме B1782, которые не связаны с данной проверкой.

    9. Выключите питание.

    10. Отсоедините провод от отрицательного (-) вывода аккумуляторной батареи.

    11. Верните ЭБУ обнаружения присутствия пассажира, который был установлен для проверки, на его исходное место.

      Нажмите здесьClick hereClick here

    Результат

    Перейти к

    OK

    НЕ СООТВ.

    НЕ СООТВ.

    ЗАМЕНИТЕ РЕГУЛЯТОР ПРАВОГО ПЕРЕДНЕГО СИДЕНЬЯ В СБОРЕClick here

    OK
  8. ЗАМЕНИТЕ ЭБУ ОБНАРУЖЕНИЯ ПРИСУТСТВИЯ ПАССАЖИРА

    1. Выключите зажигание.

    2. Отсоедините провод от отрицательного (-) вывода аккумуляторной батареи.

    3. Замените ЭБУ обнаружения присутствия пассажира новым.

      Нажмите здесьClick hereClick here

    4. Подсоедините провод к отрицательному (-) выводу аккумуляторной батареи.

    Result

    Перейти к

    СЛЕДУЮЩЕЕ -

    ДАЛЕЕ
  9. ВЫПОЛНИТЕ КАЛИБРОВКУ "НУЛЯ" ДАТЧИКА

    1. Используя GTS, выполните калибровку "нуля".

      Нажмите здесьClick here

      Body Electrical > Occupant Detection > Utility

      Информация на дисплее прибора

      Zero Point Calibration

    Результат

    Перейти к

    СЛЕДУЮЩЕЕ -

    СЛЕДУЮЩЕЕ -

    КОНЕЦ

  10. ЗАМЕНИТЕ РЕГУЛЯТОР ПРАВОГО ПЕРЕДНЕГО СИДЕНЬЯ В СБОРЕ

    1. Выключите питание.

    2. Отсоедините провод от отрицательного (-) вывода аккумуляторной батареи.

    3. Замените регулятор правого переднего сиденья в сборе.

      Нажмите здесьClick hereClick here

    4. Подсоедините провод к отрицательному (-) выводу аккумуляторной батареи.

    Result

    Перейти к

    СЛЕДУЮЩЕЕ -

    ДАЛЕЕ
  11. ВЫПОЛНИТЕ КАЛИБРОВКУ "НУЛЯ" ДАТЧИКА

    1. Используя GTS, выполните калибровку "нуля".

      Нажмите здесьClick here

      Body Electrical > Occupant Detection > Utility

      Информация на дисплее прибора

      Zero Point Calibration

    Результат

    Перейти к

    СЛЕДУЮЩЕЕ -

    СЛЕДУЮЩЕЕ -

    КОНЕЦ

  12. ЗАМЕНИТЕ РЕГУЛЯТОР ПРАВОГО ПЕРЕДНЕГО СИДЕНЬЯ В СБОРЕ

    1. Замените регулятор правого переднего сиденья в сборе.

      Нажмите здесьClick hereClick here

      Note:

      Одновременно с этим замените жгут проводов правого переднего сиденья.

      Tip:

      Если в жгуте проводов правого переднего сиденья происходит короткое замыкание на В+, левый задний датчик классификации пассажиров выходит из строя. По этой причине замените жгут проводов правого переднего сиденья и регулятор правого переднего сиденья в сборе, в состав которой входит левый задний датчик классификации пассажиров.

    2. Подсоедините провод к отрицательному (-) выводу аккумуляторной батареи.

    Result

    Перейти к

    СЛЕДУЮЩЕЕ -

    ДАЛЕЕ
  13. ВЫПОЛНИТЕ КАЛИБРОВКУ "НУЛЯ" ДАТЧИКА

    1. Используя GTS, выполните калибровку "нуля".

      Нажмите здесьClick here

      Body Electrical > Occupant Detection > Utility

      Информация на дисплее прибора

      Zero Point Calibration

    Результат

    Перейти к

    СЛЕДУЮЩЕЕ -

    СЛЕДУЮЩЕЕ -

    КОНЕЦ