СИСТЕМА УПРАВЛЕНИЯ ГИБРИДНОЙ СИСТЕМОЙ Цепь режима "Eco" переключателя выбора режима

Код DTC Наименование DTC
Цепь режима "Eco" переключателя выбора режима

ОПИСАНИЕ

При выборе режима ECO в блок управления системой кондиционирования передается сигнал управления переключателем режима ECO (комбинированным переключателем в сборе). В результате управление отопителем и системой кондиционирования начинает осуществляться в режиме ECO.

СХЕМА СОЕДИНЕНИЙ

A287791E32

ПОРЯДОК ВЫПОЛНЕНИЯ

  1. СНИМИТЕ ПОКАЗАНИЯ GTS (ПРОВЕРКА ШИНЫ CAN)

    Нажмите здесьClick here

    Result

    Result

    Перейдите к

    Отображаются все ЭБУ и датчики, подключенные к системе передачи данных CAN на текущий момент времени.

    А

    Не отображается ни один из ЭБУ и датчиков, которые подключены к системе передачи данных CAN, либо отображаются лишь некоторые из них.

    Б

    B

    ПЕРЕЙДИТЕ К РАЗДЕЛУ "СИСТЕМА ПЕРЕДАЧИ ДАННЫХ CAN"

    Нажмите здесьClick here

    A
  2. ПРОВЕРЬТЕ, ВЫВОДЯТСЯ ЛИ DTC (HEALTH CHECK)

    Нажмите здесьClick here

    Результат

    Перейдите к

    Коды DTC не выводятся.

    Выводятся коды DTC.

    Выданы коды DTC.

    ПЕРЕЙДИТЕ К ТАБЛИЦЕ DTC

    Коды DTC не выводятся.
  3. СНИМИТЕ ПОКАЗАНИЯ GTS (РЕЖИМ ECO)

    1. Подключите GTS к DLC3.

    2. Включите питание (IG).

    3. Войдите в следующие меню: Powertrain / Hybrid Control / Data List / ECO Mode.

      Powertrain > Hybrid Control > Data List

      Информация на дисплее прибора

      Режим ECO

    4. Считайте значение, отображаемое на GTS.

      Powertrain > Hybrid Control > Data List

      Информация на дисплее прибора

      Измеряемая величина

      Диапазон

      Нормальное состояние

      Режим ECO

      Возможность перехода в режим ECO

      ON (ВКЛ) или OFF (ВЫКЛ)

      В режиме ECO: ON (ВКЛ)

      Не в режиме ECO: OFF (ВЫКЛ)

      Результат

      Result

      Перейдите к

      Данные на экране GTS изменяются в соответствии с положением переключателя выбора режима движения (комбинированного переключателя в сборе).

      A

      Данные на экране GTS не изменяются в соответствии с положением переключателя выбора режима движения (комбинированного переключателя в сборе).

      B

    A

    ПРОВЕРЬТЕ, НЕТ ЛИ ЭПИЗОДИЧЕСКИХ НЕИСПРАВНОСТЕЙ

    Нажмите здесьClick here

    B
  4. СНИМИТЕ ПОКАЗАНИЯ GTS (ВЫКЛЮЧАТЕЛЬ РЕЖИМА ECO)

    1. Подключите GTS к DLC3.

    2. Включите зажигание (IG).

    3. Войдите в следующие меню: Body Electrical / Air Conditioning / Data List / ECO Switch.

      Body Electrical > Air Conditioner > Data List

      Информация на дисплее прибора

      ECO Switch

    4. Считайте значение, отображаемое на GTS.

      Body Electrical > Air Conditioner > Data List

      Информация на дисплее прибора

      Измеряемая величина

      Диапазон

      Нормальное состояние

      ECO Switch

      Состояние выключателя режима ECO (комбинированного переключателя в сборе)

      ON (ВКЛ) или OFF (ВЫКЛ)

      Переключатель выбора режима движения (комбинированный переключатель в сборе) повернут и удерживается в положении ECO: ON (ВКЛ)

      Переключатель выбора режима движения (комбинированный переключатель в сборе) не повернут: OFF (ВЫКЛ)

      Результат

      Result

      Перейдите к

      Данные на экране GTS изменяются в соответствии с положением переключателя выбора режима движения (комбинированного переключателя в сборе).

      A

      Данные на экране GTS не изменяются в соответствии с положением переключателя выбора режима движения (комбинированного переключателя в сборе).

      B

    А

    ЗАМЕНИТЕ БЛОК УПРАВЛЕНИЯ СИСТЕМОЙ КОНДИЦИОНИРОВАНИЯ

    Нажмите здесьClick hereClick here

    B
  5. ПРОВЕРЬТЕ ПЕРЕКЛЮЧАТЕЛЬ ВЫБОРА РЕЖИМА ПРИВОДА (КОМБИНИРОВАННЫЙ ПЕРЕКЛЮЧАТЕЛЬ В СБОРЕ)

    1. Снимите переключатель выбора режима движения (комбинированный переключатель в сборе).

      Нажмите здесьClick here

    2. C305912C56

      *a

      Устройство с неподсоединенным жгутом проводов

      (Переключатель выбора режима привода (комбинированный переключатель в сборе))

      Измерьте сопротивление в соответствии со значениями, приведенными в таблице ниже.

      Номинальное сопротивление

      Подключение диагностического прибора

      Условие

      Заданные условия

      J35-9 (ECU) - J35-1 (GND)

      Переключатель выбора режима движения (комбинированный переключатель в сборе) повернут и удерживается в положении ECO

      Менее 50 Ом

      Переключатель выбора режима движения (комбинированный переключатель в сборе) не повернут

      10 кОм или более

    3. Установите выключатель режима ECO (комбинированный переключатель в сборе).

    Результат

    Перейти к

    OK

    НЕ СООТВ.

    НЕ СООТВ.

    ЗАМЕНИТЕ ПЕРЕКЛЮЧАТЕЛЬ ВЫБОРА РЕЖИМА ПРИВОДА (КОМБИНИРОВАННЫЙ ПЕРЕКЛЮЧАТЕЛЬ В СБОРЕ)

    Нажмите здесьClick here

    СООТВ
  6. ПРОВЕРЬТЕ ЖГУТ ПРОВОДОВ И РАЗЪЕМ (ПЕРЕКЛЮЧАТЕЛЬ РЕЖИМА ECO (КОМБИНИРОВАННЫЙ ПЕРЕКЛЮЧАТЕЛЬ В СБОРЕ) – МАССА)

    1. Отсоедините разъем J35 переключателя выбора режима вождения (комбинированного переключателя в сборе).

    2. C339643C09

      *a

      Вид спереди разъема со стороны жгута проводов:

      (к переключателю выбора режима движения (комбинированному переключателю в сборе))

      Измерьте сопротивление в соответствии со значениями, приведенными в таблице ниже.

      Номинальное сопротивление

      Подключение диагностического прибора

      Условие

      Заданные условия

      J35-1 (GND) - масса

      Всегда

      Менее 1 Ом

    3. Подсоедините разъем J35 переключателя выбора режима вождения (комбинированного переключателя в сборе).

    Результат

    Перейти к

    OK

    НЕ СООТВ.

    НЕ СООТВ.

    ОТРЕМОНТИРУЙТЕ ИЛИ ЗАМЕНИТЕ ЖГУТ ПРОВОДОВ ИЛИ РАЗЪЕМ

    СООТВ
  7. ПРОВЕРЬТЕ ЖГУТ ПРОВОДОВ И РАЗЪЕМ (БЛОК УПРАВЛЕНИЯ СИСТЕМОЙ КОНДИЦИОНИРОВАНИЯ В СБОРЕ – ВЫКЛЮЧАТЕЛЬ РЕЖИМА ECO (КОМБИНИРОВАННЫЙ ПЕРЕКЛЮЧАТЕЛЬ В СБОРЕ))

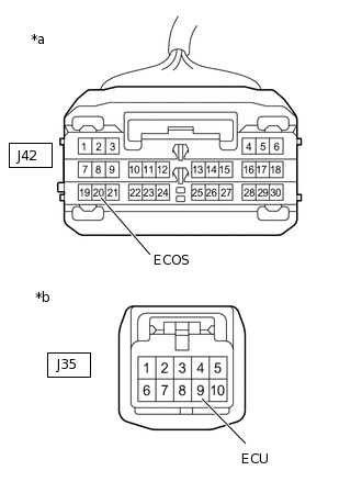
    1. Отсоедините разъем J42 блока управления системой кондиционирования.

      Нажмите здесьClick hereClick here

    2. Отсоедините разъем J35 переключателя выбора режима вождения (комбинированного переключателя в сборе).

    3. A373467C03

      *a

      Вид спереди разъема со стороны жгута проводов:

      (к блоку управления системой кондиционирования)

      *b

      Вид спереди разъема со стороны жгута проводов:

      (к переключателю выбора режима движения (комбинированному переключателю в сборе))

      Измерьте сопротивление в соответствии со значениями, приведенными в таблице ниже.

      Номинальное сопротивление

      Подключение диагностического прибора

      Условие

      Заданные условия

      J42-20 (ECOS) - J35-9 (ECU)

      Всегда

      Менее 1 Ом

      J42-20 (ECOS) или J35-9 (ECU) - масса

      Всегда

      10 кОм или более

    4. Подсоедините разъем J35 переключателя выбора режима вождения (комбинированного переключателя в сборе).

    5. Подсоедините разъем J42 блока управления системой кондиционирования.

    Результат

    Перейти к

    OK

    НЕ СООТВ.

    OK

    ЗАМЕНИТЕ БЛОК УПРАВЛЕНИЯ СИСТЕМОЙ КОНДИЦИОНИРОВАНИЯ

    Нажмите здесьClick hereClick here

    NG

    ОТРЕМОНТИРУЙТЕ ИЛИ ЗАМЕНИТЕ ЖГУТ ПРОВОДОВ ИЛИ РАЗЪЕМ