ENTRY AND START SYSTEM(for Entry Function) OPERATION CHECK


  1. CHECK ENTRY AND START SYSTEM (for Entry Function) OPERATION

    Note

    Make sure that the entry and start system (for Entry Function) has not been canceled before performing this inspection.


    1. Check the entry unlock function (driver door, front passenger door*).


      1. Perform a wireless lock operation to lock the door, touch the unlock sensor built into the backside of the front door outside handle assembly of the driver door while carrying the electrical key transmitter sub-assembly and check that the door unlocks.

        Tech Tips

        To perform a wireless lock operation, press the lock button of the electrical key transmitter sub-assembly while standing near the front door outside handle assembly.

      2. A005DWCE01
        Text in Illustration
        *A for LHD
        *B for RHD
        *a 0.7 to 1 m (2.30 to 3.28 ft.)

        Inspect the entry unlock detection area. Hold the electrical key transmitter sub-assembly at the same height as the front door outside handle assembly and approximately 0.7 m (2.30 ft.) from the vehicle as shown in the illustration and check that the LED (red) of the electrical key transmitter sub-assembly blinks.

      3. With the system in unlock standby mode, grasp the front door outside handle assembly and check that the door unlocks.

        Tech Tips


        • The system is in unlock standby mode when the electrical key transmitter sub-assembly is in the detection area and the key ID code sent by the electrical key transmitter sub-assembly matches the key ID code stored by the certification ECU (smart key ECU assembly).

        • Communication may not be possible if the electrical key transmitter sub-assembly is within 0.2 m (0.656 ft.) of the front door outside handle assembly.

        • Inspect the front passenger door using the same procedure.*

      4. A005BQGE02
        Text in Illustration
        *A for LHD
        *B for RHD
        *a Unlock Sensor (Backside)

        Check the unlock response sensitivity. With the system in unlock standby mode, touch the area shown in the illustration and check that the door unlocks.

        Note

        If the sensor is touched too quickly or released too slowly, the sensor may not react and the door will not unlock.


        • *: w/ Entry Function

    2. A005E1IE01
      Text in Illustration
      *A for LHD
      *B for RHD
      *a Lock Sensor

      Check the entry lock function (driver door, front passenger door*1).

      Note

      If the electrical key transmitter sub-assembly is in the vehicle but outside the detection area (on the instrument panel, in the glove box, on the floor) and a door lock operation is performed, the key lock-in prevention function will not operate and the electrical key transmitter sub-assembly will be locked inside the vehicle.


      1. With the door closed and unlocked, touch the lock sensor of the front door outside handle assembly of the driver door while carrying the electrical key transmitter sub-assembly and check that the door locks.

      2. A005DWCE01
        Text in Illustration
        *A for LHD
        *B for RHD
        *a 0.7 to 1 m (2.30 to 3.28 ft.)

        Inspect the entry lock operating range. Hold the electrical key transmitter sub-assembly approximately 0.1 m (0.328 ft.) below the bottom edge of the door glass and approximately 0.3 m (0.984 ft.) from the vehicle as shown in the illustration, touch the lock sensor and check that the door locks.

        Tech Tips


        • As communication may not be possible if the electrical key transmitter sub-assembly is within 0.2 m (0.656 ft.) of the front door outside handle assembly, the door may not lock if the lock sensor is touched with the same hand that is carrying the electrical key transmitter sub-assembly, etc.

        • If the key lock-in prevention function buzzer sounds, radio waves from the indoor electrical key antenna may be leaking from the vehicle.

        • Inspect the front passenger door using the same procedure.*1

        • The door lock operation cannot be performed more than 3 times consecutively.*2


        • *1: w/ Entry Function

        • *2: w/ Wireless Buzzer Answer Back Function

    3. Check the entry back open function. (w/ Entry Function)


      1. A005CPRE01
        Text in Illustration
        *a Approximately 0.7 m (2.30 ft.)

        Perform a wireless lock operation to lock the doors, operate the unlock switch of the back door opener switch while carrying the electrical key transmitter sub-assembly and check that the door unlocks.

      2. Inspect the entry back door open operating range. While standing at the rear of the vehicle, hold the electrical key transmitter sub-assembly so that it is facing the direction shown in the illustration at the same height as the back door opener switch assembly and approximately 0.7 m (2.30 ft.) from the vehicle, press the unlock switch of the back door opener switch assembly and check that the door unlock.

    4. Check the entry back door lock function. (w/ Entry Function)

      Note

      If the electrical key transmitter sub-assembly is inside the vehicle and a door lock operation is performed, it is possible that the electrical key transmitter sub-assembly may be locked inside the vehicle.


      1. With the door closed and unlocked, press the lock switch of the back door opener switch assembly while carrying the electrical key transmitter sub-assembly outside of the vehicle and check that the door lock.

      2. A005CPRE01
        Text in Illustration
        *a Approximately 0.3 m (.0.984 ft.)

        Inspect the entry back door lock operating range. Hold the electrical key transmitter sub-assembly so that it is facing the direction shown in the illustration at the same height as the top edge of the rear bumper and approximately 0.3 m (0.984 ft.) from the vehicle, press the lock of the back door opener switch assembly and check that the door lock.

        Tech Tips


        • Communication may not be possible if the electrical key transmitter sub-assembly is within 0.2 m (0.656 ft.) of the rear bumper.

        • If the key lock-in prevention function buzzer sounds, electric waves from the indoor electrical key antenna assembly may be leaking from the vehicle.

    5. Check the key lock-in prevention function (vehicle interior).

      Note

      In order to prevent the electrical key transmitter sub-assembly from being locked inside the vehicle, perform this inspection with the window of a door open.


      1. Turn the power switch off.

      2. Place the electrical key transmitter sub-assembly on a front or rear seat.

      3. Close the door, making sure the doors are unlocked.

      4. Touch a door lock sensor and check that the doors do not lock and the key lock-in prevention function buzzer (external) sounds for approximately 5 seconds.

    6. Check the push-button start function.


      1. With the power switch off, push the P position switch, depress the brake pedal while carrying the electrical key transmitter sub-assembly. Then, press the power switch and check that the hybrid control system starts.

      2. With the brake pedal released and the power switch off, press the power switch while carrying the electrical key transmitter sub-assembly and check that the power source mode changes as follows: off → on (ACC) → on (IG) → off.

      3. Stop the vehicle, press the power switch and check that the power source mode changes to off (the hybrid control system stops and all electrical systems are off).

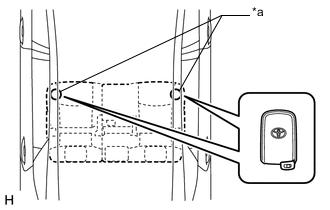
      4. A005ELOE01
        Text in Illustration
        *a Inspection Point

        Inspect the push-button start operating range (front floor). Place the electrical key transmitter sub-assembly on the front seat at either inspection point so that it is facing in the direction shown in the illustration and check that the hybrid control system can be started.

        Note


        • Even if the electrical key transmitter sub-assembly is within the vehicle interior detection area, the electrical key transmitter sub-assembly may not be properly detected if it is on the instrument panel, in the glove box or on the floor.

        • Communication may not be possible if the electrical key transmitter sub-assembly is within 0.2 m (0.656 ft.) of the shift lever.

        Tech Tips

        Perform the inspection for both inspection points.

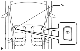
      5. A005EE4E01
        Text in Illustration
        *a Inspection Point

        Inspect the push-button start operating range (rear floor). Place the key on the rear seat at either inspection point so that it is facing in the direction shown in the illustration and check that the hybrid control system can be started.

        Note


        • Even if the key is within the vehicle interior detection area, the key may not be properly detected if it is on the instrument panel, in the glove box or on the floor.

        • Communication may not be possible if the key is within 0.2 m (0.66 ft.) of the center of the rear seat cushion.

        Tech Tips

        Perform the inspection for both inspection points.

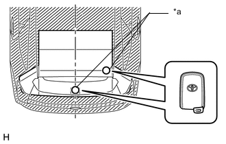
      6. A005DZ2E01
        Text in Illustration
        *a Inspection Point

        Inspect the push start operating range (inside luggage). Place the key at either inspection point and check that the hybrid control system can be started.

        Note


        • Even if the key is within the vehicle interior detection area, the key may not be properly detected if it is on the instrument panel, in the glove box or on the floor.

        • Communication may not be possible if the key is within 0.2 m (0.66 ft.) of the center of the luggage compartment.

        Tech Tips

        Perform the inspection for both inspection points.

    7. Check the transmitter battery saving function


      1. Press the unlock switch of the electrical key transmitter sub-assembly twice while pressing the lock button and check that the electrical key transmitter sub-assembly LED blinks 4 times and enters transmitter battery saving mode.

      2. Check that the entry and start system (for Entry Function) does not operate while in transmitter battery saving mode.

        Tech Tips

        To cancel transmitter battery saving mode, press a button of the electrical key transmitter sub-assembly.

    8. Check the entry cancel function


      1. Cancel the entry and start system and check that all the functions of the entry and start system (for Entry Function) no longer operate.

        Tech Tips


        • Refer to the following procedure to cancel the entry and start system (for Entry Function) Click here.

        • While the entry and start system is canceled, it is possible to lock and unlock the doors with the wireless operation, and the start system can be operated by holding the electrical key transmitter sub-assembly near the power switch.

      2. While the key cancel function (entry cancel function) is on, check that all functions of the entry and start system cannot be operated.

    9. Check the answer-back function (hazard warning light flashing).

      Entry Operation Hazard Warning Light
      Entry Door Lock Flashes once
      Entry Door Unlock Flashes twice
      Entry Back Door Lock Flashes once
      Entry Back Door Unlock Flashes twice
  2. KEY DIAGNOSTIC MODE (Using GTS)

    Tech Tips


    • With key diagnostic mode, it is possible to check if the electrical key transmitter sub-assembly is operating properly with the selected electrical key antenna and within the selected detection area by the sounding of the wireless buzzer.

    • If the buzzer sounds with [CH1] displayed but not with [CH2], the electrical key transmitter sub-assembly cannot be detected by channel 2 due to a malfunction, such as wave interference.


    1. Enter the following menus: Body Electrical / Entry&Start / Utility / Communication Check (Key Diag Mode).

    2. Inspect the appropriate item according to the following table.

      Tester Display Inspection Item
      [CH1/CH2] Overhead + Driver Side*1 Front door outside handle assembly (electrical key antenna) (for Driver Side)
      [CH1] Overhead + Driver Side*1
      [CH2] Overhead + Driver Side*1
      [CH1/CH2] Overhead + Passenger Side*2

      Front door outside handle assembly (electrical key antenna) (for Front Passenger Side)

      (w/ Entry Function)

      [CH1] Overhead + Passenger Side*2
      [CH2] Overhead + Passenger Side*2
      [CH1/CH2] Overhead + Front Room*3 No. 1 indoor electrical key antenna assembly (front floor)
      [CH1] Overhead + Front Room*3
      [CH2] Overhead + Front Room*3
      [CH1/CH2] Overhead + Rear Room*4 No. 3 indoor electrical key antenna assembly (rear floor)
      [CH1] Overhead + Rear Room*4
      [CH2] Overhead + Rear Room*4
      [CH1/CH2] Overhead + Back Door*5

      Electrical key antenna (outside luggage)

      (w/ Entry Function)

      [CH1] Overhead + Back Door*5
      [CH2] Overhead + Back Door*5
      [CH1/CH2] Overhead + Back Door (inside)*6 No. 2 indoor electrical key antenna assembly (inside luggage)
      [CH1] Overhead + Back Door (inside)*6
      [CH2] Overhead + Back Door (inside)*6
      [CH1/CH2] Immobiliser Amp*7 Amplifier (power switch)
      [CH1] Immobiliser Amp*7
      [CH2] Immobiliser Amp*7
    3. Bring the electrical key transmitter sub-assembly near the selected electrical key antenna and check that the wireless door lock buzzer sounds.

      Tech Tips

      The buzzer sounds in short, repeated beeps for all items except "Overhead + Rear Room"*4. For "Overhead + Rear Room"*4, the buzzer sounds in one long, continuous beep.


      1. A005DWCE01
        Text in Illustration
        *A for LHD
        *B for RHD
        *a 0.7 to 1 m (2.30 to 3.28 ft.)

        *1: Front door outside handle assembly (for Driver Side)

        Tech Tips


        • Hold the electrical key transmitter sub-assembly at the same height as the front door outside handle assembly in the position shown in the illustration.

        • *2: Perform the same inspection for the front passenger side. (w/ Entry Function)

    4. A005ELOE01
      Text in Illustration
      *a Inspection Point

      *3: No. 1 indoor electrical key antenna assembly (front floor)

      Tech Tips

      Place the electrical key transmitter sub-assembly on the front seat cushion of the driver seat or front passenger seat.

    5. A005EE4E01
      Text in Illustration
      *a Inspection Point

      *4: No. 3 indoor electrical key antenna assembly (rear floor)

      Tech Tips

      Place the electrical key transmitter sub-assembly on the rear seat cushion.

    6. A005CPRE01
      Text in Illustration
      *a Approximately 0.7 m (2.30 ft.)

      *5: Electrical key antenna (outside luggage) (w/ Entry Function)

      Tech Tips

      Hold the electrical key transmitter sub-assembly at the same height as the rear bumper upper surface and align it with the center of the rear of the vehicle, as shown in the illustration.

    7. A005DZ2E01
      Text in Illustration
      *a Inspection Point

      *6: No. 2 indoor electrical key antenna assembly (inside luggage)

      Tech Tips

      Place the electrical key transmitter sub-assembly in the luggage compartment. Even if the electrical key transmitter sub-assembly is in the luggage compartment, the buzzer may not sound.

    8. A005CH6

      *7: Amplifier (power switch)

      Tech Tips

      While facing the logo side of the electrical key transmitter sub-assembly towards the power switch, hold the transmitter near the power switch.