ПОРЯДОК ИСПОЛЬЗОВАНИЯ РУКОВОДСТВА ОБЩИЕ СВЕДЕНИЯ
ОБЩЕЕ ОПИСАНИЕ
В общем случае все ремонтные работы можно разделить на 3 основных процесса:
Диагностика
Снятие и установка, замена, разборка и сборка, проверка и регулировка
Окончательная проверка
В данном руководстве опущено описание следующих процедур. Несмотря на это, эти процедуры необходимо выполнять.
Для выполнения операций используйте домкрат или таль.
Очищайте все снятые детали.
Проводите осмотр до и после выполнения любой работы.
ПОДГОТОВКА
В зависимости от условий ремонта, может потребоваться специальный инструмент (SST) и специальные материалы (SSM). Обязательно используйте SST и SSM там, где они требуются, и неукоснительно соблюдайте порядок выполнения. Список SST и SSM приведен в разделе "Подготовка" настоящего руководства.
ПОРЯДОК ВЫПОЛНЕНИЯ РЕМОНТА
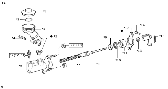
При необходимости заголовок раздела, посвященного ремонту узла, сопровождается соответствующей иллюстрацией.
На иллюстрациях компонентов указаны детали, не используемые повторно, участки нанесения консистентной смазки, детали с предварительно нанесенным покрытием, а также значения моментов затяжки.
Ниже приведен пример иллюстрации.
*A
Пример
-
-
*1
КРЫШКА ФИЛЬТРА
*2
ПОПЛАВОК
*3
РАСШИРИТЕЛЬНЫЙ БАЧОК
*4
РАЗРЕЗНОЙ ШТИФТ
*5
ВТУЛКА
*6
ЦИЛИНДР
*7
ПОРШЕНЬ
*8
ШТОК
*9
ШАЙБА
*10
ПРУЖИННОЕ СТОПОРНОЕ КОЛЬЦО
*11
ЧЕХОЛ
*12
ПРОКЛАДКА
*13
КОНТРГАЙКА
*14
ШТИФТ ВИЛКИ
*15
ВИЛКА
*16
ФИКСАТОР

Н*м (кгс*см, фунт-сила -дюймы) Номинальный момент затяжки
●
Деталь однократного применения
В описании порядка выполнения работ выделяются номинальные моменты затяжки, участки нанесения смазки и детали однократного применения.
Tip:Возможны ситуации, когда такая информация может быть обозначена только на иллюстрации. В таких случаях информация о моментах затяжки, масле и т.д. приводится на иллюстрации.
В тексте описываются только наиболее важные моменты работ. Подробности выполнения операций и другая информация приведены на иллюстрациях, сопровождающих описание. В дополнение к описаниям и иллюстрациям приводятся номинальные значения величин и примечания.
Иллюстрация
Изображено, что и где следует делать
Название операции
Какая работа будет выполняться
Поясняющий текст
Порядок выполнения операций
Такая информация, как технические характеристики и предупреждения, выделяется жирным шрифтом
Иногда приводятся иллюстрации автомобилей подобных моделей. В таких случаях незначительные детали могут отличаться от реального автомобиля.
Порядок выполнения работ представлен поэтапно.
ТЕХНИЧЕСКИЕ ДАННЫЕ
Технические характеристики выделены жирным шрифтом во всем руководстве. Для справки технические характеристики также приведены в главе "Технические данные".
ОПРЕДЕЛЕНИЯ ТЕРМИНОВ
ПРЕДОСТЕРЕЖЕНИЕ
Предупреждает о возможности травмирования персонала и окружающих.
ПРИМЕЧАНИЕ
Предупреждает о возможности повреждения ремонтируемого узла.
УКАЗАНИЕ
Содержит дополнительную информацию, полезную при выполнении ремонта.
МЕЖДУНАРОДНАЯ СИСТЕМА СИ
Используемые в данном руководстве единицы измерения соответствуют Международной системе СИ. Кроме того, приводятся значения в других единицах метрической и британской систем.
Пример:
30 Н*м
306 кгс*см
22 фунт-сила-фута