АУДИОВИЗУАЛЬНАЯ СИСТЕМА (для моделей с 8-дюймовым дисплеем), диагностические DTC:B15C0 и B15C1

Код DTC Наименование DTC
B15C0 Короткое замыкание в антенне GPS
B15C1 Обрыв в антенне GPS

ОПИСАНИЕ

Данные DTC сохраняются в случае неисправности антенны GPS.

№ DTC

Неисправность

Условие обнаружения DTC

Неисправный участок

B15C0

Короткое замыкание в антенне GPS

Неисправность антенны системы навигации

Для моделей без системы обогрева ветрового стекла и без системы блокировки:

  • Антенна системы навигации

  • Антенный шнур в сборе

  • Радиоприемник в сборе

  • Жгут проводов или разъем

Для моделей с системой противообледенителя ветрового стекла с подогревом:

  • Наружная антенна в сборе

  • Антенный шнур № 4 в сборе

  • Антенный шнур № 2 в сборе

  • Антенный шнур № 1 в сборе

  • Антенный разветвитель

  • Радиоприемник в сборе

Для моделей с системой блокировки:

  • Наружная антенна в сборе

  • Антенный шнур № 4 в сборе

  • Антенный шнур № 2 в сборе

  • Антенный шнур № 1 в сборе

  • Радиоприемник в сборе

B15C1

Обрыв в антенне GPS

Сбой источника питания антенны системы навигации

Для моделей без системы обогрева ветрового стекла и без системы блокировки:

  • Антенна системы навигации

  • Антенный шнур в сборе

  • Радиоприемник в сборе

  • Жгут проводов или разъем

Для моделей с системой противообледенителя ветрового стекла с подогревом:

  • Наружная антенна в сборе

  • Антенный шнур № 4 в сборе

  • Антенный шнур № 2 в сборе

  • Антенный шнур № 1 в сборе

  • Антенный разветвитель

  • Радиоприемник в сборе

Для моделей с системой блокировки:

  • Наружная антенна в сборе

  • Антенный шнур № 4 в сборе

  • Антенный шнур № 2 в сборе

  • Антенный шнур № 1 в сборе

  • Радиоприемник в сборе

СХЕМА ЭЛЕКТРИЧЕСКИХ СОЕДИНЕНИЙ

E385649E01
E385650E01
E385651E01

ПРЕДОСТЕРЕЖЕНИЕ / ПРИМЕЧАНИЕ / УКАЗАНИЕ

Note:

Радиоприемник в сборе следует заменять исключительно новым узлом.

Если для замены будет использован радиоприемник в сборе с другого автомобиля, может произойти следующее:

  • Может быть сохранен DTC нарушения обмена данными.

  • Работа радиоприемника в сборе может быть нарушена.

Tip:

В зависимости от замененных деталей или операций, которые были выполнены при проверке или обслуживании автомобиля, может потребоваться инициализация, регистрация или калибровка. См. раздел "Меры предосторожности при работе с аудиовизуальной системой".

Нажмите здесьЩелкните по следующей ссылке

ПОРЯДОК ВЫПОЛНЕНИЯ

  1. ПРОВЕРЬТЕ DTC

    1. Удалите коды DTC.

      Нажмите здесьЩелкните по следующей ссылке

      Body Electrical > Navigation System > Clear DTCs

    2. Повторно проверьте коды DTC и убедитесь, что они не выводятся.

      Нажмите здесьЩелкните по следующей ссылке

      Body Electrical > Navigation System > Trouble Codes

      OK

      Коды DTC не выводятся.

    Результат

    Перейти к

    OK

    НЕ СООТВ.

    OK

    ВЫПОЛНИТЕ ПРОВЕРКУ С ИМИТАЦИЕЙ УСЛОВИЙ ВОЗНИКНОВЕНИЯ НЕИСПРАВНОСТИ

    NG
  2. ПРОВЕРЬТЕ ТИП АВТОМОБИЛЯ

    1. Проверьте тип автомобиля.

    Result

    Result

    Перейти К

    Для моделей без системы обогрева ветрового стекла и без системы блокировки:

    A

    для моделей с системой противообледенителя ветрового стекла с подогревом

    B

    для моделей с системой блокировки

    C

    B

    ПРОВЕРЬТЕ АНТЕННЫЙ РАЗВЕТВИТЕЛЬЩелкните по следующей ссылке

    C

    ПРОВЕРЬТЕ ОТСУТСТВИЕ. 4 АНТЕННЫЙ ШНУР В СБОРЕЩелкните по следующей ссылке

    A
  3. ПРОВЕРЬТЕ АНТЕННУ СИСТЕМЫ НАВИГАЦИИ В СБОРЕ

    1. Снимите антенну системы навигации.

      Нажмите здесьЩелкните по следующей ссылке

    2. Проверьте антенну системы навигации.

      Нажмите здесьЩелкните по следующей ссылке

    Результат

    Перейти к

    OK

    НЕ СООТВ.

    НЕ СООТВ.

    ЗАМЕНИТЕ АНТЕННУ СИСТЕМЫ НАВИГАЦИИ В СБОРЕ

    СООТВ
  4. ПРОВЕРЬТЕ АНТЕННЫЙ ШНУР В СБОРЕ

    1. E376929C03

      *a

      Вид спереди разъема со стороны жгута проводов:

      (к антенне системы навигации в сборе)

      *b

      Вид спереди разъема со стороны жгута проводов:

      (к жгуту проводов)

      Отсоедините разъем антенны от антенны системы навигации в сборе.

    2. Отсоедините разъем антенны от жгута проводов.

    3. Измерьте сопротивление в соответствии со значениями, приведенными в таблице.

      Номинальное сопротивление

      Подключение диагностического прибора

      Условие

      Заданные условия

      A-3 - I147-1 (GPS)

      Всегда

      Менее 1 Ом

      A-3a - I147-1a

      Всегда

      Менее 1 Ом

      A-3 - масса

      Всегда

      10 кОм или более

      A-3a - масса

      Всегда

      10 кОм или более

    Результат

    Перейти к

    OK

    НЕ СООТВ.

    НЕ СООТВ.

    ЗАМЕНИТЕ АНТЕННЫЙ ШНУР В СБОРЕ

    СООТВ
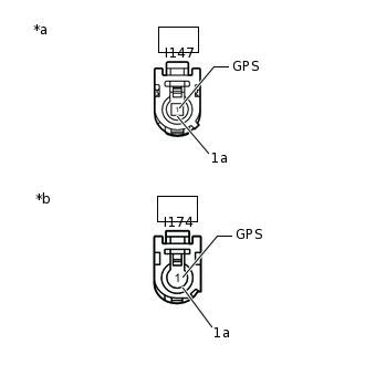
  5. ПРОВЕРЬТЕ ЖГУТ ПРОВОДОВ И РАЗЪЕМ (АНТЕННЫЙ ШНУР В СБОРЕ - РАДИОПРИЕМНИК В СБОРЕ)

    1. E376931C07

      *a

      Вид спереди разъема со стороны жгута проводов:

      (к шнуру антенны в сборе)

      *b

      Вид спереди разъема со стороны жгута проводов:

      (к радиоприемнику в сборе)

      Отсоедините разъем антенного шнура.

    2. Отсоедините разъем радиоприемника.

    3. Измерьте сопротивление в соответствии со значениями, приведенными в таблице.

      Номинальное сопротивление

      Подключение диагностического прибора

      Условие

      Заданные условия

      I147-1 (GPS) - I174-1 (GPS)

      Всегда

      Менее 1 Ом

      I147-1a - I174-1a

      Всегда

      Менее 1 Ом

      I147-1 (GPS) - масса

      Всегда

      10 кОм или более

      I147-1a - масса

      Всегда

      10 кОм или более

    Результат

    Перейти к

    OK

    НЕ СООТВ.

    OK

    ЗАМЕНИТЕ РАДИОПРИЕМНИК В СБОРЕ

    NG

    ОТРЕМОНТИРУЙТЕ ИЛИ ЗАМЕНИТЕ ЖГУТ ПРОВОДОВ ИЛИ РАЗЪЕМ

  6. ПРОВЕРЬТЕ АНТЕННЫЙ РАЗВЕТВИТЕЛЬ

    1. E241596N02

      Снимите антенный разветвитель.

      Нажмите здесьЩелкните по следующей ссылке

    2. Измерьте сопротивление в соответствии со значениями, приведенными в таблице ниже.

      Номинальное сопротивление

      Подключение диагностического прибора

      Условие

      Заданные условия

      6 - 2

      Всегда

      10 кОм или более

      2 - 2a

      Всегда

      243 - 267 Ом

      6 - 6a

      Всегда

      10 кОм или более

    Результат

    Перейти к

    OK

    НЕ СООТВ.

    НЕ СООТВ.

    ЗАМЕНИТЕ АНТЕННЫЙ РАЗВЕТВИТЕЛЬ

    СООТВ
  7. ПРОВЕРЬТЕ ШНУР АНТЕННЫ № 4

    1. E377472C02

      *a

      Вид спереди разъема со стороны жгута проводов:

      (к наружной антенне)

      *b

      Вид спереди разъема со стороны жгута проводов:

      (к антенному шнуру № 2 в сборе)

      Отсоедините разъем антенны от антенны от наружной антенны в сборе.

    2. Отсоедините разъем антенны от шнура антенны № 2 в сборе.

    3. Измерьте сопротивление в соответствии со значениями, приведенными в таблице ниже.

      Номинальное сопротивление

      Подключение диагностического прибора

      Условие

      Заданные условия

      A-2 - B-2

      Всегда

      Менее 1 Ом

      A-2a - B-2a

      Всегда

      Менее 1 Ом

      A-2 - масса

      Всегда

      10 кОм или более

      A-2a - масса

      Всегда

      10 кОм или более

    Результат

    Перейти к

    OK

    НЕ СООТВ.

    НЕ СООТВ.

    ЗАМЕНИТЕ АНТЕННЫЙ ШНУР № 4 В СБОРЕ

    СООТВ
  8. ПРОВЕРЬТЕ ШНУР АНТЕННЫ № 2

    1. E377473C02

      *a

      Вид спереди разъема со стороны жгута проводов:

      (к антенному шнуру № 4 в сборе)

      *b

      Вид спереди разъема со стороны жгута проводов:

      (к антенному шнуру № 1 в сборе)

      Отсоедините разъем антенны от шнура антенны № 4 в сборе.

    2. Отсоедините разъем антенны от шнура антенны № 1 в сборе.

    3. Измерьте сопротивление в соответствии со значениями, приведенными в таблице ниже.

      Номинальное сопротивление

      Подключение диагностического прибора

      Условие

      Заданные условия

      B-2 - C-2

      Всегда

      Менее 1 Ом

      B-2a - C-2a

      Всегда

      Менее 1 Ом

      B-2 - масса

      Всегда

      10 кОм или более

      B-2a - масса

      Всегда

      10 кОм или более

    Результат

    Перейти к

    OK

    НЕ СООТВ.

    НЕ СООТВ.

    ЗАМЕНИТЕ ШНУР АНТЕННЫ № 2

    СООТВ
  9. ПРОВЕРЬТЕ ШНУР АНТЕННЫ № 1

    1. E384364C01

      *a

      Вид спереди разъема со стороны жгута проводов:

      (к антенному шнуру № 2 в сборе)

      *b

      Вид спереди разъема со стороны жгута проводов:

      (к антенному разветвителю)

      *c

      Вид спереди разъема со стороны жгута проводов:

      (к радиоприемнику в сборе)

      Отсоедините разъем антенны от шнура антенны № 2 в сборе.

    2. Отсоедините разъем антенны от антенного разветвителя.

    3. Отсоедините разъем антенны от радиоприемника в сборе.

    4. Измерьте сопротивление в соответствии со значениями, приведенными в таблице ниже.

      Номинальное сопротивление

      Подключение диагностического прибора

      Условие

      Заданные условия

      C-2 - D-6

      Всегда

      Менее 1 Ом

      C-2a - D-6a

      Всегда

      Менее 1 Ом

      D-2 - E-1 (GPS)

      Всегда

      Менее 1 Ом

      D-2a - E-1a

      Всегда

      Менее 1 Ом

      C-2 - масса

      Всегда

      10 кОм или более

      C-2a - масса

      Всегда

      10 кОм или более

      D-2 - масса

      Всегда

      10 кОм или более

      D-2a - масса

      Всегда

      10 кОм или более

    Результат

    Перейти к

    OK

    НЕ СООТВ.

    НЕ СООТВ.

    ЗАМЕНИТЕ ШНУР АНТЕННЫ № 1

    СООТВ
  10. ЗАМЕНИТЕ АНТЕННЫЙ РАЗВЕТВИТЕЛЬ

    1. Замените антенный разветвитель новым или заведомо исправным.

      Нажмите здесьЩелкните по следующей ссылке

    Результат

    Перейти к

    СЛЕДУЮЩЕЕ -

    СЛЕДУЮЩЕЕ -
  11. ПРОВЕРЬТЕ DTC

    1. Удалите коды DTC.

      Нажмите здесьЩелкните по следующей ссылке

      Body Electrical > Navigation System > Clear DTCs

    2. Повторно проверьте коды DTC и убедитесь, что они не выводятся.

      Нажмите здесьЩелкните по следующей ссылке

      Body Electrical > Navigation System > Trouble Codes

      OK

      Коды DTC не выводятся.

    Результат

    Перейти к

    OK

    НЕ СООТВ.

    OK

    КОНЕЦ (АНТЕННЫЙ РАЗВЕТВИТЕЛЬ НЕИСПРАВЕН)

    НЕ СООТВ.
  12. ЗАМЕНИТЕ НАРУЖНУЮ АНТЕННУ

    1. Замените наружную антенну в сборе новой или заведомо исправной.

      Нажмите здесьЩелкните по следующей ссылке

    Результат

    Перейти к

    СЛЕДУЮЩЕЕ -

    СЛЕДУЮЩЕЕ -
  13. ПРОВЕРЬТЕ DTC

    1. Удалите коды DTC.

      Нажмите здесьЩелкните по следующей ссылке

      Body Electrical > Navigation System > Clear DTCs

    2. Повторно проверьте коды DTC и убедитесь, что они не выводятся.

      Нажмите здесьЩелкните по следующей ссылке

      Body Electrical > Navigation System > Trouble Codes

      OK

      Коды DTC не выводятся.

    Результат

    Перейти к

    OK

    НЕ СООТВ.

    OK

    КОНЕЦ (НАРУЖНАЯ АНТЕННА НЕИСПРАВНА)

    НЕ СООТВ.

    ЗАМЕНИТЕ РАДИОПРИЕМНИК В СБОРЕ

  14. ПРОВЕРЬТЕ ШНУР АНТЕННЫ № 4

    1. E384366C01

      *a

      Вид спереди разъема со стороны жгута проводов:

      (к наружной антенне)

      *b

      Вид спереди разъема со стороны жгута проводов:

      (к антенному шнуру № 2 в сборе)

      Отсоедините разъем антенны от антенны от наружной антенны в сборе.

    2. Отсоедините разъем антенны от шнура антенны № 2 в сборе.

    3. Измерьте сопротивление в соответствии со значениями, приведенными в таблице ниже.

      Номинальное сопротивление

      Подключение диагностического прибора

      Условие

      Номинальное значение

      A-2 - B-1

      Всегда

      Менее 1 Ом

      A-2a - B-1a

      Всегда

      Менее 1 Ом

      A-2 - масса

      Всегда

      10 кОм или более

      A-2a - масса

      Всегда

      10 кОм или более

    Результат

    Перейти к

    OK

    НЕ СООТВ.

    НЕ СООТВ.

    ЗАМЕНИТЕ АНТЕННЫЙ ШНУР № 4 В СБОРЕ

    СООТВ
  15. ПРОВЕРЬТЕ ШНУР АНТЕННЫ № 2

    1. E384367C01

      *a

      Вид спереди разъема со стороны жгута проводов:

      (к антенному шнуру № 4 в сборе)

      *b

      Вид спереди разъема со стороны жгута проводов:

      (к антенному шнуру № 1 в сборе)

      Отсоедините разъем антенны от шнура антенны № 4 в сборе.

    2. Отсоедините разъем антенны от шнура антенны № 1 в сборе.

    3. Измерьте сопротивление в соответствии со значениями, приведенными в таблице ниже.

      Номинальное сопротивление

      Подключение диагностического прибора

      Условие

      Заданные условия

      B-1 - C-1

      Всегда

      Менее 1 Ом

      B-1a - C-1a

      Всегда

      Менее 1 Ом

      B-1 - масса

      Всегда

      10 кОм или более

      B-1a - масса

      Всегда

      10 кОм или более

    Результат

    Перейти к

    OK

    НЕ СООТВ.

    НЕ СООТВ.

    ЗАМЕНИТЕ ШНУР АНТЕННЫ № 2

    СООТВ
  16. ПРОВЕРЬТЕ ШНУР АНТЕННЫ № 1

    1. E384368C01

      *a

      Вид спереди разъема со стороны жгута проводов:

      (к антенному шнуру № 2 в сборе)

      *c

      Вид спереди разъема со стороны жгута проводов:

      (к радиоприемнику в сборе)

      Отсоедините разъем антенны от шнура антенны № 2 в сборе.

    2. Отсоедините разъем антенны от радиоприемника в сборе.

    3. Измерьте сопротивление в соответствии со значениями, приведенными в таблице ниже.

      Номинальное сопротивление

      Подключение диагностического прибора

      Условие

      Заданные условия

      C-1 - D-1 (GPS)

      Всегда

      Менее 1 Ом

      C-1a - D-1a

      Всегда

      Менее 1 Ом

      C-1 - масса

      Всегда

      10 кОм или более

      C-1a - масса

      Всегда

      10 кОм или более

    Результат

    Перейти к

    OK

    НЕ СООТВ.

    НЕ СООТВ.

    ЗАМЕНИТЕ ШНУР АНТЕННЫ № 1

    СООТВ
  17. ЗАМЕНИТЕ НАРУЖНУЮ АНТЕННУ

    1. Замените наружную антенну в сборе новой или заведомо исправной.

      Нажмите здесьЩелкните по следующей ссылке

    Результат

    Перейти к

    СЛЕДУЮЩЕЕ -

    СЛЕДУЮЩЕЕ -
  18. ПРОВЕРЬТЕ DTC

    1. Удалите коды DTC.

      Нажмите здесьЩелкните по следующей ссылке

      Body Electrical > Navigation System > Clear DTCs

    2. Повторно проверьте коды DTC и убедитесь, что они не выводятся.

      Нажмите здесьЩелкните по следующей ссылке

      Body Electrical > Navigation System > Trouble Codes

      OK

      Коды DTC не выводятся.

    Результат

    Перейти к

    OK

    НЕ СООТВ.

    OK

    КОНЕЦ (НАРУЖНАЯ АНТЕННА НЕИСПРАВНА)

    НЕ СООТВ.

    ЗАМЕНИТЕ РАДИОПРИЕМНИК В СБОРЕ