AUDIO AND VISUAL SYSTEM Mute Signal Circuit between Radio Receiver and Stereo Component Amplifier

DESCRIPTION

This circuit sends a signal to the stereo component amplifier assembly to mute noise. Because of that, the noise produced by changing the sound source ceases.

If there is an open in the circuit, noise can be heard from the speakers when changing the sound source.

If there is a short in the circuit, even though the stereo component amplifier assembly is functioning normally, no sound or only an extremely faint sound can be heard.

WIRING DIAGRAM

A005D6ME47
*a MUTE
*b Stereo Component Amplifier Assembly
*c Radio and Display Receiver Assembly

PROCEDURE


  1. INSPECT STEREO COMPONENT AMPLIFIER ASSEMBLY


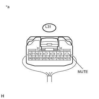
    1. A005D3TE01
      Text in Illustration
      *a

      Component with harness connected

      (Stereo Component Amplifier Assembly)

      Measure the voltage according to the value(s) in the table below.

      Standard Voltage
      Tester Connection Condition Specified Condition
      L31-1 (MUTE) - Body ground

      Power switch on (ACC), audio system playing

      → Changing modes

      Above 3.5 V

      → Below 1 V


    OK
    NG
  2. CHECK HARNESS AND CONNECTOR (RADIO AND DISPLAY RECEIVER ASSEMBLY - STEREO COMPONENT AMPLIFIER ASSEMBLY)


    1. Disconnect the L35 radio and display receiver assembly connector.

    2. Disconnect the L31 stereo component amplifier assembly connector.

    3. Measure the resistance according to the value(s) in the table below.

      Standard Resistance
      Tester Connection Condition Specified Condition
      L35-20 (MUT2) - L31-1 (MUTE) Always Below 1 Ω
      L35-20 (MUT2) - Body ground Always 10 kΩ or higher

    NG
    OK
  3. INSPECT STEREO COMPONENT AMPLIFIER ASSEMBLY (OUTPUT SIGNAL)


    1. Reconnect the L31 stereo component amplifier assembly connector.

    2. A005BBJE01
      Text in Illustration
      *a

      Front view of wire harness connector

      (to Radio and Display Receiver Assembly)

      Measure the voltage according to the value(s) in the table below.

      Standard Voltage
      Tester Connection Condition Specified Condition
      L35-20 (MUT2) - Body ground Power switch on (ACC), audio system is playing Above 3.5 V

    OK
    NG