ТОПЛИВНАЯ СИСТЕМА ОПИСАНИЕ ТОПЛИВНОЙ ФОРСУНКИ (ДЛЯ НЕПОСРЕДСТВЕННОГО ВПРЫСКА)

  1. КОНСТРУКЦИЯ

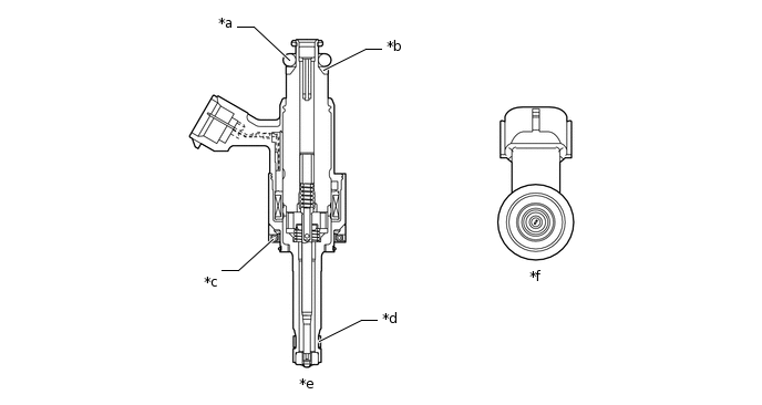
    1. Распылитель с 6 отверстиями высокого давления используются топливные форсунки для непосредственного впрыска в сборе в связи с применением непосредственного впрыска 4-тактного бензинового двигателя модификации "Superior" (D-4S) с.

    2. Применение данного топливной форсунки для непосредственного впрыска в сборе заставляет топливо частицами становится высокой. В то же время топливо смешивается с большим количеством воздуха и впрыскивается в камеру сгорания. В результате улучшаются характеристики рассеяния топлива при впрыске для обеспечения однородной топливовоздушной смести, хороших рабочих характеристик и большой мощности двигателя.

    3. В качестве герметика для внутренней герметизации цилиндра используется тефлоновый герметик, и контактная область головки блока цилиндров снабжена прокладкой, чтобы уменьшить вибрацию и шум и улучшить характеристики герметизации.

    4. Кольцевое уплотнение и опорные ring* используются топливную форсунку для непосредственного впрыска в сборе. Как следствие, трансмиссия Шум от работы топливной форсунки (для непосредственного впрыска), снижается шум, а также повышена герметичность крепления.

      Note:

      *: Опорные кольца обеспечивают надежное крепление резиновых кольцевых уплотнений, которые подвергаются действию высокого давления. Обязательно устанавливайте опорные кольца с соблюдением правильной ориентации и в правильные положения.

      W135865C01

      *a

      Кольцевое уплотнение

      *b

      Опорное кольцо

      *c

      Изолятор

      *d

      Тефлоновый герметик

      *e

      Поперечное сечение топливной форсунки для непосредственного впрыска в сборе

      *f

      Отверстие для впрыска