ENTRY AND START SYSTEM(for Entry Function) Front Passenger Side Door Entry Unlock Function does not Operate

DTC Code DTC Name
Front Passenger Side Door Entry Unlock Function does not Operate

DESCRIPTION

If the entry unlock function does not operate for the front passenger door only, but the entry lock function operates, the request code is being transmitted properly from the front passenger door. In this case, there may be a problem related to the front passenger door lock position switch system.

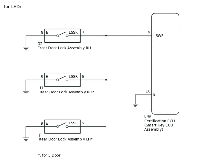
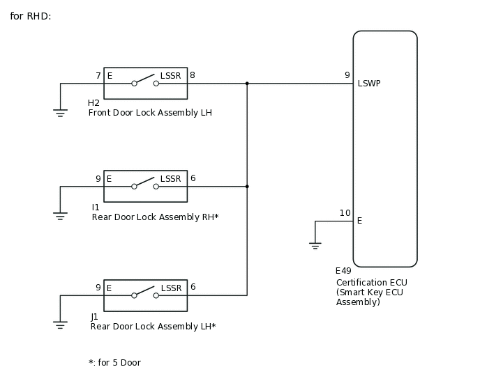
WIRING DIAGRAM

B361606E02
B361606E03

CAUTION / NOTICE / HINT

Note:
  • The entry and start system (for Entry Function) uses the LIN communication system and CAN communication system. Inspect the communication function by following How to Proceed with Troubleshooting. Troubleshoot the entry and start system (for Entry Function) after confirming that the communication systems are functioning properly.

    Click here

  • When using the GTS with the engine switch off, connect the GTS to the DLC3 and turn a courtesy light switch on and off at intervals of 1.5 seconds or less until communication between the GTS and the vehicle begins. Then select Model Code "KEY REGIST" under manual mode and enter the following menus: Body Electrical / Entry&Start(CAN). While using the GTS, periodically turn a courtesy light switch on and off at intervals of 1.5 seconds or less to maintain communication between the GTS and the vehicle.

  • Check that there are no electrical key transmitter sub-assemblies in the vehicle.

  • Before performing the inspection, check that DTC B1242 (wireless door lock control) or B27B0 is not output.

  • Before replacing the certification ECU (smart key ECU assembly), refer to entry and start system (for Entry Function) Precaution.

    Click here

  • After repair, confirm that no DTCs are output by performing "DTC Output Confirmation Operation".

PROCEDURE

  1. CHECK POWER DOOR LOCK CONTROL SYSTEM

    1. When the door control switch is operated, check that the doors unlock and lock according to the switch operation.

      Click here

      OK

      Door locks operate normally.

    Result

    Proceed to

    OK

    NG

    NG

    GO TO POWER DOOR LOCK CONTROL SYSTEM

    OK
  2. CONFIRM MODEL

    1. Choose the model to be inspected.

    Result

    Result

    Proceed to

    for LHD

    A

    for RHD

    B

    B

    INSPECT FRONT DOOR LOCK ASSEMBLY LHClick here

    A
  3. INSPECT FRONT DOOR LOCK ASSEMBLY RH

    1. Remove the front door lock assembly RH.

      Click here

    2. Inspect the front door lock assembly RH.

      Click here

    Result

    Proceed to

    OK

    NG

    OK

    CONFIRM MODELClick here

    NG

    REPLACE FRONT DOOR LOCK ASSEMBLY RH

  4. INSPECT FRONT DOOR LOCK ASSEMBLY LH

    1. Remove the front door lock assembly LH.

      Click here

    2. Inspect the front door lock assembly LH.

      Click here

    Result

    Proceed to

    OK

    NG

    NG

    REPLACE FRONT DOOR LOCK ASSEMBLY LH

    OK
  5. CONFIRM MODEL

    1. Choose the model to be inspected.

    Result

    Result

    Proceed to

    for 5 Door

    A

    for 3 Door

    B

    B

    CHECK HARNESS AND CONNECTOR (CERTIFICATION ECU (SMART KEY ECU ASSEMBLY) - EACH DOOR LOCK ASSEMBLY)Click here

    A
  6. INSPECT REAR DOOR LOCK ASSEMBLY RH

    1. Remove the rear door lock assembly RH.

      Click here

    2. Inspect the rear door lock assembly RH.

      Click here

    Result

    Proceed to

    OK

    NG

    NG

    REPLACE REAR DOOR LOCK ASSEMBLY RH

    OK
  7. INSPECT REAR DOOR LOCK ASSEMBLY LH

    1. Remove the rear door lock assembly LH.

      Click here

    2. Inspect the rear door lock assembly LH.

      Click here

    Result

    Proceed to

    OK

    NG

    NG

    REPLACE REAR DOOR LOCK ASSEMBLY LH

    OK
  8. CHECK HARNESS AND CONNECTOR (CERTIFICATION ECU (SMART KEY ECU ASSEMBLY) - EACH DOOR LOCK ASSEMBLY)

    1. Disconnect the E49 certification ECU (smart key ECU assembly) connector.

    2. Measure the resistance according to the value(s) in the table below.

      Standard Resistance

      Table 1. for LHD

      Tester Connection

      Condition

      Specified Condition

      E49-9 (LSWP) - G2-7 (LSSR)

      Always

      Below 1 Ω

      E49-9 (LSWP) - I1-6 (LSSR)*

      Always

      Below 1 Ω

      E49-9 (LSWP) - J1-6 (LSSR)*

      Always

      Below 1 Ω

      E49-10 (E) - Body ground

      Always

      Below 1 Ω

      E49-9 (LSWP) or G2-7 (LSSR) - Body ground

      Always

      10 kΩ or higher

      E49-9 (LSWP) or I1-6 (LSSR) - Body ground*

      Always

      10 kΩ or higher

      E49-9 (LSWP) or J1-6 (LSSR) - Body ground*

      Always

      10 kΩ or higher

      Standard Resistance

      Table 2. for RHD

      Tester Connection

      Condition

      Specified Condition

      E49-9 (LSWP) - H2-8 (LSSR)

      Always

      Below 1 Ω

      E49-9 (LSWP) - I1-6 (LSSR)*

      Always

      Below 1 Ω

      E49-9 (LSWP) - J1-6 (LSSR)*

      Always

      Below 1 Ω

      E49-10 (E) - Body ground

      Always

      Below 1 Ω

      E49-9 (LSWP) or H2-8 (LSSR) - Body ground

      Always

      10 kΩ or higher

      E49-9 (LSWP) or I1-6 (LSSR) - Body ground*

      Always

      10 kΩ or higher

      E49-9 (LSWP) or J1-6 (LSSR) - Body ground*

      Always

      10 kΩ or higher

      • *: for 5 Door

    Result

    Proceed to

    OK

    NG

    NG

    REPAIR OR REPLACE HARNESS OR CONNECTOR

    OK
  9. CHECK ENTRY DOOR LOCK OPERATION

    1. Connect all connectors.

    2. Check the operation of the entry unlock function of the front passenger door.

      Click hereClick here

    Result

    Result

    Proceed to

    Entry unlock function operates normally

    A

    Entry unlock function does not operate normally

    B

    A

    END (CONNECTOR WAS NOT CONNECTED SECURELY)

    B

    REPLACE CERTIFICATION ECU (SMART KEY ECU ASSEMBLY)