AIRBAG CUT-OFF INDICATOR LIGHT INSPECTION

PROCEDURE

  1. INSPECT TELLTALE LIGHT ASSEMBLY (AIRBAG CUT-OFF INDICATOR LIGHT)

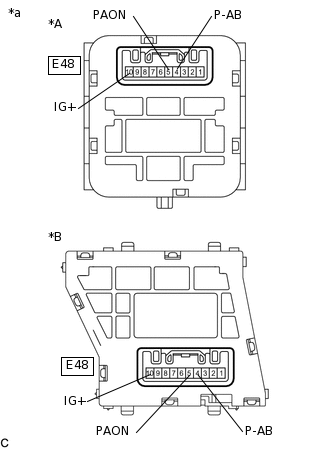
    1. C286209C01

      *A

      for Hatchback, Wagon

      *B

      for Sedan

      *a

      Component without harness connected

      (Telltale Light Assembly (Airbag Cut-off Indicator Light))

      Apply battery voltage to the connector and check the passenger airbag ON/OFF indicator condition.

      Result

      Connection

      Result

      Battery positive (+) - E48-10 (IG+)

      Battery negative (-) - E48-5 (PAON)

      "ON" comes on

      Battery positive (+) - E48-10 (IG+)

      Battery negative (-) - E48-4 (P-AB)

      "OFF" comes on

      If the result is not as specified, replace the telltale light assembly.