СИСТЕМА МОНИТОРА ЗАДНЕГО ВИДА, диагностический DTC:C1622

Код DTC Наименование DTC
C1622 Обрыв или короткое замыкание в цепи сигнала камеры заднего вида

ОПИСАНИЕ

Данный DTC сохраняется, если ЭБУ системы помощи при парковке в результате самодиагностики определяет, что сигналы между ЭБУ системы помощи при парковке и задней телекамерой в сборе не в норме.

№ DTC

Неисправность

Условие обнаружения DTC

Неисправный участок

C1622

Обрыв или короткое замыкание в цепи сигнала камеры заднего вида

Обрыв или короткое замыкание в сигнальной цепи задней телекамеры

  • Жгут или разъем

  • Задняя телекамера в сборе

  • ЭБУ помощи при парковке

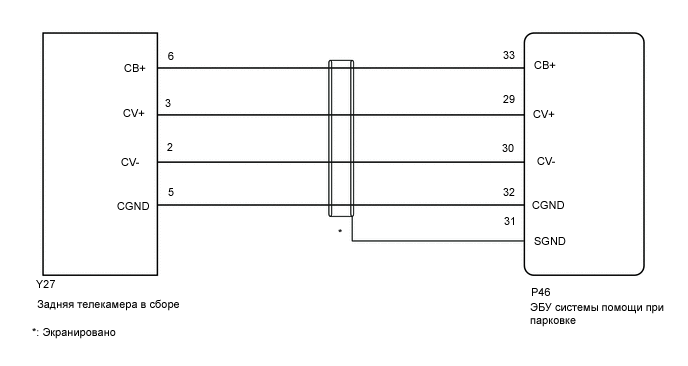
СХЕМА СОЕДИНЕНИЙ

E379402E09

ПРЕДОСТЕРЕЖЕНИЕ / ПРИМЕЧАНИЕ / УКАЗАНИЕ

Note:
  • Если на многофункциональном дисплее отображается знак После отсоединения провода от отрицательного (-) вывода аккумуляторной батареи, скорректируйте нейтральное положение рулевого колеса.

    Нажмите здесьЩелкните по следующей ссылке

  • В зависимости от замененных деталей или операций, которые были выполнены при проверке или обслуживании автомобиля, может потребоваться калибровка других систем, а также системы панорамного обзора.

    Нажмите здесьЩелкните по следующей ссылке

ПОРЯДОК ВЫПОЛНЕНИЯ

  1. ПРОВЕРЬТЕ ЖГУТ ПРОВОДОВ И РАЗЪЕМ (ЭБУ СИСТЕМЫ ПОМОЩИ ПРИ ПАРКОВКЕ – ЗАДНЯЯ ТЕЛЕКАМЕРА В СБОРЕ)

    1. Отсоедините разъем P46 ЭБУ системы помощи при парковке.

    2. Отсоедините разъем Y27 задней телекамеры в сборе.

    3. Измерьте сопротивление в соответствии со значениями, приведенными в таблице ниже.

      Номинальное сопротивление

      Подключение диагностического прибора

      Условие

      Заданные условия

      P46-33 (CB+) - Y27-6 (CB+)

      Всегда

      Менее 1 Ом

      P46-29 (CV+) - Y27-3 (CV+)

      Всегда

      Менее 1 Ом

      P46-30 (CV-) - Y27-2 (CV-)

      Всегда

      Менее 1 Ом

      P46-32 (CGND) - Y27-5 (CGND)

      Всегда

      Менее 1 Ом

      P46-31 (SGND) - масса

      Всегда

      Менее 1 Ом

      P46-33 (CB+) или Y27-6 (CB+) - масса

      Всегда

      10 кОм или более

      P46-29 (CV+) или Y27-3 (CV+) - масса

      Всегда

      10 кОм или более

      P46-30 (CV-) или Y27-2 (CV-) - масса

      Всегда

      10 кОм или более

      P46-32 (CGND) или Y27-5 (CGND) - масса

      Всегда

      10 кОм или более

    Результат

    Перейти к

    OK

    НЕ СООТВ.

    НЕ СООТВ.

    ОТРЕМОНТИРУЙТЕ ИЛИ ЗАМЕНИТЕ ЖГУТ ПРОВОДОВ ИЛИ РАЗЪЕМ

    СООТВ
  2. ПРОВЕРЬТЕ ЭБУ СИСТЕМЫ ПОМОЩИ ПРИ ПАРКОВКЕ (CV-, CGND)

    1. E330226C38

      *a

      Устройство с неподсоединенным жгутом проводов

      (ЭБУ системы помощи при парковке)

      Отсоедините разъемы ЭБУ системы помощи при парковке.

    2. Измерьте сопротивление в соответствии со значениями, приведенными в таблице ниже.

      Номинальное сопротивление

      Подключение диагностического прибора

      Условие

      Заданные условия

      30 (CV-) - масса

      Всегда

      Менее 1 Ом

      32 (CGND) - масса

      Всегда

      Менее 1 Ом

    Результат

    Перейти к

    OK

    НЕ СООТВ.

    НЕ СООТВ.

    ЗАМЕНИТЕ ЭБУ СИСТЕМЫ ПОМОЩИ ПРИ ПАРКОВКЕ

    СООТВ
  3. ПРОВЕРЬТЕ ЭБУ СИСТЕМЫ ПОМОЩИ ПРИ ПАРКОВКЕ (CB+, CGND)

    1. E245958C79

      *a

      Устройство с подсоединенным жгутом проводов

      (ЭБУ системы помощи при парковке)

      Отсоедините заднюю телекамеру в сборе.

    2. Измерьте напряжение в соответствии со значениями, приведенными в таблице.

      Номинальное напряжение

      Контакты для подключения диагностического прибора

      Положение переключателя

      Заданные условия

      P46-33 (CB+) - P46-32 (CGND)

      Зажигание включено (IG)

      5,5 - 7,05 В

      P46-33 (CB+) - P46-32 (CGND)

      Зажигание выключено

      Менее 1 В

    Результат

    Перейти к

    OK

    НЕ СООТВ.

    НЕ СООТВ.

    ЗАМЕНИТЕ ЭБУ СИСТЕМЫ ПОМОЩИ ПРИ ПАРКОВКЕ

    СООТВ
  4. ПРОВЕРЬТЕ ЗАДНЮЮ ТЕЛЕКАМЕРУ В СБОРЕ (CV+, CGND)

    1. Снимите ЭБУ системы помощи при парковке, не отсоединяя разъем.

    2. С помощью осциллографа проверьте форму сигнала задней телекамеры.

      Tip:

      Задняя телекамера имеет водонепроницаемый разъем. Поэтому проверяйте форму сигнала на ЭБУ системы помощи при парковке с подсоединенным разъемом.

      E245725C43

      *a

      Устройство с подсоединенным жгутом проводов

      (ЭБУ системы помощи при парковке)

      *b

      Осциллограмма 1 (объектив камеры не закрыт, изображение выводится)

      *c

      Осциллограмма 2 (объектив камеры закрыт, экран затемнен)

      *d

      Сигнал синхронизации

      *e

      Сигнал видеоизображения

      -

      -

      Tip:
      • Форма видеосигнала изменяется в соответствии с изображением, которое передает задняя телекамера.

      • Видеосигнал постоянно выводится при включенном зажигании (ACC).

      Table 1. Условия измерений

      Наименование

      Описание

      Номера контактов (обозначения)

      P46-29 (CV+) - P46-32 (CGND)

      Настройки прибора

      200 мВ/дел., 50 мкс/дел.

      Условие

      Зажигание включено (IG), переключатель системы панорамного обзора включен

      OK

      Форма сигнала подобна показанной на рисунке.

    Result

    Перейти к

    OK

    НЕ СООТВ.

    OK

    ЗАМЕНИТЕ ЭБУ СИСТЕМЫ ПОМОЩИ ПРИ ПАРКОВКЕ

    NG

    ЗАМЕНИТЕ ТЕЛЕКАМЕРУ ЗАДНЕГО ВИДА В СБОРЕ