FRONT EVAPORATOR TEMPERATURE SENSOR INSTALLATION

CAUTION / NOTICE / HINT

Tip:
  • Use the same procedure for RHD and LHD vehicles.

  • The procedure listed below is for LHD vehicles.

PROCEDURE

  1. INSTALL NO. 1 COOLER THERMISTOR

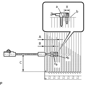
    1. E261004C02

      *a

      Secured Part

      *b

      Sensor Part

      Install the No. 1 cooler thermistor as shown in the illustration.

      Installation Position

      Mark

      Measurement

      A

      34.3 mm (1.35 in.)

      B

      20.9 mm (0.823 in.)

      C

      48 to 52 mm (1.89 to 2.04 in.)

      Note:
      • Be sure to insert the thermistor only once because reinserting it into the same position will not allow it to be firmly secured.

      • When reusing the evaporator, insert the thermistor one row next to the one that has been used previously (X in the illustration).

      • After inserting the thermistor, do not apply excessive force to the wire.

      • Directly insert the thermistor until the edge of plastic case "a" comes into contact with evaporator "b".

  2. INSTALL NO. 1 COOLER EVAPORATOR SUB-ASSEMBLY

  3. INSTALL COOLER EXPANSION VALVE

  4. INSTALL AIR CONDITIONING RADIATOR ASSEMBLY