КОРПУС КЛАПАНОВ В СБОРЕ ПРОВЕРКА

ПОРЯДОК ВЫПОЛНЕНИЯ

  1. ПРОВЕРЬТЕ ЭЛЕКТРОМАГНИТНЫЙ КЛАПАН (SL)

    1. C188295C01

      *a

      Устройство с отсоединенным жгутом проводов

      (Электромагнитный клапан SL)

      Измерьте сопротивление в соответствии со значениями, приведенными в таблице ниже.

      Номинальное сопротивление

      Подключение диагностического прибора

      Условие

      Заданные условия

      Разъем электромагнитного клапана (SL) - корпус электромагнитного клапана (SL)

      20°C (68°F)

      11-15 Ом

      Если результат не соответствует требованиям, замените электромагнитный клапан (SL).

    2. Подсоедините положительный (+) вывод аккумуляторной батареи к контакту разъема электромагнитного клапана (SL), а отрицательный (-) вывод - к корпусу электромагнитного клапана (SL) и убедитесь, что электромагнитный клапан (SL) перемещается и издает звук при срабатывании.

      Note:

      При использовании во время проверки напряжения аккумуляторной батареи не подносите слишком близко друг к другу положительный (+) и отрицательный (-) щупы диагностического прибора, иначе может произойти короткое замыкание.

      OK

      Электромагнитный клапан (SL) перемещается и издает звук при срабатывании.

      Если результат не соответствует требованиям, замените электромагнитный клапан (SL).

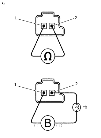
  2. ПРОВЕРЬТЕ ЭЛЕКТРОМАГНИТНЫЙ КЛАПАН (SLT)

    1. C201747C11

      *a

      Устройство с неподсоединенным жгутом проводов

      (Электромагнитный клапан (SLT))

      *b

      Лампа 21 Вт

      Измерьте сопротивление в соответствии со значениями, приведенными в таблице ниже.

      Номинальное сопротивление

      Подключение диагностического прибора

      Условие

      Заданные условия

      1 - 2

      20 °C (68 °F)

      5,0-5,6 Ом

      Если результат не соответствует требованиям, замените электромагнитный клапан (SLT).

    2. Подсоедините положительный (+) вывод аккумуляторной батареи с лампой 21 Вт к контакту 2, а отрицательный (-) вывод - к контакту 1 разъема электромагнитного клапана (SLT) и убедитесь, что электромагнитный клапан (SLT) перемещается и издает звук при срабатывании.

      Note:

      При использовании во время проверки напряжения аккумуляторной батареи не подносите слишком близко друг к другу положительный (+) и отрицательный (-) щупы диагностического прибора, иначе может произойти короткое замыкание.

      OK

      Электромагнитный клапан (SLT) перемещается и издает звук при срабатывании.

      Если результат не соответствует требованиям, замените электромагнитный клапан (SLT).

  3. ПРОВЕРЬТЕ ЭЛЕКТРОМАГНИТНЫЙ КЛАПАН (SLU)

    Tip:

    Выполните те же действия, что и для электромагнитного клапана (SLT).

  4. ПРОВЕРЬТЕ ЭЛЕКТРОМАГНИТНЫЙ КЛАПАН (SL1)

    Tip:

    Выполните те же действия, что и для электромагнитного клапана (SLT).

  5. ПРОВЕРЬТЕ ЭЛЕКТРОМАГНИТНЫЙ КЛАПАН (SL2)

    Tip:

    Выполните те же действия, что и для электромагнитного клапана (SLT).

  6. ПРОВЕРЬТЕ ЭЛЕКТРОМАГНИТНЫЙ КЛАПАН (SL3)

    Tip:

    Выполните те же действия, что и для электромагнитного клапана (SLT).

  7. ПРОВЕРЬТЕ ЭЛЕКТРОМАГНИТНЫЙ КЛАПАН (SL4)

    Tip:

    Выполните те же действия, что и для электромагнитного клапана (SLT).