LIGHTING SYSTEM

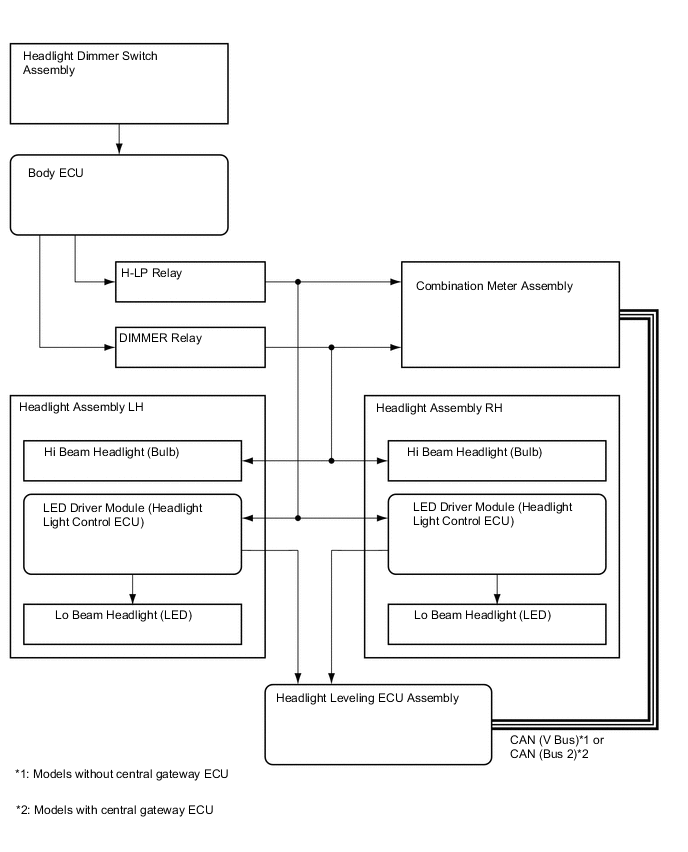
Figure 1. LED Headlight System

A01T0KFE02

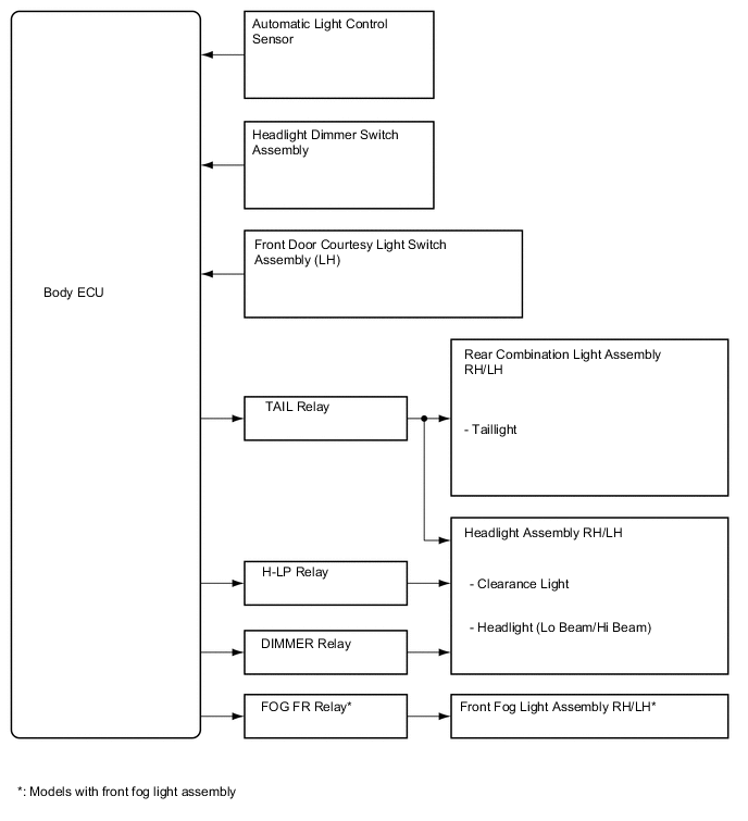
Figure 2. Halogen Headlight System (Models with Body ECU)

A01T0LGE01

Figure 3. Halogen Headlight System (Models without Body ECU)

A01T0JFE01

Figure 4. Daytime Running Light System

A01T0GOE04

Figure 5. Light Auto Turn-off System (with Follow Me Home Function)

A01T0JHE02

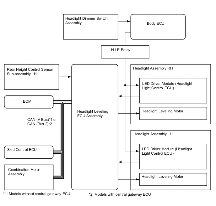
Figure 6. Automatic Headlight Beam Level Control System

A01T0FEE02

Figure 7. Manual Headlight Beam Level Control System

A01T0GKE01

Figure 8. Automatic Light Control System

A01T0NBE03

Figure 9. Emergency Brake Signal System (Models with VSC)

A01T0E3E02