СИСТЕМА ПОСАДКИ И ЗАПУСКА (для моделей с функцией посадки) Не действует функция разблокировки для двери водителя

Код DTC Наименование DTC
Не действует функция разблокировки для двери водителя

ОПИСАНИЕ

Если функция разблокировки дверей системы посадки не работает только для двери водителя, а функция блокировки дверей системы посадки работает, это означает, что код запроса передается от двери водителя должным образом. В этом случае неисправность может быть связана с датчиком разблокировки (соединение между ЭБУ сертификации (ЭБУ электронного ключа зажигания в сборе) и наружной ручкой передней двери в сборе (двери водителя)).

СХЕМА ЭЛЕКТРИЧЕСКИХ СОЕДИНЕНИЙ

Figure 1. Для моделей с левосторонним рулевым управлением.
B423589E10
Figure 2. для моделей с правосторонним рулевым управлением.
B423589E18

ПРЕДОСТЕРЕЖЕНИЕ / ПРИМЕЧАНИЕ / УКАЗАНИЕ

Note:
  • Система посадки и запуска (функция посадки) использует системы передачи данных LIN и CAN. Проверьте работоспособность системы передачи данных, следуя указаниям из раздела "Порядок поиска неисправностей". Приступать к диагностике системы посадки и запуска (функции посадки) следует только после подтверждения нормальной работы систем передачи данных.

    Нажмите здесьClick here

  • При использовании GTS с выключенным питанием, подсоедините GTS к DLC3 и включайте и выключайте освещение проема двери с интервалами 1,5 с или менее до тех пор, пока не начнется обмен данными между GTS и автомобилем. Затем выберите код модели "KEY REGIST" в ручном режиме и войдите в следующие пункты меню: Body Electrical / Entry&Start(CAN). При использовании GTS периодически включайте и выключайте выключатель освещения дверного проема с интервалом не более 1,5 с, чтобы поддерживать связь между GTS и автомобилем.

  • Убедитесь, что в автомобиле отсутствуют передатчики электронных ключей в сборе.

  • Перед заменой ЭБУ сертификации (ЭБУ электронного ключа зажигания в сборе) обратитесь к мерам предосторожности.

    Нажмите здесьClick hereClick here

  • После ремонта убедитесь, что коды DTC не выводятся снова.

ПОРЯДОК ВЫПОЛНЕНИЯ

  1. ПРОВЕРЬТЕ СИСТЕМУ УПРАВЛЕНИЯ ЗАМКАМИ ДВЕРЕЙ

    1. Приводя в действие выключатель системы блокировки дверей на главном переключателе сети мультиплексной связи, убедитесь, что двери блокируются и разблокируются в соответствии с состоянием выключателя.

      Нажмите здесьClick here

      OK

      Дверные замки работают надлежащим образом.

    Result

    Перейти к

    OK

    НЕ СООТВ.

    НЕ СООТВ.

    ПЕРЕЙДИТЕ К РАЗДЕЛУ "СИСТЕМА УПРАВЛЕНИЯ ЗАМКАМИ ДВЕРЕЙ"

    Нажмите здесьClick here

    СООТВ
  2. СНИМИТЕ ПОКАЗАНИЯ GTS (FR DOOR LOCK POS, FL DOOR LOCK POS)

    1. Подключите GTS к DLC3.

    2. Включите зажигание (IG).

    3. Включите GTS.

    4. Войдите в следующие меню: Body Electrical / Main Body / Data List.

    5. Снимите показания с дисплея GTS в режиме DATA LIST.

      Body Electrical > Main Body > Data List

      Информация на дисплее прибора

      Измеряемая величина

      Диапазон

      Нормальное состояние

      Замечание по диагностике

      FR Door Lock Pos

      Входной сигнал датчика разблокировки правой передней двери

      UNLOCK (ЗАБЛОКИР) или LOCK (РАЗБЛОКИР)

      UNLOCK: Правая передняя дверь разблокирована

      LOCK: Правая передняя дверь заблокирована

      Для моделей с правосторонним рулевым управлением

      FL Door Lock Pos

      Входной сигнал датчика разблокировки левой передней двери

      UNLOCK (ЗАБЛОКИР) или LOCK (РАЗБЛОКИР)

      UNLOCK: Левая передняя дверь разблокирована

      LOCK: Левая передняя дверь заблокирована

      Для моделей с левосторонним рулевым управлением

      Body Electrical > Main Body > Data List

      Информация на дисплее прибора

      FR Door Lock Pos

      FL Door Lock Pos

      OK

      Показания на экране GTS правильно изменяются в соответствии с блокировкой/разблокировкой двери водителя.

    Result

    Перейти к

    OK

    НЕ СООТВ.

    НЕ СООТВ.

    ПЕРЕЙДИТЕ К РАЗДЕЛУ "СИСТЕМА ОСВЕЩЕНИЯ" ("Цепь датчика разблокировки двери")

    Нажмите здесьClick here

    СООТВ
  3. СНИМИТЕ ПОКАЗАНИЯ GTS (D-DOOR TOUCH SENSOR)

    1. Выключите питание.

    2. Откройте и закройте дверь водителя.

    3. Когда передатчик электронного ключа в сборе находится снаружи автомобиля, нажмите выключатель блокировки на передатчике электронного ключа в сборе, чтобы заблокировать все двери.

    4. Удерживайте передатчик электронного ключа на высоте наружной ручки двери в сборе и на расстоянии примерно 0,3 м (0,984 фута) от двери водителя.

    5. Убедитесь, что светодиод на передатчике электронного ключа в сборе мигает.

    6. Снимите показания с дисплея GTS в режиме DATA LIST.

    7. B416808C01

      *A

      Для моделей с левосторонним рулевым управлением

      *B

      Для моделей с правосторонним рулевым управлением

      *a

      Датчик разблокировки (с обратной стороны)

      Коснитесь датчика разблокировки на обратной стороне наружной ручки передней двери (двери водителя) в сборе.

      Tip:

      При повторной проверке работы датчика разблокировки обязательно выполняйте процедуру, начиная с шага (а).

      Body Electrical > Entry&Start > Data List

      Информация на дисплее прибора

      Измеряемая величина

      Диапазон

      Нормальное состояние

      Замечание по диагностике

      D-Door Touch Sensor

      Сенсорный датчик двери водителя (датчик разблокировки)

      ON (ВКЛ) или OFF (ВЫКЛ)

      ON (ВКЛ): Прикосновение к сенсорному датчику двери водителя (датчику разблокировки)

      OFF (ВЫКЛ): Прикосновение к сенсорному датчику двери водителя (датчику разблокировки) отсутствует

      • Показывает, включен или выключен датчик разблокировки (даже при касании датчика и поддержании контакта с ним значение "ON" (ВКЛ) отображается только кратковременно).

      • Когда функция разблокировки системы посадки не работает, этот параметр в списке Data List используется, чтобы определить наличие неисправности датчика разблокировки.

      Body Electrical > Entry&Start > Data List

      Информация на дисплее прибора

      D-Door Touch Sensor

      OK

      Показания на экране GTS правильно изменяются в соответствии с управлением наружной ручкой передней двери (двери водителя).

    Результат

    Перейти к

    OK

    НЕ СООТВ.

    OK

    ЗАМЕНИТЕ ЭБУ СЕРТИФИКАЦИИ (ЭБУ ЭЛЕКТРОННОГО КЛЮЧА ЗАЖИГАНИЯ В СБОРЕ)

    NG
  4. ПРОВЕРЬТЕ ЖГУТ ПРОВОДОВ И РАЗЪЕМ (ЭБУ СЕРТИФИКАЦИИ (ЭБУ ЭЛЕКТРОННОГО КЛЮЧА ЗАЖИГАНИЯ) – НАРУЖНАЯ РУЧКА ПЕРЕДНЕЙ ДВЕРИ В СБОРЕ (ДВЕРИ ВОДИТЕЛЯ))

    1. Отсоедините разъем R1*1 или S5*2 ЭБУ сертификации (ЭБУ электронного ключа зажигания).

      • *1: для моделей с левосторонним рулевым управлением

      • *2: для моделей с правосторонним рулевым управлением

    2. Отсоедините разъем N11*1 или M11*2 наружной ручки передней двери в сборе (со стороны водителя).

      • *1: для моделей с левосторонним рулевым управлением

      • *2: для моделей с правосторонним рулевым управлением

    3. Измерьте сопротивление в соответствии со значениями, приведенными в таблице ниже.

      Номинальное сопротивление

      Table 1. для моделей с левосторонним рулевым управлением.

      Подключение диагностического прибора

      Условие

      Заданные условия

      R1-17 (CLG1) - N11-4 (ANT1)

      Всегда

      Менее 1 Ом

      R1-16 (CG1B) - N11-5 (ANT2)

      Всегда

      Менее 1 Ом

      R1-17 (CLG1) или N11-4 (ANT1) - масса

      Всегда

      10 кОм или более

      R1-16 (CG1B) или N11-5 (ANT2) - масса

      Всегда

      10 кОм или более

      Table 2. Для моделей с правосторонним рулевым управлением

      Подключение диагностического прибора

      Условие

      Заданные условия

      S5-17 (CLG1) - M11-4 (ANT1)

      Всегда

      Менее 1 Ом

      S5-16 (CG1B) - M11-5 (ANT2)

      Всегда

      Менее 1 Ом

      S5-17 (CLG1) или M11-4 (ANT1) - масса

      Всегда

      10 кОм или более

      S5-16 (CG1B) или M11-5 (ANT2) - масса

      Всегда

      10 кОм или более

    4. Подсоедините разъем N11*1 или M11*2 наружной ручки передней двери в сборе (со стороны водителя).

      • *1: для моделей с левосторонним рулевым управлением

      • *2: для моделей с правосторонним рулевым управлением

    5. Подсоедините разъем R1*1 или S5*2 ЭБУ сертификации (ЭБУ электронного ключа зажигания).

      • *1: для моделей с левосторонним рулевым управлением

      • *2: для моделей с правосторонним рулевым управлением

    Результат

    Перейти к

    OK

    НЕ СООТВ.

    НЕ СООТВ.

    ОТРЕМОНТИРУЙТЕ ИЛИ ЗАМЕНИТЕ ЖГУТ ПРОВОДОВ ИЛИ РАЗЪЕМ

    СООТВ
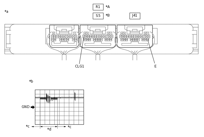
  5. ПРОВЕРЬТЕ НАРУЖНУЮ РУЧКУ ПЕРЕДНЕЙ ДВЕРИ В СБОРЕ (ДВЕРИ ВОДИТЕЛЯ) (ВХОД НА ЭБУ СЕРТИФИКАЦИИ (ЭБУ ЭЛЕКТРОННОГО КЛЮЧА ЗАЖИГАНИЯ В СБОРЕ))

    B416830C13

    *A

    Для моделей с левосторонним рулевым управлением

    *B

    Для моделей с правосторонним рулевым управлением

    *a

    Устройство с подсоединенным жгутом проводов

    (ЭБУ сертификации (ЭБУ электронного ключа зажигания в сборе))

    *b

    Осциллограмма 1

    *c

    Прикосновение к датчику разблокировки отсутствует

    *d

    Прикосновение к датчику разблокировки обнаружено

    1. С помощью осциллографа проверьте форму сигнала.

      OK

      Table 3. Для моделей с левосторонним рулевым управлением.

      Подключение диагностического прибора

      Условие

      Настройки прибора

      Заданные условия

      R1-17 (CLG1) - J41-18 (E)

      Процедура:

      1. Зажигание выключено

      2. Передатчик электронного ключа в сборе вынесен за пределы автомобиля

      3. Все двери заблокированы

      4. Передатчик электронного ключа в сборе не находится вблизи автомобиля

      5. Обнаружено прикосновение к датчику разблокировки двери водителя

      5 В/дел., 50 мс/дел.

      Формирование импульсов:

      (см. осциллограмму 1)

      Table 4. для моделей с правосторонним рулевым управлением.

      Подключение диагностического прибора

      Условие

      Настройки прибора

      Заданные условия

      S5-17 (CLG1) - J41-18 (E)

      Процедура:

      1. Зажигание выключено

      2. Передатчик электронного ключа в сборе вынесен за пределы автомобиля

      3. Все двери заблокированы

      4. Передатчик электронного ключа в сборе не находится вблизи автомобиля

      5. Обнаружено прикосновение к датчику разблокировки двери водителя

      5 В/дел., 50 мс/дел.

      Формирование импульсов:

      (см. осциллограмму 1)

    Результат

    Перейти к

    OK

    НЕ СООТВ.

    OK

    ЗАМЕНИТЕ ЭБУ СЕРТИФИКАЦИИ (ЭБУ ЭЛЕКТРОННОГО КЛЮЧА ЗАЖИГАНИЯ В СБОРЕ)

    NG

    ЗАМЕНИТЕ НАРУЖНУЮ РУЧКУ ПЕРЕДНЕЙ ДВЕРИ В СБОРЕ (СО СТОРОНЫ ВОДИТЕЛЯ)

    Нажмите здесьClick hereClick hereClick here