ILLUSTRATION
| *A | w/ Air Conditioning System | - | - |
| *1 | NO. 1 COMPRESSOR MOUNTING BRACKET | *2 | TIMING BELT COVER |
| *3 | TIMING BELT | *4 | TIMING BELT GUIDE |
| *5 | VANE PUMP DRIVE PULLEY | *6 | COOLER COMPRESSOR DRIVE PULLEY |
| *7 | CRANKSHAFT PULLEY | *8 | GASKET |
|
Tightening torque for "Major areas involving basic vehicle performance such as moving/turning/stopping" : N*m (kgf*cm, ft.*lbf) | |
N*m (kgf*cm, ft.*lbf): Specified torque |
| ● | Non-reusable part | - | - |
ILLUSTRATION
| *1 | GLOW PLUG ASSEMBLY | *2 | NO. 1 GLOW PLUG CONNECTOR |
| *3 | SCREW GROMMET | *4 | NO. 1 GLOW PLUG RESISTOR INSULATOR |
| *5 | INTAKE FLANGE | *6 | VENTURI ASSEMBLY |
| *7 | INJECTION PIPE SUB-ASSEMBLY | *8 | INJECTION PIPE CLAMP |
| *9 | NOZZLE HOLDER AND NOZZLE SET | *10 | INJECTION NOZZLE SEAT |
| *11 | INJECTION NOZZLE SEAT GASKET | *12 | RING PACKING WASHER |
| *13 | NOZZLE LEAKAGE PIPE ASSEMBLY | *14 | INJECTION PUMP DRIVE PULLEY |
| *15 | INJECTION PUMP ASSEMBLY | *16 | FUEL HOSE |
| *17 | NO. 1 INJECTION PUMP STAY | *18 | ENGINE COOLANT TEMPERATURE SENSOR |
| *19 | GASKET | - | - |
|
Tightening torque for "Major areas involving basic vehicle performance such as moving/turning/stopping" : N*m (kgf*cm, ft.*lbf) | |
N*m (kgf*cm, ft.*lbf): Specified torque |
| ● | Non-reusable part | - | - |
ILLUSTRATION
| *1 | INTAKE MANIFOLD | *2 | WATER OUTLET HOUSING |
| *3 | PUMP BRACKET | *4 | WATER HOSE JOINT |
| *5 | CRANK POSITION SENSOR | *6 | ENGINE OIL LEVEL DIPSTICK GUIDE |
| *7 | ENGINE OIL LEVEL DIPSTICK | *8 | O-RING |
| *9 | GASKET | - | - |
|
N*m (kgf*cm, ft.*lbf): Specified torque | ● | Non-reusable part |
| ★ | Precoated part | - | - |
ILLUSTRATION
| *A | w/ Air Conditioning System | - | - |
| *1 | EXHAUST MANIFOLD | *2 | NO. 1 EXHAUST MANIFOLD HEAT INSULATOR |
| *3 | OIL FILTER BRACKET SUB-ASSEMBLY | *4 | OIL FILTER SUB-ASSEMBLY |
| *5 | FRONT ENGINE MOUNTING BRACKET RH | *6 | IDLE PULLEY ASSEMBLY WITH BRACKET |
| *7 | OIL FILTER BRACKET GASKET | *8 | GASKET |
|
Tightening torque for "Major areas involving basic vehicle performance such as moving/turning/stopping" : N*m (kgf*cm, ft.*lbf) | |
N*m (kgf*cm, ft.*lbf): Specified torque |
| ● | Non-reusable part | - | - |
ILLUSTRATION
| *1 | CAMSHAFT TIMING PULLEY | *2 | NO. 2 TIMING BELT COVER |
| *3 | WATER PUMP ASSEMBLY | *4 | TENSION SPRING BRACKET |
| *5 | NO. 2 TIMING BELT IDLER SUB-ASSEMBLY | *6 | SPACER |
| *7 | NO. 1 TIMING BELT IDLER SUB-ASSEMBLY | *8 | IDLER TENSION SPRING |
| *9 | CRANKSHAFT TIMING PULLEY | *10 | FRONT CRANKSHAFT OIL SEAL |
| *11 | GASKET | - | - |
|
N*m (kgf*cm, ft.*lbf): Specified torque | ● | Non-reusable part |
|
MP grease | - | - |
ILLUSTRATION
| *1 | VACUUM PUMP OIL INLET HOSE | *2 | VACUUM PUMP OIL OUTLET HOSE |
| *3 | UNION | *4 | ENGINE OIL PRESSURE SWITCH ASSEMBLY |
| *5 | ENGINE REAR OIL SEAL RETAINER | *6 | REAR CRANKSHAFT OIL SEAL |
| *7 | TIMING BELT CASE SUB-ASSEMBLY | *8 | OIL STRAINER SUB-ASSEMBLY |
| *9 | OIL PAN SUB-ASSEMBLY | *10 | GASKET |
|
Tightening torque for "Major areas involving basic vehicle performance such as moving/turning/stopping" : N*m (kgf*cm, ft.*lbf) | |
N*m (kgf*cm, ft.*lbf): Specified torque |
| ● | Non-reusable part | ★ | Precoated part |
|
MP grease | - | - |
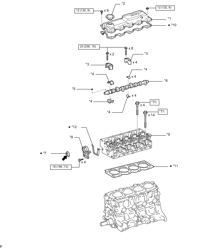
ILLUSTRATION
| *1 | CYLINDER HEAD COVER SUB-ASSEMBLY | *2 | OIL FILLER CAP SUB-ASSEMBLY |
| *3 | CAMSHAFT BEARING CAP | *4 | CAMSHAFT BEARING |
| *5 | WOODRUFF KEY | *6 | CAMSHAFT |
| *7 | CAMSHAFT OIL SEAL | *8 | CAMSHAFT OIL SEAL RETAINER |
| *9 | CYLINDER HEAD SUB-ASSEMBLY | *10 | CYLINDER HEAD COVER GASKET |
| *11 | CYLINDER HEAD GASKET | *12 | GASKET |
|
N*m (kgf*cm, ft.*lbf): Specified torque | ● | Non-reusable part |
|
MP grease | - | - |
| *T1 | 1st: 78 (795, 58) 2nd: Turn 90° 3rd: Turn 90° |
- | - |