СРЕДНЯЯ СТОЙКА КУЗОВА ОТРЕЗАЕМЫЕ И СТЫКУЕМЫЕ СМЕННЫЕ ЧАСТИ
-
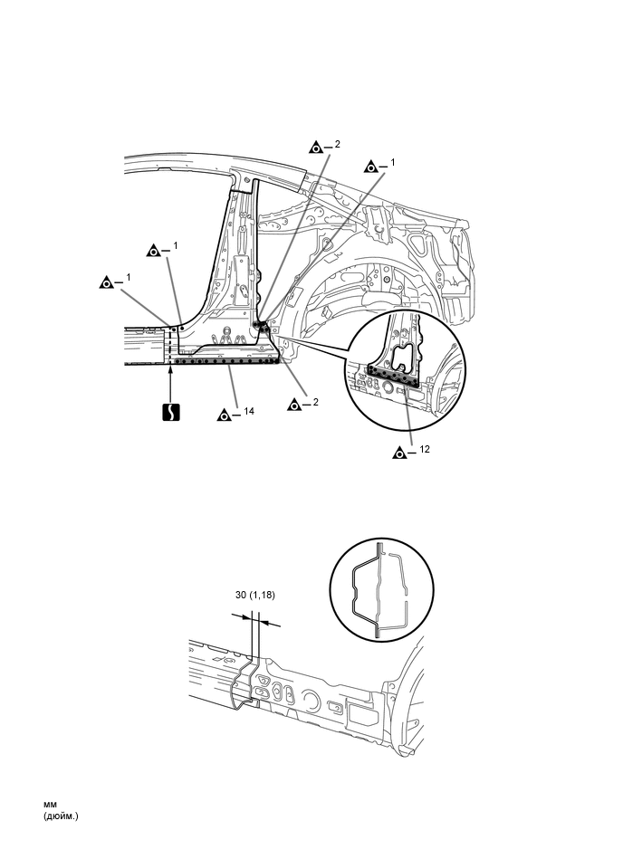
Со снятой задней боковой панелью.
Сварка сверхвысокопрочной стали 980 МПа
При сварке сверхвысокопрочной стали соблюдайте условия сварки, чтобы гарантировать достаточную прочность сварного шва (при ремонте данной модели).
*1: при сваривании 2 панелей, в том числе из сверхвысокопрочной стали 980 МПа.
Сварка электрозаклепками
Диаметр электрозаклепки
10 мм (0,39 дюйма)
Тип проволоки
AWS A5,18 ER70S-3
Защитный газ
Активный газ для сварки металлическим электродом
*2: при сваривании более 3 панелей, в том числе из сверхвысокопрочной стали 980 МПа (При приваривании электрозаклепками третьей панели к 2 панелям, которые сварены с соблюдением вышеприведенных условий.)
Сварка электрозаклепками
Диаметр электрозаклепки
Такой же, как в стандартном способе (см. введение)
Тип проволоки
AWS A5,18 ER70S-3
Защитный газ
Активный газ для сварки металлическим электродом
СНЯТИЕ
Значения символов

Точки сварки при снятии

Точки сварки при снятии

Обрежьте, например, с помощью шлифовальной машины

Место разрезания и соединения
УСТАНОВКА
Значения символов

Сварка электрозаклепкой

Сварка электрозаклепкой

Место разрезания и соединения

Угловой сварной шов

Стыковой сварной шов
ТОЧКА СНЯТИЯ
Никогда не сваривайте встык и не производите ремонт с применением нагрева, поскольку тепло снижает прочность участков, где используется сверхвысокопрочная сталь (см. введение).
*3 используется повторно.
ТОЧКА УСТАНОВКИ
Проверьте сопряжение новых деталей с прилегающими деталями кузова перед сваркой. От того, насколько правильно сопрягаются детали друг с другом, будет зависеть после сборки внешний вид узла и всего автомобиля.
Установите не закрепляя новые детали и измерьте необходимые размеры в соответствии со схемой измерений (См. размеры кузова.)
Если целая запасная часть не нужна, снимите ту часть запасной части, которая требуется.
При сваривании деталей *1 и *2 соблюдайте условия сварки, чтобы гарантировать достаточную прочность сварного шва. (см. введение).
Прежде чем предварительно установить новые детали, приварите усиление средней стойки кузова в сборе и наружное усиление порога в сборе в стандартных точках сварки.
После приваривания внутренней стойки № 1 в сборе к кузову установите усиление средней стойки кузова в сборе и наружное усиление порога в сборе.
После приваривания внутренней стойки № 1 в сборе, усиления средней стойки кузова в сборе и наружного усиления порога в сборе к кузову установите деталь *3.
После сварки нанесите герметик для кузова на соответствующие детали (См. раздел "Лакокрасочное покрытие".)
После нанесения верхнего слоя покрытия нанесите антикоррозийное средство на сварные точки несущих рабочую нагрузку швов замкнутого профиля с внутренней стороны панели.