MIRROR SYSTEM PARTS LOCATION

A01EZ4ZE01
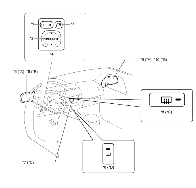
Text in Illustration
*A Models with Manual Retractable Function *B Models without Manual Retractable Function
*C Models with Automatic Air Conditioning System *D Models with Manual Air Conditioning System
*1 Left/Right Adjustment Switch *2 Mirror Switch
*3 Mirror Retract Switch *4 Outer Mirror Switch Assembly
*5

Outer Rear View Mirror Assembly LH

- Mirror Surface Adjustment Motor

- Power Housing Mirror Motor

*6

Outer Rear View Mirror Assembly LH

- Mirror Surface Adjustment Motor

*7 Air Conditioning Amplifier Assembly *8 Rear Window Defogger Switch Assembly
*9

Outer Rear View Mirror Assembly RH

- Mirror Surface Adjustment Motor

- Power Housing Mirror Motor

*10

Outer Rear View Mirror Assembly RH

- Mirror Surface Adjustment Motor