SFI SYSTEM


  1. FUNCTION


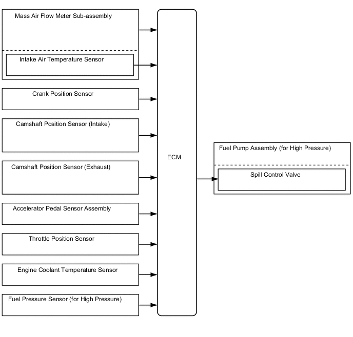
    1. The ECM performs variable control to achieve the high pressure fuel pressure in accordance with the driving conditions. By minimizing the amount of fuel discharged via the spill control valve, the required pump drive torque and noise are reduced.

    2. The ECM performs feedback control to achieve the desired value based on fuel pressure signals from the fuel pressure sensor installed in the fuel delivery pipe (for direct injection).

      B002392E02
      Control Pressure for Each Driving Condition
      Condition Control Pressure
      Idling 2.4 MPa
      Except Idling 2.4 to 20 MPa