STEERING PAD(for Single Type) DISPOSAL

CAUTION / NOTICE / HINT

CAUTION:

Before performing pre-disposal deployment of any SRS part, review and closely follow all applicable environmental and hazardous material regulations. Pre-disposal deployment may be considered hazardous material treatment.

PROCEDURE

  1. PRECAUTION

    CAUTION:
    • An airbag or pretensioner may be activated by static electricity. To prevent this, be sure to touch a metal surface with your bare hands to discharge static electricity before performing this procedure.

    • Never dispose of a steering pad with an undeployed airbag.

    • The airbag produces an exploding sound when it is deployed, so perform the operation outdoors and where it will not create a nuisance to nearby residents.

    • When deploying the airbag, always use the specified SST (SRS Airbag Deployment Tool). Perform the operation in a place away from electrical noise.

    • When deploying the airbag, perform the operation at least 10 m (32.8 ft.) away from the steering pad.

    • The steering pad becomes extremely hot when the airbag is deployed, so do not touch it for at least 30 minutes after deployment.

    • Use gloves and safety glasses when handling a steering pad with a deployed airbag.

    • Do not apply water etc. to a steering pad with a deployed airbag.

    • Always wash your hands with water after completing the operation.

    Tip:

    When scrapping a vehicle equipped with an SRS or disposing of the steering pad, be sure to deploy the airbag first in accordance with the procedure described below. If any abnormality occurs with the airbag deployment, contact the Service Dept. of the distributor.

  2. DISPOSE OF STEERING PAD (When Installed in Vehicle)

    Note:
    • When disposing of the steering pad, never use the customer's vehicle to deploy the airbag.

    • Be sure to observe the following procedure when deploying the airbag.

    Tip:

    Prepare a battery as the power source to deploy the airbag.

    1. C110371N26

      Check the function of SST.

      09082-00700

      CAUTION:

      When deploying the airbag, always use the specified SST:

      SRS Airbag Deployment Tool

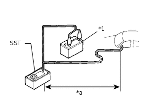
      1. C110372C20

        *1

        Battery

        Connect SST to the battery.

        Connect the red clip of SST to the positive (+) battery terminal and the black clip of SST to the negative (-) battery terminal.

      2. C110475N10

        Check the function of SST.

        Press the SST activation switch and check that the LED of the SST activation switch comes on.

        CAUTION:
        • Do not connect the yellow SST connector to the airbag.

        • If the LED comes on when the activation switch is not being pressed, SST is malfunctioning. Replace SST.

      3. Disconnect SST from the battery.

    2. Refer to Precaution.

      Click here

    3. Remove the steering column cover.

      Click here

    4. Disconnect the cable from the auxiliary battery negative (-) terminal.

      CAUTION:

      Wait at least 90 seconds after disconnecting the cable from the auxiliary battery negative (-) terminal to disable the SRS system.

    5. Disconnect the yellow airbag connector from the spiral cable.

      1. B339262C01

        *1

        Slider

        Slide the slider to release the lock, and then disconnect the connector.

        Note:

        When disconnecting any airbag connector, take care not to damage the airbag wire harness.

    6. Install SST.

      CAUTION:

      Check that there is no looseness in the steering wheel assembly and steering pad.

      1. B339263N01

        Connect the SST connector to the airbag connector of the spiral cable.

        09082-00700

        09082-00780

        Note:

        To avoid damaging the SST connector or wire harness, do not lock the secondary lock of the twin lock.

      2. B340835C01

        *1

        Battery

        *a

        10 m or more

        Move SST at least 10 m (32.8 ft.) away from the front side window of the vehicle.

      3. While maintaining sufficient clearance for the SST wire harness in the front side window, close all doors and windows of the vehicle.

        Note:

        Take care not to damage the SST wire harness.

      4. Connect the red clip of SST to the positive (+) battery terminal and the black clip of SST to the negative (-) battery terminal.

    7. Deploy the airbag.

      1. Check that no one is inside the vehicle or within a 10 m (32.8 ft.) radius of the vehicle.

      2. Press the SST activation switch and deploy the airbag.

        CAUTION:
        • Before deployment, make sure that no one is near the vehicle.

        • The steering pad becomes extremely hot when the airbag is deployed, so do not touch it for at least 30 minutes after deployment.

        • Use gloves and safety glasses when handling a steering pad with a deployed airbag.

        • Do not apply water etc. to a steering pad with a deployed airbag.

        • Always wash your hands with water after completing the operation.

        Tip:

        The airbag is deployed as the LED of the SST activation switch comes on.

  3. DISPOSE OF STEERING PAD (When not Installed in Vehicle)

    Note:

    Be sure to observe the following procedure when deploying the airbag.

    Tip:

    Prepare a battery as the power source to deploy the airbag.

    1. C110371N26

      Check the function of SST.

      09082-00700

      CAUTION:

      When deploying the airbag, always use the specified SST:

      SRS Airbag Deployment Tool

      1. C110372C17

        *1

        Battery

        Connect SST to the battery.

        Connect the red clip of SST to the positive (+) battery terminal and the black clip of SST to the negative (-) battery terminal.

      2. C110475N10

        Check the function of SST.

        Press the SST activation switch and check that the LED of the SST activation switch comes on.

        CAUTION:
        • Do not connect the yellow SST connector to the airbag.

        • If the LED comes on when the activation switch is not being pressed, SST is malfunctioning. Replace SST.

      3. Disconnect SST from the battery.

    2. Remove the steering pad.

      Click here

      CAUTION:
      • Before removing the steering pad, wait at least 90 seconds after turning the power switch off and disconnecting the cable from the auxiliary battery negative (-) terminal.

      • When storing the steering pad, keep the airbag deployment side facing upward.

    3. B104882C28

      *a

      Wire Diameter

      *b

      Stripped Wire Section

      Using braided wire, tie down the steering pad to an unneeded wheel.

      Wire

      Stripped wire section

      1.25 mm2 (0.0019 in.2) or more

      CAUTION:

      If the wire harness is too thin or an alternative object is used to tie down the steering pad, it may snap when the airbag is deployed. Always use a wire for vehicle use with an area of at least 1.25 mm2 (0.0019 in.2).

      Tip:

      To calculate the area of the stripped wire section:

      Area = 3.14 x (Diameter)2 / 4

      1. B339264N01

        After connecting the following SST to each other, connect them to the steering pad.

        09082-00802

        09082-10801

        09082-40800

      2. B339265C01

        *a

        2 times or more

        Wind 3 wires at least 2 times each around each of the snap pins.

        CAUTION:
        • Tightly wind the wires around the snap pins without any slack.

        • Make sure that the wires are tight. If there is slack in the wires, the steering pad may break loose when the airbag is deployed.

      3. B339266

        Face the airbag deployment side of the steering pad upward on top of an unneeded tire and wheel set. Separately tie the left and right sides of the steering pad to the wheel through the hub nut holes. Position the SST connector so that it hangs downward through the hub hole of the wheel.

        CAUTION:
        • Make sure that the wires are tight. If there is slack in the wires, the steering pad may break loose when the airbag is deployed.

        • Always tie down the steering pad with the airbag deployment side facing upward.

        Note:

        The tire and wheel may be damaged by the airbag deployment, so use an unneeded tire and wheel.

    4. B339267N01

      Install SST.

      CAUTION:

      Place the wheel on level ground.

      1. Connect the SST connector.

        09082-00700

        Note:

        To avoid damaging the SST connector or wire harness, do not lock the secondary lock of the twin lock. Also, secure some slack for the SST wire harness inside the disc wheel.

      2. B339268C01

        *a

        10 m or more

        Move SST at least 10 m (32.8 ft.) away from the airbag tied down to the wheel.

    5. B339269C01

      *1

      Weight

      Cover the steering pad (using a cardboard box).

      1. Cover the steering pad with a cardboard box.

      2. Place weights on the cardboard box in 4 places totaling at least 190 N (19 kg, 42.7 lb).

        Minimum cardboard box size

        Must exceed the following dimensions

        X

        460 mm (1.51 ft.)

        Y

        650 mm (2.13 ft.)

        Note:
        • When dimension Y of the cardboard box exceeds the diameter of the wheel and tire to which the steering pad is tied, X should be the following size.

          X = 460 mm (1.51 ft.) + width of tire

        • If a cardboard box smaller than the specified size is used, it may be broken by the shock from the airbag deployment.

    6. Cover the steering pad (using tires).

      1. B339270C01

        *1

        Inner Diameter

        *2

        Width

        *3

        Tires (3 or more)

        Place at least 3 tires without wheels onto the wheel and tire to which the steering pad is tied.

      2. Place a wheel and tire on top.

        Minimum tire size

        Must exceed the following dimensions

        Width

        185 mm (7.28 in.)

        Inner diameter

        360 mm (1.18 ft.)

        CAUTION:

        Do not use tires with wheels except for on the top and bottom.

        Note:
        • The tires and wheel may be damaged by the airbag deployment, so use unneeded tires and wheels.

        • Do not place the SST connector under the tire because it could be damaged.

      3. B105087

        Tie the tires together with the 2 wires.

        CAUTION:

        Make sure that the wires are tight. Looseness in the wires results in the tires breaking loose when the airbag is deployed.

    7. Deploy the airbag.

      1. B339271C01

        *A

        Using a Cardboard Box

        *B

        Using Tires

        *1

        Battery

        *2

        Steering Pad

        *a

        10 m or more

        Connect the red clip of SST to the positive (+) battery terminal and the black clip of SST to the negative (-) battery terminal.

      2. Check that no one is within a 10 m (32.8 ft.) radius of the wheel to which the steering pad is tied.

      3. Press the SST activation switch and deploy the airbag.

        CAUTION:

        Before deployment, make sure that no one is near the airbag.

        Tip:

        The airbag is deployed as the LED of the SST activation switch comes on.

    8. Dispose of the steering pad.

      CAUTION:
      • The steering pad becomes extremely hot when the airbag is deployed, so do not touch it for at least 30 minutes after deployment.

      • Use gloves and safety glasses when handling a steering pad with a deployed airbag.

      • Do not apply water etc. to a steering pad with a deployed airbag.

      • Always wash your hands with water after completing the operation.

      1. Remove the steering pad from the wheel.

      2. Place the steering pad in a plastic bag, tie it tightly and dispose of it according to local regulations.