REAR ACCELERATION SENSOR INSPECTION

PROCEDURE


  1. INSPECT REAR ACCELERATION SENSOR


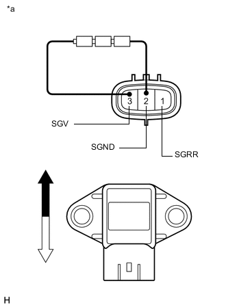
    1. Connect 3 1.5 V dry cell batteries in series.

    2. Connect a positive (+) lead from the batteries to terminal 3 (SGV) and a negative (-) lead to terminal 2 (SGND).

    3. A01OD38C04
      *a

      Component without harness connected

      (Rear Acceleration Sensor)

      B008GAS Top
      B008GGT Bottom

      Measure the voltage according to the value(s) in the table below.

      Standard Voltage
      Tester Connection Condition Specified Condition
      1 (SGRR) - 2 (SGND) Sensor stationary Approx. 2.3 V
      Sensor vibrating vertically Changes between approx. 0.9 and 3.6 V

      Note


      • Do not apply a voltage of more than 6 V.

      • Do not drop the front acceleration sensor. If it is dropped, replace it with a new one.

      • Never place the front acceleration sensor upside down.

      Tech Tips

      When the acceleration sensor is tilted, it may output a different value.