ПЕРЕДНЯЯ СТОЙКА КУЗОВА ОТРЕЗАЕМЫЕ И СТЫКУЕМЫЕ СМЕННЫЕ ЧАСТИ
-
Со снятым нижним угловым соединением передней стойки кузова.
Сварка сверхвысокопрочной стали 980 МПа
При сварке сверхвысокопрочной стали соблюдайте условия сварки, чтобы гарантировать достаточную прочность сварного шва (при ремонте данной модели).
*1: при сваривании 2 панелей, в том числе из сверхвысокопрочной стали 980 МПа.
Точечная сварка
Сила давления
2940 Н (300 кгс, 661 фунт-сила)
Сварочный ток
10000 A
Время сварки
18 цикл. (0,30 с)
Сварка электрозаклепками
Диаметр электрозаклепки
10 мм (0,39 дюйма)
Тип проволоки
AWS A5,18 ER70S-3
Защитный газ
Активный газ для сварки металлическим электродом
*2: при сваривании более 3 панелей, в том числе из сверхвысокопрочной стали 980 МПа (При приваривании электрозаклепками третьей панели к 2 панелям, которые сварены с соблюдением вышеприведенных условий.)
Сварка электрозаклепками
Диаметр электрозаклепки
Такой же, как в стандартном способе (см. введение)
Тип проволоки
AWS A5,18 ER70S-3
Защитный газ
Активный газ для сварки металлическим электродом
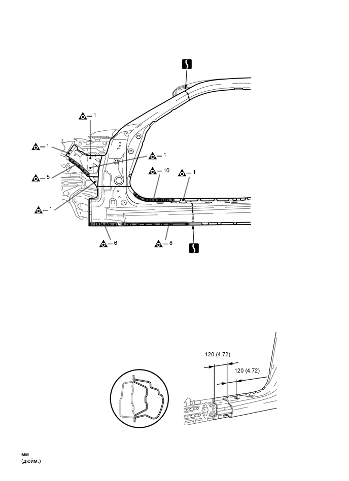
СНЯТИЕ
Значения символов

Точки сварки при снятии

Точки сварки при снятии

Точки сварки при снятии

Обрежьте, например, с помощью шлифовальной машины

Место разрезания и соединения
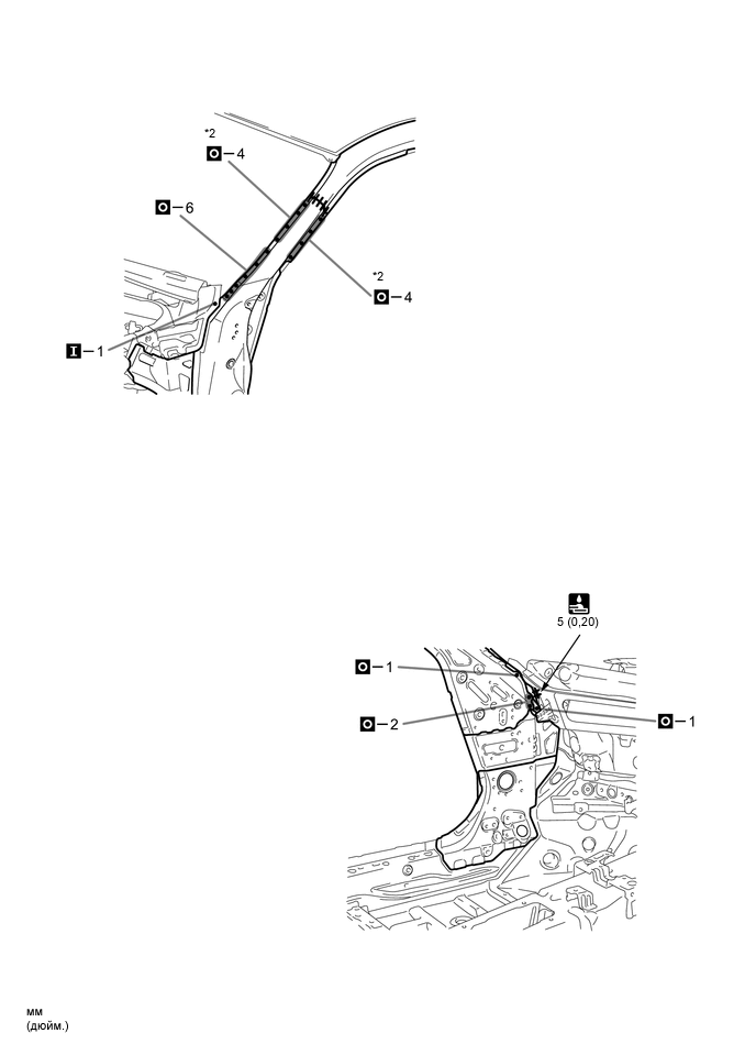
УСТАНОВКА
Значения символов

Точечная сварка

Сварка электрозаклепкой

Сварка электрозаклепкой

Сварка электрозаклепкой

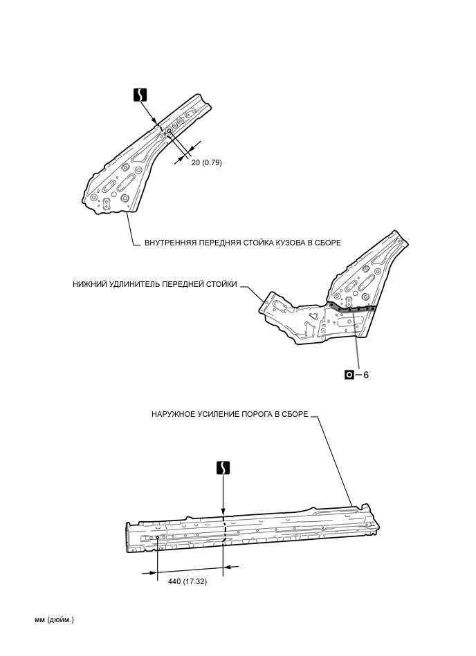
Место разрезания и соединения

Угловой сварной шов

Стыковой сварной шов

Герметик для кузова
ТОЧКА СНЯТИЯ
Никогда не сваривайте встык и не производите ремонт с применением нагрева, поскольку тепло снижает прочность участков, где используется сверхвысокопрочная сталь (см. введение).
ТОЧКА УСТАНОВКИ
Проверьте сопряжение новых деталей с прилегающими деталями кузова перед сваркой. От того, насколько правильно сопрягаются детали друг с другом, будет зависеть после сборки внешний вид узла и всего автомобиля.
Установите не закрепляя новые детали и измерьте необходимые размеры в соответствии со схемой измерений (См. размеры кузова.)
Если целая запасная часть не нужна, снимите ту часть запасной части, которая требуется.
Перед тем, как установить новые детали, нанесите герметик для кузова.
Tip:Наносите герметик для кузова в виде равномерного по толщине непрерывного валика.
При сваривании деталей *1 и *2 соблюдайте условия сварки, чтобы гарантировать достаточную прочность сварного шва. (см. введение).
Прежде чем предварительно установить новые детали, приварите внутреннюю переднюю стойку кузова в сборе и нижний удлинитель передней стойки в стандартных точках сварки.
Приваривая деталь *3, проделайте отверстие в новой детали для электрозаклепки и приварите панель, расположив ее полностью позади.
После приваривания нижней внутренней передней стойки кузова к кузову установите внутреннюю переднюю стойку кузова в сборе и нижний удлинитель передней стойки.
После приваривания нижней внутренней передней стойки кузова, внутренней передней стойки кузова в сборе и нижнего удлинителя передней стойки к кузову установите наружное усиление порога в сборе.
После приваривания нижней внутренней передней стойки кузова, внутренней передней стойки кузова в сборе, нижнего удлинителя передней стойки и наружного усиления порога в сборе к кузову установите нижнее усиление передней стойки кузова в сборе.
После приваривания нижней внутренней передней стойки кузова, внутренней передней стойки кузова в сборе, нижнего удлинителя передней стойки, наружного усиления порога в сборе и нижнего усиления передней стойки кузова в сборе к кузову установите верхнюю наружную переднюю стойку кузова и заднюю наружную панель порога.
После сварки нанесите герметик для кузова на соответствующие детали (См. раздел "Лакокрасочное покрытие".)
После нанесения верхнего слоя покрытия нанесите антикоррозийное средство на сварные точки несущих рабочую нагрузку швов замкнутого профиля с внутренней стороны панели.