НАРУЖНАЯ ПАНЕЛЬ ЗАДНЕЙ КОЛЕСНОЙ НИШИ ЗАМЕНА УЗЛОВ

A01IEAH


  1. СНЯТИЕ

    Значения символов
    B006JOY Точки сварки при снятии
    B006JNW Точки сварки при снятии
    B006JQU Точки сварки при снятии

    1. Разрежьте панель приблизительно таким образом, чтобы можно было добраться до герметика. Разрежьте герметик с помощью зубила таким образом, чтобы можно было снять панель.

      Tech Tips

      В случае, если герметик не удается снять с помощью зубила, прогрейте герметик с помощью промышленного теплового пистолета или газовой горелки, следя за тем, чтобы не деформировать панель в результате перегрева.

      A01IEDMC01
      *A Левая сторона - -
      B006JTL Герметик - -
    2. Разрежьте панель приблизительно таким образом, чтобы можно было добраться до герметика. Разрежьте герметик с помощью зубила таким образом, чтобы можно было снять панель.

      Tech Tips

      В случае, если герметик не удается снять с помощью зубила, прогрейте герметик с помощью промышленного теплового пистолета или газовой горелки, следя за тем, чтобы не деформировать панель в результате перегрева.

      A01IEGAC01
      *A Правая сторона - -
      B006JTL Герметик - -
  2. УСТАНОВКА

    Значения символов
    B006JU9 Сварка электрозаклепкой
    B006JR6 Сварка электрозаклепкой
    B006JRV Сварка электрозаклепкой
    A01IEG9 Сборочная метка

    1. Нанесите герметик-фиксатор (3MTMAutomixTMPanel Bonding Adhesive #8115).

      Tech Tips


      • Нанесите тонкий слой герметика вокруг мест сварки электрозаклепок.

      • Нанесите на панели достаточное количество герметика.

      A01IEC7C01
      *A Левая сторона - -
      B006JTL Герметик - -
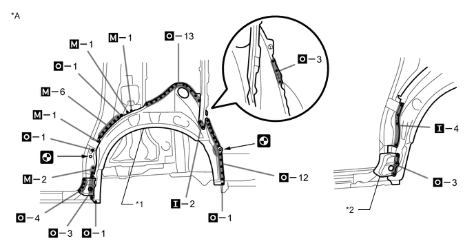
    2. При установке новых деталей совместите стандартные установочные отверстия на наружной и внутренней панелях.

      A01IE95C01
      *A Левая сторона - -
      *1 НАРУЖНАЯ ПАНЕЛЬ ЗАДНЕЙ КОЛЕСНОЙ АРКИ *2 ВНУТРЕННЯЯ ПЛАСТИНА НИЖНЕЙ НАПРАВЛЯЮЩЕЙ № 3
    3. Нанесите герметик-фиксатор (3MTMAutomixTMPanel Bonding Adhesive #8115).

      Tech Tips


      • Нанесите тонкий слой герметика вокруг мест сварки электрозаклепок.

      • Нанесите на панели достаточное количество герметика.

      A01IECZC01
      *A Правая сторона - -
      B006JTL Герметик - -
    4. При установке новых деталей совместите стандартные установочные отверстия на наружной и внутренней панелях.

      A01IE5UC01
      *A Правая сторона - -
      *1 НАРУЖНАЯ ПАНЕЛЬ ЗАДНЕЙ КОЛЕСНОЙ АРКИ *2 ВНУТРЕННЯЯ ПЛАСТИНА НИЖНЕЙ НАПРАВЛЯЮЩЕЙ № 3
    5. После сварки нанесите герметик для кузова и грунтовочное покрытие на соответствующие детали (См. раздел "Лакокрасочное покрытие".)

    6. После нанесения верхнего слоя покрытия нанесите антикоррозийное средство на сварные точки несущих рабочую нагрузку швов замкнутого профиля с внутренней стороны панели.