УСТАНОВОЧНЫЙ СТАНДАРТ / МЕТОДИКА РЕГУЛИРОВКИ РЕГУЛИРОВКА

  1. Убедитесь, что измеренные зазоры на участках с *a по *e находятся в соответствующих номинальных диапазонах.

    1. ПРОВЕРЬТЕ КАПОТ В СБОРЕ

      B313104E01
      Table 1. Номинальный зазор

      Область

      Расстояние

      Область

      Измерение

      *a

      5,8-9,8 мм (0,2283-0,3858 дюйма)

      *b

      3,0 - 7,0 мм (0,1181 - 0,2756 дюйма)

      *c

      -2,0 - 2,0 мм (-0,0787 - 0,0787 дюйма)

      *d

      2,0 - 5,0 мм (0,0787 - 0,1969 дюйма)

      *e

      -2,0 - 1,0 мм (-0,0787 - 0,0394 дюйма)

      -

      -

  2. ОТРЕГУЛИРУЙТЕ КАПОТ В СБОРЕ

    B312163
    1. Отрегулируйте капот по горизонтали и вертикали.

      1. Ослабьте 4 болта петель капота.

      2. Отрегулируйте зазор между капотом и передним крылом, двигая капот.

      3. После регулировки затяните 4 болта петель.

        18 Н*м

        184 кгс*см

        13 фунт-сила-футов

    2. B312164

      Отрегулируйте высоту передней части капота с помощью резиновых амортизаторов.

      1. Отрегулируйте 2 резиновых амортизатора таким образом, чтобы капот и крыло оказались на одном уровне.

        Tip:

        Отрегулируйте высоту передней части капота, поворачивая 2 резиновых амортизатора.

    3. B314955

      Отрегулируйте замок капота.

      1. Ослабьте 3 болта.

      2. Отрегулируйте положение замка капота, чтобы защелка входила в замок равномерно.

      3. B313112E02

        Затяните 3 болта после регулировки в порядке, показанном на рисунке.

        33 Н*м

        337 кгс*см

        24 фунт-сила-фута

      4. Убедитесь, что защелка свободно входит в замок.

  3. ПРОВЕРЬТЕ ПЕРЕДНЮЮ ДВЕРЬ

    1. Убедитесь, что измеренные зазоры на участках *a по *j находятся в соответствующих номинальных диапазонах.

      B309230E01
      Table 2. Номинальный зазор

      Область

      Расстояние

      Область

      Измерение

      *a

      0,5 мм (0,0197 дюйма)

      *b

      7,0 мм (0,2756 дюйма)

      *c

      5,0 мм (0,1969 дюйма)

      *d

      6,7 мм (0,2638 дюйма)

      *e

      13,5 - 16,5 мм (0,5315 - 0,6496 дюйма)

      *f

      2,5 - 5,5 мм (0,0984 - 0,2165 дюйма)

      *g

      0,0 - 1,5 мм (0,0 - 0,0591 дюйма)

      *h

      4,8 - 7,8 мм (0,1890 - 0,3071 дюйма)

      *i

      3,1 - 5,6 мм (0,122 - 0,220 дюйма)

      *j

      -1,0 - 1,5 мм (-0,0394 - 0,0591 дюйма)

      Table 3. Обозначения на рисунке

      *1

      Переднее стекло

      *2

      Передняя дверь

  4. ОТРЕГУЛИРУЙТЕ СТЕКЛО ПЕРЕДНЕЙ ДВЕРИ

    B422182E03
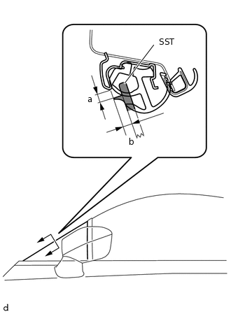
    1. Вставьте SST, как показано на рисунке.

      09812-18010

    2. Используя SST, убедитесь, что измеренные зазоры на участках с "a" по "b" находятся в соответствующих номинальных диапазонах.

      09812-18010

      Номинальный зазор

      Область

      Расстояние

      a

      5,0 мм (0,1969 дюйма)

      b

      6,7 мм (0,2638 дюйма)

      Table 4. Обозначения на рисунке

      *a

      400 мм (15,7 дюйма)

    3. B312234

      Отрегулируйте положение стекла передней двери так, чтобы его установочные размеры оказались в пределах допустимых значений.

    4. Ослабьте гайку крепления стопора форточки передней двери и, смещая стопор, отрегулируйте положение стекла.

    5. После регулировки затяните гайку крепления стопора форточки передней двери, закрепляя стопор.

      7,5 Н*м

      76 кгс*см

      66 фунт-сила-дюймов

    6. B312235

      Ослабьте 2 гайки крепления задней нижней рамы передней двери и отрегулируйте положение стекла.

    7. После регулировки затяните 2 гайки крепления задней нижней рамы передней двери.

      14 Н*м

      143 кгс*см

      10 фунт-сила-футов

    8. B422183

      Ослабьте болт на внутреннем стабилизаторе стекла двери.

    9. B422184

      Ослабьте болт крепления внутреннего стабилизатора стекла двери и отрегулируйте положение стекла.

    10. После регулировки затяните 2 гайки крепления задней нижней рамы передней двери.

    11. После регулировки затяните 2 гайки крепления задней нижней рамы передней двери.

      14 Н*м

      143 кгс*см

      10 фунт-сила-футов

    12. B422185E02

      Затяните болт на внутреннем стабилизаторе стекла двери.

      1. Опустите стекло передней двери приблизительно на 20,0 мм (0,7874 дюйма).

        Table 5. Обозначения на рисунке

        *a

        20,0 мм (0,7874 дюйма)

      2. Прижмите стекло передней двери в направлении к наружной стороне автомобиля.

      3. Прижимая стекло передней двери и внутренний стабилизатор стекла двери в направлении к наружной стороне автомобиля, затяните болт на внутреннем стабилизаторе стекла двери.

        7,5 Н*м

        76 кгс*см

        66 фунт-сила-дюймов

    13. B370942E04

      Используя SST, убедитесь, что измеренные зазоры на участках с "a" по "b" находятся в соответствующих номинальных диапазонах.

      09812-18020

      Номинальный зазор

      Область

      Расстояние

      a

      2,5 - 5,5 мм (0,0984 - 0,2165 дюйма)

      b

      5,2 - 8,2 мм (0,2047 - 0,3228 дюйма)

    14. B312236

      Отрегулируйте положение успокоителя передней двери так, чтобы установочные размеры соответствовали справочным значениям.

    15. Ослабьте гайку на успокоителе передней двери и отрегулируйте положение успокоителя передней двери.

    16. После регулировки затяните гайку крепления форточки передней двери.

      14 Н*м

      143 кгс*см

      10 фунт-сила-футов

  5. ОТРЕГУЛИРУЙТЕ ПЕРЕДНЮЮ ДВЕРЬ

    B359232
    1. Ослабьте болты крепления петли со стороны кузова и отрегулируйте положение двери.

    2. Ослабьте болты крепления петли со стороны двери и отрегулируйте положение двери.

    3. После регулировки затяните болты крепления петли к двери.

      25 Н*м

      255 кгс*см

      18 фунт-сила-футов

    4. B309232

      Отрегулируйте положение защелки, слегка ослабив крепежные винты защелки и подбив ее молотком с пластиковым покрытием.

    5. После регулировки затяните винты крепления защелки.

      18 Н*м

      184 кгс*см

      13 фунт-сила-футов

  6. ПРОВЕРЬТЕ ДВЕРЬ БАГАЖНОГО ОТДЕЛЕНИЯ В СБОРЕ

    1. Убедитесь, что измеренные зазоры на участках от *a до *f находятся в соответствующих номинальных диапазонах.

      B310904E01

      Номинальный зазор

      Область

      Расстояние

      Область

      Измерение

      *a

      8,2 мм (0,3228 дюйма)

      *b

      2,0 - 5,0 мм (0,0787 - 0,1969 дюйма)

      *c

      -2,0 - 1,0 мм (-0,0787 - 0,0394 дюйма)

      *d

      5,8 - 10,2 мм (0,2283 - 0,4016 дюйма)

      *e

      4,3 - 7,3 мм (0,1693 - 0,2874 дюйма)

      *f

      -2,0 - 1,0 мм (-0,0787 - 0,0394 дюйма)

  7. ОТРЕГУЛИРУЙТЕ ДВЕРЬ БАГАЖНОГО ОТДЕЛЕНИЯ В СБОРЕ

    B310950
    1. Отрегулируйте положение двери по горизонтали и вертикали, ослабив болты крепления петли со стороны двери.

      18 Н*м

      184 кгс*см

      13 фунт-сила-футов

    2. B310951

      При регулировке положения заднего края левой или правой двери или регулировке доводчика двери багажного отделения следует предварительно ослабить болты.

    3. Отрегулируйте положение защелки, подбив ее с помощью молотка и латунного стержня.

    4. После регулировки затяните 2 болта крепления доводчика двери багажного отделения.

      7,5 Н*м

      76 кгс*см

      66 фунт-сила-дюймов

Tip:
  • Порядок выполнения работ одинаков для моделей с левосторонним и правосторонним рулевым управлением.

  • Ниже рассмотрен порядок выполнения работ для моделей с левосторонним рулевым управлением.

  • Центровочные болты применяются для крепления петель капота и замка капота. Не допускается регулировка положения капота и замка капота с установленными центровочными болтами. При регулировке замените центровочные болты стандартными.

Tip:
  • Порядок выполнения работ для правой и левой сторон одинаков.

  • Ниже описан порядок работ для левой стороны.

  • Центровочные болты применяются для крепления дверных петель к кузову автомобиля и к двери. Не допускается регулировка положения двери с установленными центровочными болтами. При регулировке замените центровочные болты стандартными.

Tip:

Центровочные болты применяются для крепления дверных петель к кузову автомобиля и к двери. Не допускается регулировка положения двери с установленными центровочными болтами. При регулировке замените центровочные болты стандартными.