КРОНШТЕЙН КРЕПЛЕНИЯ ПОЛКИ БАГАЖНОГО ОТДЕЛЕНИЯ № 3 ЗАМЕНА УЗЛОВ
Порядок выполнения работ для правой и левой сторон одинаков.
Ниже рассмотрен порядок выполнения работ для правой стороны.
СНЯТИЕ
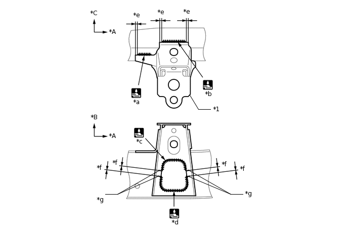
Значения символов

Обрежьте, например, с помощью шлифовальной машины
*A
ПЕРЕДНЯЯ СТОРОНА
*B
ВЕРХНЯЯ СТОРОНА
*C
Левая сторона
-
-
УСТАНОВКА
Значения символов

Угловой сварной шов
Установите не закрепляя новые детали и измерьте необходимые размеры в соответствии со схемой измерений (См. размеры кузова.)
Перед выполнением сварочных работ убедитесь, что созданы все необходимые условия для сварки.
Перед установкой верхней части кузова убедитесь, что она совмещена с рамой.
Во избежание тепловой деформации приварите правую и левую сторону каждой детали перед переходом к следующей детали.
*A
ПЕРЕДНЯЯ СТОРОНА
*B
ВЕРХНЯЯ СТОРОНА
*C
Левая сторона
-
-
*1
КРОНШТЕЙН ОПОРЫ КУЗОВА № 5
-
-
*a
24 мм (0,94 дюйма)
*b
51 мм (2,01 дюйма)
*c
82 мм (3,23 дюйма)
*d
108 мм (4,25 дюйма)
*e
5 +/- 5 мм (0,20 +/- 0,20 дюйма)
*f
0 +/- 5 мм (0 +/- 0,20 дюйма)
*g
Идентификационная сварочная метка
-
-
После нанесения верхнего слоя покрытия нанесите антикоррозийное средство на сварные точки несущих рабочую нагрузку швов замкнутого профиля с внутренней стороны панели.