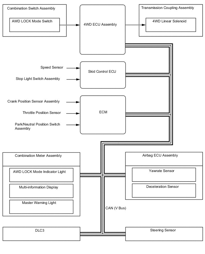
DYNAMIC TORQUE CONTROL AWD SYSTEM

A01GGENE01