RELAY ON-VEHICLE INSPECTION

PROCEDURE

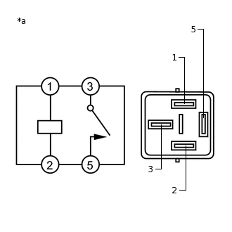
  1. INSPECT ELECTRIC POWER STEERING RELAY

    1. C223718C05

      *a

      Electric Power Steering Relay

      Measure the resistance according to the value(s) in the table below.

      Standard Resistance

      Tester Connection

      Condition

      Specified Condition

      5 - 3

      Voltage is not applied between terminals 1 and 2

      10 kΩ or higher

      5 - 3

      Voltage is applied between terminals 1 and 2

      Below 1 Ω

      1 - 3

      Voltage is not applied between terminals 1 and 2

      10 kΩ or higher

      2 - 5

      Voltage is not applied between terminals 1 and 2

      10 kΩ or higher

      1 - 2

      Voltage is not applied between terminals 1 and 2

      100 to 300 Ω