DIFFERENTIAL SYSTEM


  1. OUTLINE


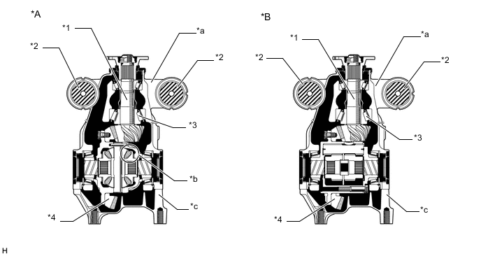
    1. The rear differential has been designed in accordance with model FD20A rear differential and model FD20AT torque-sensitive limited slip differential (torsen LSD) specifications respectively.

    2. A conical spring (pre-torque mechanism) has been adopted in the differential for model FD20A, improving startability on roads with low μ.

    3. Low-viscosity multi-grade oil has been adopted for FD20A and FD20AT differentials to lower resistance to stirring and bearing rolling resistance, out of concern for reducing fuel consumption.

    4. Traction loss has been reduced by optimizing differential limitation power with model FD20AT, improving vehicle controllability.

    5. A lightweight carrier with optimized thickness and a streamlined rib is used.

    6. For the FD20A and FD20AT type rear differential, lightweight has been achieved by reducing the thickness of the rear differential carrier cover, and by changing the thickness of its ribs.

    7. High-efficient tapered roller bearing is used for the rear drive pinion rear tapered roller bearing to reduce friction loss, thus improving fuel consumption.

    8. For the M/T vehicle, the final gear ratio was set to 4.3 to improve acceleration performance.*

      Tech Tips

      *: Models for Australia and New Zealand package.

      A004GURE02
      Text in Illustration
      *A FD20A Type Differential *B FD20AT Type Differential
      *1 Differential Drive Pinion *2 Differential Mount
      *3 High-efficient Tapered Roller Bearing *4 Differential Ring Gear
      *a Lightweight Carrier *b Differential Pre-torque Mechanism
      *c Lightweight Carrier Cover - -
  2. SPECIFICATION

    Grade BASE HIGH
    Transmission Type 6MT 6AT 6MT 6AT
    Differential Type FD20AT FD20A

    FD20AT*3

    FD20AT
    Gear Type Hypoid Gear
    Differential Gear Ratio

    4.100*2/4.300*3

    4.100

    4.100*2/4.300*3

    4.100
    Drive Pinion No. of Teeth 10
    Ring Gear No. of Teeth

    41*2/43*3

    41

    41*2/43*3

    41
    No. of Differential Pinion 8 2 8
    Oil Viscosity SAE 75W-85
    Oil Grade API GL-5
    Oil Type TOYOTA Genuine Differential Gear Oil LX TOYOTA Genuine Differential Gear Oil LT TOYOTA Genuine Differential Gear Oil LX
    Oil Capacity Liters (US qts, Imp. qts)

    1.15

    (1.22, 1.01)

    Weight (Reference)*1

    kg (lb)

    33.8

    (74.5)

    31.5

    (69.4)

    33.8

    (74.5)


    • *1: The figure shown is the weight of the part with fluid.

    • *2: Except models for Australia and New Zealand package.

    • *3: Models for Australia and New Zealand package.

    Tech Tips


    • FD20AT torque-sensitive limited slip differential (torsen LSD) equipped vehicles.

    • Never apply drive power when only one rear wheel has contact with the road, and never spin a single wheel in order to perform on-the-car wheel balancing. Drive power is transferred to the other side of the stopped wheel through the torsen LSD structurally, and this may cause the vehicle to lurch forward suddenly. It also exerts stress on the differential mechanism and may result in damage.

    • Use the same type and size of wheel and tire on both rear wheels, and use tires with minimal variance in diameter between left and right caused by wear.