СИСТЕМА ЗАПУСКА И ОСТАНОВА, диагностический DTC: P1540

Код DTC Наименование DTC
P1540 Цепь датчика усилителя тормозной системы (обрыв или короткое замыкание)

ОПИСАНИЕ

ЭБУ запуска и останова двигателя определяет изменения давления в усилителе тормозной системы по сигналу напряжения от датчика разрежения в усилителе тормозной системы.

Если ЭБУ запуска и останова двигателя определяет, что сигнал, полученный от датчика разрежения, ненормален, он сохраняет DTC P1540 и инициирует мигание контрольной лампы отключения системы запуска и останова.

A280541E05

№ DTC

Неисправность

Условие обнаружения DTC

Неисправный участок

Индикация предупреждения

Память

P1540

Цепь датчика усилителя тормозной системы (обрыв или короткое замыкание)

Оба следующих условия выполняются в течение 2 с или более (логика диагностирования за 1 поездку):

  • Обрыв или короткое замыкание в цепи датчика разрежения

  • Питание включено (IG)

  • Датчик разрежения в сборе

  • ЭБУ запуска и останова двигателя

  • Жгут проводов или разъем

Мигает

Код DTC сохраняется

ПРОВЕРОЧНАЯ ПОЕЗДКА

Tip:

Коды DTC системы запуска и останова не удаляются, даже если неисправность устранена. Поэтому после устранения неисправности необходимо самостоятельно удалить коды DTC.

Нажмите здесьClick here

  1. ПРОВЕРКА ПОСЛЕ УСТРАНЕНИЯ НЕИСПРАВНОСТИ

    Tip:
    • Когда провод отсоединяется от вывода аккумуляторной батареи, работа системы запуска и останова запрещается до завершения режима восстановительной подзарядки.

      В этом случае необходимо дать автомобилю поработать на холостому ходу, чтобы завершить режим восстановительной подзарядки. Режим восстановительной подзарядки завершается, если значение параметра Data List "Status of Battery Charge Control" изменяется со значения "Refresh Charge Mode". (Как правило, режим восстановительной подзарядки завершается при работе двигателя на холостом ходу в течение от 5 до 60 минут при температуре электролита аккумуляторной батареи не менее 11°C (52°F).)

    • Если GTS не доступен и параметр режима Data List "Status of Battery Charge Control" невозможно проверить, зарядите аккумуляторную батарею, двигатель работает на холостом ходу в течение 5 – 60 мин или движения автомобиля, а затем совершите поездку на автомобиле и убедитесь, что система запуска и останова работает.

      Если двигатель запускается при открытом капоте, система определяет, что произошел запуск от внешнего источника. По этой причине убедитесь, что капот закрыт перед запуском двигателя и поездкой на автомобиле.

    • После завершения режима восстановительной подзарядки выключите зажигание и подождите не менее 30 с, а затем снова запустите двигатель. Если автомобиль снова переходит в режим восстановительной подзарядки во время работы двигателя на холостом ходу, первоначальный режим восстановительной подзарядки не был завершен должным образом, поэтому дождитесь полного завершения режима восстановительной подзарядки.

    • После прогрева двигателя дайте ему поработать на холостом ходу в течение 3 мин и убедитесь, что частота вращения коленчатого вала двигателя отличается от заданной частоты вращения не более чем на 50 об/мин.

    1. Подключите GTS к DLC3.

    2. Включите зажигание (IG) и включите GTS.

    3. Сбросьте коды DTC.

      Нажмите здесьClick here

      Powertrain > Stop and Start > Clear DTCs

    4. Запустите двигатель и дайте ему поработать на холостом ходу не менее 15 с.

    5. Остановите двигатель и включите зажигание (IG).

    6. Включите GTS.

    7. Войдите в следующие меню: Powertrain / Stop and Start / Data List / Brake Boost Pressure.

      Powertrain > Stop and Start > Data List

      Информация на дисплее прибора

      Brake Boost Pressure

    8. Несколько раз нажмите педаль тормоза и убедитесь, что значение Brake Boost Pressure (давление усилителя тормозной системы) изменяется.

    9. Убедитесь, что коды DTC не выводятся.

      Нажмите здесьClick here

      Powertrain > Stop and Start > Trouble Codes

  2. ПРОВЕРКА РАБОТЫ СИСТЕМЫ ЗАПУСКА И ОСТАНОВА

    Tip:
    • Когда провод отсоединяется от вывода аккумуляторной батареи, работа системы запуска и останова запрещается до завершения режима восстановительной подзарядки.

      В этом случае необходимо дать автомобилю поработать на холостому ходу, чтобы завершить режим восстановительной подзарядки. Режим восстановительной подзарядки завершается, если значение параметра Data List "Status of Battery Charge Control" изменяется со значения "Refresh Charge Mode". (Как правило, режим восстановительной подзарядки завершается при работе двигателя на холостом ходу в течение от 5 до 60 минут при температуре электролита аккумуляторной батареи не менее 11°C (52°F).)

    • Если GTS не доступен и параметр режима Data List "Status of Battery Charge Control" невозможно проверить, зарядите аккумуляторную батарею, двигатель работает на холостом ходу в течение 5 – 60 мин или движения автомобиля, а затем совершите поездку на автомобиле и убедитесь, что система запуска и останова работает.

      Если двигатель запускается при открытом капоте, система определяет, что произошел запуск от внешнего источника. По этой причине убедитесь, что капот закрыт перед запуском двигателя и поездкой на автомобиле.

    • После завершения режима восстановительной подзарядки выключите зажигание и подождите не менее 30 с, а затем снова запустите двигатель. Если автомобиль снова переходит в режим восстановительной подзарядки во время работы двигателя на холостом ходу, первоначальный режим восстановительной подзарядки не был завершен должным образом, поэтому дождитесь полного завершения режима восстановительной подзарядки.

    1. Запустите и прогрейте двигатель.

    2. Выключите систему кондиционирования.

    3. Совершите поездку на автомобиле со скоростью 7 км/час (4,3 мили в час) или выше.

      CAUTION:

      Во время поездки в проверочном режиме соблюдайте все ограничения скорости и правила дорожного движения.

    4. Нажмите на педаль тормоза и остановите двигатель.

    5. Дайте двигателю остановится под управлением системы запуска и останова. (Поддерживайте рычаг переключения передач в положении D.)

    6. Отпустите педаль тормоза, когда рычаг переключения передач находится в положении D, чтобы запустить двигатель.

СХЕМА ЭЛЕКТРИЧЕСКИХ СОЕДИНЕНИЙ

A347857E12

ПРЕДОСТЕРЕЖЕНИЕ / ПРИМЕЧАНИЕ / УКАЗАНИЕ

Note:
  • Перед тем, как заменять ЭБУ запуска и останова двигателя, считайте число запусков стартера и общее количество запусков двигателя и запишите их в новый ЭБУ запуска и останова двигателя.

    Нажмите здесьClick here

  • После замены ЭБУ запуска и останова двигателя или блока управления системой кондиционирования выполните сброс и настройте данные системы кондиционирования в ЭБУ запуска и останова двигателя.

    Нажмите здесьClick here

  • После замены ЭБУ запуска и останова двигателя, ЭБУ системы SRS в сборе*1 или датчика замедления и рысканья*2 выполните удаление и калибровку "нуля" датчика замедления в ЭБУ запуска и останова двигателя.

    Нажмите здесьClick here

    • *1: для моделей с щитком приборов с оригинальной системой подсветки "Optitron"

    • *2: для моделей с щитком приборов с TFT-дисплеем

Tip:
  • Коды DTC системы запуска и останова не удаляются, даже если неисправность устранена. Поэтому после устранения неисправности необходимо самостоятельно удалить коды DTC.

    Нажмите здесьClick here

  • Перед диагностикой считайте данные фиксированного набора параметров с помощью GTS. Одновременно с записью в память кода DTC состояние системы сохраняется в данных фиксированного набора параметров. Эта информация может быть полезна при поиске и устранении неисправностей.

    Нажмите здесьClick here

ПОРЯДОК ВЫПОЛНЕНИЯ

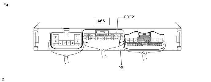
  1. ПРОВЕРЬТЕ ДАТЧИК РАЗРЕЖЕНИЯ В СБОРЕ (НАПРЯЖЕНИЕ НА КОНТАКТЕ РВ)

    A346331C76

    *a

    Устройство с подсоединенным жгутом проводов

    (ЭБУ запуска и останова двигателя)

    -

    -

    1. Включите питание (IG).

    2. Измерьте напряжение в соответствии со значениями, приведенными в таблице.

      Номинальное напряжение

      Подключение диагностического прибора

      Условие

      Номинальное значение

      A66-13 (PB) - A66-3 (BRE2)

      Зажигание включено (IG)

      Более 0,6 В или менее 4,7 В

    Result

    Перейти к

    OK

    НЕ СООТВ.

    OK

    ВЫПОЛНИТЕ ПРОВЕРКУ С ИМИТАЦИЕЙ УСЛОВИЙ ВОЗНИКНОВЕНИЯ НЕИСПРАВНОСТИ

    Нажмите здесьClick hereClick hereClick hereClick here

    NG
  2. ПРОВЕРЬТЕ ЖГУТ ПРОВОДОВ И РАЗЪЕМ (ЭБУ ЗАПУСКА И ОСТАНОВА ДВИГАТЕЛЯ – ДАТЧИК РАЗРЕЖЕНИЯ В СБОРЕ)

    1. Отсоедините разъем A66 ЭБУ запуска и останова двигателя.

    2. Отсоедините разъем A67 датчика разрежения в сборе.

    3. Измерьте сопротивление в соответствии со значениями, приведенными в таблице ниже.

      Номинальное сопротивление

      Подключение диагностического прибора

      Условие

      Заданные условия

      A66-13 (PB) - A67-2 (PB)

      Всегда

      Менее 1 Ом

      A66-14 (BRVC) - A67-3 (VC)

      Всегда

      Менее 1 Ом

      A66-3 (BRE2) - A67-1 (E2)

      Всегда

      Менее 1 Ом

      A66-13 (PB) - масса

      Всегда

      10 кОм или более

      A66-14 (BRVC) - масса

      Всегда

      10 кОм или более

      A66-3 (BRE2) - масса

      Всегда

      10 кОм или более

      A67-2 (PB) - масса

      Всегда

      10 кОм или более

      A67-3 (VC) - масса

      Всегда

      10 кОм или более

      A67-1 (E2) - масса

      Всегда

      10 кОм или более

    Результат

    Перейти к

    OK

    НЕ СООТВ.

    НЕ СООТВ.

    ОТРЕМОНТИРУЙТЕ ИЛИ ЗАМЕНИТЕ ЖГУТ ПРОВОДОВ ИЛИ РАЗЪЕМ

    СООТВ
  3. ПРОВЕРЬТЕ ЭБУ ЗАПУСКА И ОСТАНОВА ДВИГАТЕЛЯ (НАПРЯЖЕНИЕ НА КОНТАКТЕ BRVC)

    A346331C77

    *a

    Устройство с подсоединенным жгутом проводов

    (ЭБУ запуска и останова двигателя)

    -

    -

    1. Включите питание (IG).

    2. Измерьте напряжение в соответствии со значениями, приведенными в таблице.

      Номинальное напряжение

      Подключение диагностического прибора

      Условие

      Номинальное значение

      A66-14 (BRVC) - A66-3 (BRE2)

      Зажигание включено (IG)

      4,75 - 5,25 В

    Result

    Перейти к

    OK

    НЕ СООТВ.

    НЕ СООТВ.

    ЗАМЕНИТЕ ЭБУ ЗАПУСКА И ОСТАНОВА ДВИГАТЕЛЯ

    Нажмите здесьClick hereClick here

    СООТВ
  4. ЗАМЕНИТЕ ДАТЧИК РАЗРЕЖЕНИЯ В СБОРЕ

    1. Замените датчик разрежения в сборе.

      Нажмите здесьClick here

    Результат

    Перейти к

    СЛЕДУЮЩЕЕ -

    СЛЕДУЮЩЕЕ -
  5. УДАЛИТЕ DTC

    1. Подключите GTS к DLC3.

    2. Включите зажигание (IG).

    3. Включите GTS.

    4. Войдите в следующие меню: Powertrain / Stop and Start / Trouble Codes.

    5. Удалите коды DTC.

      Powertrain > Stop and Start > Clear DTCs

    Result

    Перейти к

    СЛЕДУЮЩЕЕ -

    СЛЕДУЮЩЕЕ -
  6. ПРОВЕРЬТЕ, ВЫВОДЯТСЯ ЛИ DTC

    1. Подключите GTS к DLC3.

    2. Включите зажигание (IG).

    3. Включите GTS.

    4. Войдите в следующие меню: Powertrain / Stop and Start / Trouble Codes.

    5. Убедитесь, коды DTC не выводятся.

      Powertrain > Stop and Start > Trouble Codes

      Result

      Result

      Следующий шаг

      DTC не выводятся.

      A

      DTC P1540 выводится

      B

    А

    КОНЕЦ

    B

    ЗАМЕНИТЕ ЭБУ ЗАПУСКА И ОСТАНОВА ДВИГАТЕЛЯ

    Нажмите здесьClick hereClick here