HOW TO USE THIS MANUAL GENERAL INFORMATION
GENERAL DESCRIPTION
Repair operations can be separated mainly into the following 3 processes:
Diagnosis
Removing/Installing, Replacing, Disassembling/Reassembling, Checking and Adjusting
Final Inspection
The following procedures are omitted from this manual. However, these procedures must be performed.
Use a jack or lift to perform operations.
Clean all removed parts.
Perform a visual check before and after performing any work.
PREPARATION
Use of Special Service Tools (SST) and Special Service Materials (SSM) may be required, depending on the repair procedure. Be sure to use SST and SSM when they are required and follow the work procedure properly. A list of SST and SSM is in the "Preparation" section of this manual.
REPAIR PROCEDURES
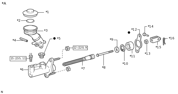
A component illustration is placed under the title where necessary.
Non-reusable parts, grease application areas, precoated parts and torque specifications are noted in the component illustrations.
The following illustration is an example.
*A
Example:
-
-
*1
FILTER CAP
*2
FLOAT
*3
RESERVOIR TANK
*4
SLOTTED SPRING PIN
*5
GROMMET
*6
CYLINDER
*7
PISTON
*8
PUSH ROD
*9
WASHER
*10
SNAP RING
*11
BOOT
*12
GASKET
*13
LOCK NUT
*14
CLEVIS PIN
*15
CLEVIS
*16
CLIP

N*m (kgf*cm, ft.*lbf): Specified torque
●
Non-reusable part
Torque specifications, grease application areas and non-reusable parts are emphasized in the procedures.
Tip:There are cases where such information can only be explained by using an illustration. In these cases, torque, oil and other information are described in the illustration.
Only items with key points are described in the text. What to do and other details are explained using illustrations next to the text. Both the text and illustrations are accompanied by standard values and notices.
Illustration
What to do and where to do it
Task heading
What work will be performed
Explanation text
How to perform the task
Information such as specifications and warnings, which are written in boldface text
Illustrations of similar vehicle models are sometimes used. In these cases, minor details may be different from the actual vehicle.
Procedures are presented in a step-by-step format.
SERVICE SPECIFICATIONS
Specifications are presented in boldface text throughout the manual. The specifications are also found in the "Specifications" section for reference.
TERM DEFINITIONS
CAUTION
Possibility of injury to you or other people.
NOTICE
Possibility of damage to components being repaired.
HINT
Provides additional information to help you perform repairs.
INTERNATIONAL SYSTEM OF UNITS
The units used in this manual comply with the International System of Units (SI UNIT) standard. Other units from the metric system and the English systems are also provided.
Example:
30 N*m
306 kgf*cm
22 ft.*lbf