METER / GAUGE SYSTEM Speed Signal Circuit

DTC Code DTC Name
Speed Signal Circuit

DESCRIPTION

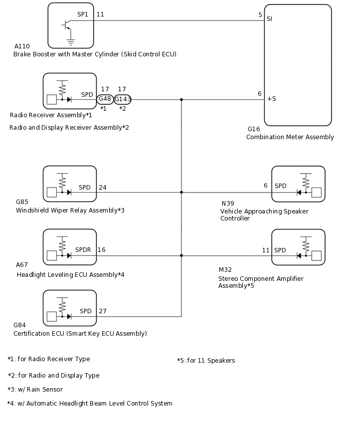
The vehicle speed signal consists of pulses sent to the combination meter assembly from the brake booster with master cylinder assembly (skid control ECU).

WIRING DIAGRAM

E396220E01

CAUTION / NOTICE / HINT

Note:
  • Before replacing the certification ECU (smart key ECU assembly), refer to the Service Bulletin.

  • When replacing the combination meter assembly, make sure to replace it with a new one.

PROCEDURE

  1. CHECK VEHICLE TYPE

    1. Check vehicle type.

    Result

    Proceed to

    for Radio and Display Type

    for Radio Receiver Type

    for Radio Receiver Type

    CHECK RADIO RECEIVER ASSEMBLYClick here

    for Radio and Display Type
  2. CHECK RADIO AND DISPLAY RECEIVER ASSEMBLY

    E179098C03

    *a

    Front view of wire harness connector

    (to Combination Meter Assembly)

    • *1: w/ Rain Sensor

    • *2: w/ Automatic Headlight Beam Level Control System

    • *3: for 11 Speakers

    1. Disconnect the G16 combination meter assembly connector.

    2. Disconnect the G85 windshield wiper relay assembly connector.*1

    3. Disconnect the A67 headlight leveling ECU assembly connector.*2

    4. Disconnect the G84 certification ECU (smart key ECU assembly) connector.

    5. Disconnect the N39 vehicle approaching speaker controller connector.

    6. Disconnect the M32 stereo component amplifier assembly connector.*3

    7. Measure the voltage according to the value(s) in the table below.

      Standard Voltage

      Tester Connection

      Switch Condition

      Specified Condition

      G16-6 (+S) - Body ground

      Power switch on (IG)

      4.5 to 14 V

    Result

    Proceed to

    OK

    NG

    NG

    CHECK HARNESS AND CONNECTOR (COMBINATION METER ASSEMBLY - RADIO AND DISPLAY RECEIVER ASSEMBLY)Click here

    OK
  3. CHECK STEREO COMPONENT AMPLIFIER ASSEMBLY

    E179098C03

    *a

    Front view of wire harness connector

    (to Combination Meter Assembly)

    Note:

    For vehicle except 11 speakers, proceed to next step.

    • *1: w/ Rain Sensor

    • *2: w/ Automatic Headlight Beam Level Control System

    1. Disconnect the G16 combination meter assembly connector.

    2. Disconnect the G143 radio and display receiver assembly connector.

    3. Disconnect the G85 windshield wiper relay assembly connector.*1

    4. Disconnect the A67 headlight leveling ECU assembly connector.*2

    5. Disconnect the G84 certification ECU (smart key ECU assembly) connector.

    6. Disconnect the N39 vehicle approaching speaker controller connector.

    7. Measure the voltage according to the value(s) in the table below.

      Standard Voltage

      Tester Connection

      Switch Condition

      Specified Condition

      G16-6 (+S) - Body ground

      Power switch on (IG)

      4.5 to 14 V

    Result

    Proceed to

    OK

    NG

    NG

    CHECK HARNESS AND CONNECTOR (COMBINATION METER ASSEMBLY - STEREO COMPONENT AMPLIFIER ASSEMBLY)Click here

    OK
  4. CHECK WINDSHIELD WIPER RELAY ASSEMBLY

    E179098C03

    *a

    Front view of wire harness connector

    (to Combination Meter Assembly)

    Note:

    For vehicle without a rain sensor, proceed to next step.

    • *1: for Radio Receiver Type

    • *2: for Radio and Display Type

    • *3: w/ Automatic Headlight Beam Level Control System

    • *4: for 11 Speakers

    1. Disconnect the G16 combination meter assembly connector.

    2. Disconnect the G48 radio receiver assembly connector.*1

    3. Disconnect the G143 radio and display receiver assembly connector.*2

    4. Disconnect the A67 headlight leveling ECU assembly connector.*3

    5. Disconnect the G84 certification ECU (smart key ECU assembly) connector.

    6. Disconnect the N39 vehicle approaching speaker controller connector.

    7. Disconnect the M32 stereo component amplifier assembly connector.*4

    8. Measure the voltage according to the value(s) in the table below.

      Standard Voltage

      Tester Connection

      Switch Condition

      Specified Condition

      G16-6 (+S) - Body ground

      Power switch on (IG)

      4.5 to 14 V

    Result

    Proceed to

    OK

    NG

    NG

    CHECK HARNESS AND CONNECTOR (COMBINATION METER ASSEMBLY - WINDSHIELD WIPER RELAY ASSEMBLY)Click here

    OK
  5. CHECK HEADLIGHT LEVELING ECU ASSEMBLY

    E179098C03

    *a

    Front view of wire harness connector

    (to Combination Meter Assembly)

    Note:

    For vehicle without an automatic headlight beam level control system, proceed to next step.

    • *1: for Radio Receiver Type

    • *2: for Radio and Display Type

    • *3: w/ Rain Sensor

    • *4: for 11 Speakers

    1. Disconnect the G16 combination meter assembly connector.

    2. Disconnect the G48 radio receiver assembly connector.*1

    3. Disconnect the G143 radio and display receiver assembly connector.*2

    4. Disconnect the G85 windshield wiper relay assembly connector.*3

    5. Disconnect the G84 certification ECU (smart key ECU assembly) connector.

    6. Disconnect the N39 vehicle approaching speaker controller connector.

    7. Disconnect the M32 stereo component amplifier assembly connector.*4

    8. Measure the voltage according to the value(s) in the table below.

      Standard Voltage

      Tester Connection

      Switch Condition

      Specified Condition

      G16-6 (+S) - Body ground

      Power switch on (IG)

      4.5 to 14 V

    Result

    Proceed to

    OK

    NG

    NG

    CHECK HARNESS AND CONNECTOR (COMBINATION METER ASSEMBLY - HEADLIGHT LEVELING ECU)Click here

    OK
  6. CHECK CERTIFICATION ECU (SMART KEY ECU ASSEMBLY)

    E179098C03

    *a

    Front view of wire harness connector

    (to Combination Meter Assembly)

    • *1: for Radio Receiver Type

    • *2: for Radio and Display Type

    • *3: w/ Rain Sensor

    • *4: w/ Automatic Headlight Beam Level Control System

    • *5: for 11 Speakers

    1. Disconnect the G16 combination meter assembly connector.

    2. Disconnect the G48 radio receiver assembly connector.*1

    3. Disconnect the G143 radio and display receiver assembly connector.*2

    4. Disconnect the G85 windshield wiper relay assembly connector.*3

    5. Disconnect the A67 headlight leveling ECU assembly connector.*4

    6. Disconnect the N39 vehicle approaching speaker controller connector.

    7. Disconnect the M32 stereo component amplifier assembly connector.*5

    8. Measure the voltage according to the value(s) in the table below.

      Standard Voltage

      Tester Connection

      Switch Condition

      Specified Condition

      G16-6 (+S) - Body ground

      Power switch on (IG)

      4.5 to 14 V

    Result

    Proceed to

    OK

    NG

    NG

    CHECK HARNESS AND CONNECTOR (COMBINATION METER ASSEMBLY - CERTIFICATION ECU [SMART KEY ECU ASSEMBLY])Click here

    OK
  7. CHECK VEHICLE APPROACHING SPEAKER CONTROLLER

    E179098C03

    *a

    Front view of wire harness connector

    (to Combination Meter Assembly)

    • *1: for Radio Receiver Type

    • *2: for Radio and Display Type

    • *3: w/ Rain Sensor

    • *4: w/ Automatic Headlight Beam Level Control System

    • *5: for 11 Speakers

    1. Disconnect the G16 combination meter assembly connector.

    2. Disconnect the G48 radio receiver assembly connector.*1

    3. Disconnect the G143 radio and display receiver assembly connector.*2

    4. Disconnect the G85 windshield wiper relay assembly connector.*3

    5. Disconnect the A67 headlight leveling ECU assembly connector.*4

    6. Disconnect the G84 certification ECU (smart key ECU assembly) connector.

    7. Disconnect the M32 stereo component amplifier assembly connector.*5

    8. Measure the voltage according to the value(s) in the table below.

      Standard Voltage

      Tester Connection

      Switch Condition

      Specified Condition

      G16-6 (+S) - Body ground

      Power switch on (IG)

      4.5 to 14 V

    Result

    Proceed to

    OK

    NG

    NG

    CHECK HARNESS AND CONNECTOR (COMBINATION METER ASSEMBLY - VEHICLE APPROACHING SPEAKER CONTROLLER)Click here

    OK
  8. CHECK COMBINATION METER ASSEMBLY (OUTPUT VOLTAGE)

    E297603C06

    *a

    Front view of wire harness connector

    (to Brake booster with master cylinder assembly [skid control ECU])

    1. Disconnect the A110 brake booster with master cylinder assembly (skid control ECU) connector.

    2. Measure the voltage according to the value(s) in the table below.

      Standard Voltage

      Tester Connection

      Switch Condition

      Specified Condition

      A110-11 (SP1) - Body ground

      Poert switch on (IG)

      11 to 14 V

    Result

    Proceed to

    OK

    NG

    NG

    CHECK HARNESS AND CONNECTOR (COMBINATION METER ASSEMBLY - BRAKE BOOSER WITH MASTER CYLINDER [SKID CONTROL ECU])Click here

    OK
  9. CHECK COMBINATION METER ASSEMBLY (SPEED SIGNAL)

    E200403C06

    *a

    Component with harness connected

    (Combination Meter Assembly)

    1. Remove the combination meter assembly with the connector(s) still connected.

      Click here

    2. Connect an oscilloscope to terminal G16-5 (SI) and body ground.

    3. Check the signal waveform according to the condition(s) in the table below.

      Table 1. Measurement Condition

      Item

      Condition

      Tester Connection

      G16-5 (SI) - Body ground

      Tool Setting

      5 V/DIV., 20 ms./DIV.

      Vehicle Condition

      Driving at approximately 20 km/h (12 mph)

      Tip:

      When the system is functioning normally, one wheel revolution generates 4 pulses. As the vehicle speed increases, the width indicated by A in the illustration narrows.

      OK

      The waveform displayed is as shown in the illustration.

    Result

    Proceed to

    OK

    NG (for LHD)

    NG (for RHD)

    OK

    REPLACE COMBINATION METER ASSEMBLY

    NG (for LHD)

    REPLACE BRAKE BOOSER WITH MASTER CYLINDER ASSEMBLY (SKID CONTROL ECU)

    NG (for RHD)

    REPLACE BRAKE BOOSER WITH MASTER CYLINDER ASSEMBLY (SKID CONTROL ECU)

  10. CHECK HARNESS AND CONNECTOR (COMBINATION METER ASSEMBLY - RADIO AND DISPLAY RECEIVER ASSEMBLY)

    • *1: w/ Rain Sensor

    • *2: w/ Automatic Headlight Beam Level Control System

    • *3: for 11 Speakers

    1. Disconnect the G16 combination meter assembly connector.

    2. Disconnect the G143 radio and display receiver assembly connector.

    3. Disconnect the G85 windshield wiper relay assembly connector.*1

    4. Disconnect the A67 headlight leveling ECU assembly connector.*2

    5. Disconnect the G84 certification ECU (smart key ECU assembly) connector.

    6. Disconnect the N39 vehicle approaching speaker controller connector.

    7. Disconnect the M32 stereo component amplifier assembly connector.*3

    8. Measure the resistance according to the value(s) in the table below.

      Standard Resistance

      Tester Connection

      Condition

      Specified Condition

      G16-6 (+S) - G143-17 (SPD)

      Always

      Below 1 Ω

      G16-6 (+S) or G143-17 (SPD) - Body ground

      Always

      10 kΩ or higher

    Result

    Proceed to

    OK

    NG

    OK

    REPLACE RADIO AND DISPLAY RECEIVER ASSEMBLY

    NG

    REPAIR OR REPLACE HARNESS OR CONNECTOR

  11. CHECK HARNESS AND CONNECTOR (COMBINATION METER ASSEMBLY - STEREO COMPONENT AMPLIFIER ASSEMBLY)

    • *1: w/ Rain Sensor

    • *2: w/ Automatic Headlight Beam Level Control System

    • *3: for 11 Speakers

    1. Disconnect the G16 combination meter assembly connector.

    2. Disconnect the G143 radio and display receiver assembly connector.

    3. Disconnect the G85 windshield wiper relay assembly connector.*1

    4. Disconnect the A67 headlight leveling ECU assembly connector.*2

    5. Disconnect the G84 certification ECU (smart key ECU assembly) connector.

    6. Disconnect the N39 vehicle approaching speaker controller connector.

    7. Disconnect the M32 stereo component amplifier assembly connector.*3

    8. Measure the resistance according to the value(s) in the table below.

      Standard Resistance

      Tester Connection

      Condition

      Specified Condition

      G16-6 (+S) - M32-11 (SPD)

      Always

      Below 1 Ω

      G16-6 (+S) or M32-11 (SPD) - Body ground

      Always

      10 kΩ or higher

    Result

    Proceed to

    OK

    NG

    OK

    REPLACE STEREO COMPONENT AMPLIFIER ASSEMBLY

    NG

    REPAIR OR REPLACE HARNESS OR CONNECTOR

  12. CHECK HARNESS AND CONNECTOR (COMBINATION METER ASSEMBLY - WINDSHIELD WIPER RELAY ASSEMBLY)

    • *1: w/ Radio Receiver Type

    • *2: w/ Radio and Display Type

    • *3: w/ Automatic Headlight Beam Level Control System

    • *4: for 11 Speakers

    1. Disconnect the G16 combination meter assembly connector.

    2. Disconnect the G48 radio receiver assembly connector.*1

    3. Disconnect the G143 radio and display receiver assembly connector.*2

    4. Disconnect the G85 windshield wiper relay assembly connector.

    5. Disconnect the A67 headlight leveling ECU assembly connector.*3

    6. Disconnect the G84 certification ECU (smart key ECU assembly) connector.

    7. Disconnect the N39 vehicle approaching speaker controller connector.

    8. Disconnect the M32 stereo component amplifier assembly connector.*4

    9. Measure the resistance according to the value(s) in the table below.

      Standard Resistance

      Tester Connection

      Condition

      Specified Condition

      G16-6 (+S) - G85-24 (SPD)

      Always

      Below 1 Ω

      G16-6 (+S) or G85-24 (SPD) - Body ground

      Always

      10 kΩ or higher

    Result

    Proceed to

    OK

    NG

    OK

    REPLACE WINDSHIELD WIPER RELAY ASSEMBLY

    NG

    REPAIR OR REPLACE HARNESS OR CONNECTOR

  13. CHECK HARNESS AND CONNECTOR (COMBINATION METER ASSEMBLY - HEADLIGHT LEVELING ECU)

    • *1: for Radio Receiver Type

    • *2: for Radio and Display Type

    • *3: w/ Rain Sensor

    • *4: for 11 Speakers

    1. Disconnect the G16 combination meter assembly connector.

    2. Disconnect the G48 radio receiver assembly connector.*1

    3. Disconnect the G143 radio and display receiver assembly connector.*2

    4. Disconnect the G85 windshield wiper relay assembly connector.*3

    5. Disconnect the A67 headlight leveling ECU assembly connector.

    6. Disconnect the G84 certification ECU (smart key ECU assembly) connector.

    7. Disconnect the N39 vehicle approaching speaker controller connector.

    8. Disconnect the M32 stereo component amplifier assembly connector.*4

    9. Measure the resistance according to the value(s) in the table below.

      Standard Resistance

      Tester Connection

      Condition

      Specified Condition

      G16-6 (+S) - A67-16 (SPDR)

      Always

      Below 1 Ω

      G16-6 (+S) or A67-16 (SPDR) - Body ground

      Always

      10 kΩ or higher

    Result

    Proceed to

    OK

    NG

    OK

    REPLACE HEADLIGHT LEVELING ECU ASSEMBLY

    NG

    REPAIR OR REPLACE HARNESS OR CONNECTOR

  14. CHECK HARNESS AND CONNECTOR (COMBINATION METER ASSEMBLY - CERTIFICATION ECU [SMART KEY ECU ASSEMBLY])

    • *1: for Radio Receiver Type

    • *2: for Radio and Display Type

    • *3: w/ Rain Sensor

    • *4: for 11 Speakers

    1. Disconnect the G16 combination meter assembly connector.

    2. Disconnect the G48 radio receiver assembly connector.*1

    3. Disconnect the G143 radio and display receiver assembly connector.*2

    4. Disconnect the G85 windshield wiper relay assembly connector.*3

    5. Disconnect the A67 headlight leveling ECU assembly connector.

    6. Disconnect the G84 certification ECU (smart key ECU assembly) connector.

    7. Disconnect the N39 vehicle approaching speaker controller connector.

    8. Disconnect the M32 stereo component amplifier assembly connector.*4

    9. Measure the resistance according to the value(s) in the table below.

      Standard Resistance

      Tester Connection

      Condition

      Specified Condition

      G16-6 (+S) - A84-27 (SPD)

      Always

      Below 1 Ω

      G16-6 (+S) or G84-27 (SPD) - Body ground

      Always

      10 kΩ or higher

    Result

    Proceed to

    OK

    NG

    OK

    REPLACE CERTIFICATION ECU (SMART KEY ECU ASSEMBLY)

    NG

    REPAIR OR REPLACE HARNESS OR CONNECTOR

  15. CHECK HARNESS AND CONNECTOR (COMBINATION METER ASSEMBLY - VEHICLE APPROACHING SPEAKER CONTROLLER)

    • *1: for Radio Receiver Type

    • *2: for Radio and Display Type

    • *3: w/ Rain Sensor

    • *4: for 11 Speakers

    1. Disconnect the G16 combination meter assembly connector.

    2. Disconnect the G48 radio receiver assembly connector.*1

    3. Disconnect the G143 radio and display receiver assembly connector.*2

    4. Disconnect the G85 windshield wiper relay assembly connector.*3

    5. Disconnect the A67 headlight leveling ECU assembly connector.

    6. Disconnect the G84 certification ECU (smart key ECU assembly) connector.

    7. Disconnect the N39 vehicle approaching speaker controller connector.

    8. Disconnect the M32 stereo component amplifier assembly connector.*4

    9. Measure the resistance according to the value(s) in the table below.

      Standard Resistance

      Tester Connection

      Condition

      Specified Condition

      G16-6 (+S) - N39-6 (SPD)

      Always

      Below 1 Ω

      G16-6 (+S) or N39-6 (SPD) - Body ground

      Always

      10 kΩ or higher

    Result

    Proceed to

    OK

    NG

    OK

    REPLACE VEHICLE APPROACHING SPEAKER CONTROLLER

    NG

    REPAIR OR REPLACE HARNESS OR CONNECTOR

  16. CHECK HARNESS AND CONNECTOR (COMBINATION METER ASSEMBLY - BRAKE BOOSER WITH MASTER CYLINDER [SKID CONTROL ECU])

    1. Disconnect the G16 combination meter assembly connector.

    2. Disconnect the A110 brake booster with master cylinder assembly (skid control ECU) connector.

    3. Measure the resistance according to the value(s) in the table below.

      Standard Resistance

      Tester Connection

      Condition

      Specified Condition

      G16-5 (SI) - A110-11 (SP1)

      Always

      Below 1 Ω

      G16-5 (SI) or A110-11 (SP1) - Body ground

      Always

      10 kΩ or higher

    Result

    Proceed to

    OK

    NG

    OK

    REPLACE COMBINATION METER ASSEMBLY

    NG

    REPAIR OR REPLACE HARNESS OR CONNECTOR

  17. CHECK RADIO RECEIVER ASSEMBLY

    E179098C03

    *a

    Front view of wire harness connector

    (to Combination Meter Assembly)

    • *1: w/ Rain Sensor

    • *2: w/ Automatic Headlight Beam Level Control System

    1. Disconnect the G16 combination meter assembly connector.

    2. Disconnect the G85 windshield wiper relay assembly connector.*1

    3. Disconnect the A67 headlight leveling ECU assembly connector.*2

    4. Disconnect the G84 certification ECU (smart key ECU assembly) connector.

    5. Disconnect the N39 vehicle approaching speaker controller connector.

    6. Measure the voltage according to the value(s) in the table below.

      Standard Voltage

      Tester Connection

      Switch Condition

      Specified Condition

      G16-6 (+S) - Body ground

      Power switch on (IG)

      4.5 to 14 V

    Result

    Proceed to

    OK

    NG

    OK

    CHECK WINDSHIELD WIPER RELAY ASSEMBLYClick here

    NG
  18. CHECK HARNESS AND CONNECTOR (COMBINATION METER ASSEMBLY - RADIO RECEIVER ASSEMBLY)

    • *1: w/ Rain Sensor

    • *2: w/ Automatic Headlight Beam Level Control System

    1. Disconnect the G16 combination meter assembly connector.

    2. Disconnect the G48 radio receiver assembly connector.

    3. Disconnect the G85 windshield wiper relay assembly connector.*1

    4. Disconnect the A67 headlight leveling ECU assembly connector.*2

    5. Disconnect the G84 certification ECU (smart key ECU assembly) connector.

    6. Disconnect the N39 vehicle approaching speaker controller connector.

    7. Measure the resistance according to the value(s) in the table below.

      Standard Resistance

      Tester Connection

      Condition

      Specified Condition

      G16-6 (+S) - G48-17 (SPD)

      Always

      Below 1 Ω

      G16-6 (+S) or G48-17 (SPD) - Body ground

      Always

      10 kΩ or higher

    Result

    Proceed to

    OK

    NG

    OK

    REPLACE RADIO RECEIVER ASSEMBLY

    NG

    REPAIR OR REPLACE HARNESS OR CONNECTOR