ENTRY AND START SYSTEM(for Entry Function) Front Passenger Side Door Entry Lock Function does not Operate

DESCRIPTION

If the entry lock function does not operate for the front passenger door only, but the entry unlock function operates, the request code is being transmitted properly from the front passenger door. In this case, there may be a problem related to the front door outside handle assembly (for front passenger door) (lock sensor) (connection between the certification ECU (smart key ECU assembly) and front door outside handle assembly (for front passenger door) [lock sensor]).

WIRING DIAGRAM

A005AW6E02

CAUTION / NOTICE / HINT

Note


  • The entry and start system (for Entry Function) uses a multiplex communication system (LIN communication system) and the CAN communication system. Inspect the communication function by following How to Proceed with Troubleshooting Click here. Troubleshoot the entry and start system (for Entry Function) after confirming that the communication systems are functioning properly.

  • When using the GTS with the power switch off, connect the GTS to the DLC3 and turn a courtesy light switch on and off at intervals of 1.5 seconds or less until communication between the GTS and the vehicle begins. Then select Model Code "KEY REGIST" under manual mode and enter the following menus: Body Electrical / Entry&Start (CAN). While using the GTS, periodically turn a courtesy light switch on and off at intervals of 1.5 seconds or less to maintain communication between the GTS and the vehicle.

  • Check that there are no electrical key transmitter sub-assemblies in the vehicle.

  • Before performing the inspection, check that DTC B1242 (wireless door lock control) is not output Click here.

  • Before replacing the certification ECU (smart key ECU assembly), refer to the entry and start system (for Entry Function) precaution Click here.

  • After repair, confirm that no DTCs are output by performing the "DTC Output Confirmation Operation".

PROCEDURE


  1. CHECK POWER DOOR LOCK CONTROL SYSTEM


    1. When the door control switch on the multiplex network master switch assembly is operated, check that the doors unlock and lock according to the switch operation Click here.

      OK
      Door locks operate normally.

    NG
    OK
  2. READ VALUE USING GTS (LOCK SENSOR)


    1. Connect the GTS to the DLC3.

    2. Turn the power switch on (IG).

    3. Turn the GTS on.

    4. Enter the following menus: Body Electrical / Entry&Start / Data List.

    5. Read the Data List according to the display on the GTS.

      Entry&Start
      Tester Display Measurement Item/Range Normal Condition Diagnostic Note
      P-Door Trigger Switch Front passenger door touch sensor (lock sensor) / ON or OFF

      ON: Front passenger door touch sensor (lock sensor) touched

      OFF: Front passenger door touch sensor (lock sensor) not touched


      • Displays whether the lock sensor is on or off (even if the sensor is touched and contact is maintained, "ON" is displayed only momentarily).

      • Use this Data List item to help determine if there is a lock sensor malfunction when the entry lock function does not operate.

      OK
      The GTS display changes correctly in response to the operation of the front door outside handle assembly (for front passenger door).

    OK
    NG
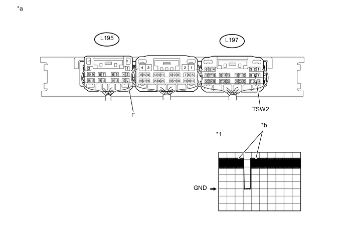
  3. CHECK HARNESS AND CONNECTOR (FRONT DOOR OUTSIDE HANDLE - CERTIFICATION ECU)


    1. Disconnect the m1*1 or n1*2 front door outside handle assembly (for front passenger door) connector.

    2. Disconnect the L195 and L197 certification ECU (smart key ECU assembly) connectors.

    3. Measure the resistance according to the value(s) in the table below.


      • *1: for LHD

      • *2: for RHD

      Standard Resistance
      for LHD
      Tester Connection Condition Specified Condition
      m1-1 (TRG+) - L197-8 (TSW2) Always Below 1 Ω
      L195-11 (E) - Body ground Always Below 1 Ω
      m1-1 (TRG+) or L197-8 (TSW2) - Body ground Always 10 kΩ or higher
      for RHD
      Tester Connection Condition Specified Condition
      n1-1 (TRG+) - L197-8 (TSW2) Always Below 1 Ω
      L195-11 (E) - Body ground Always Below 1 Ω
      n1-1 (TRG+) or L197-8 (TSW2) - Body ground Always 10 kΩ or higher

    NG
    OK
  4. CHECK FRONT DOOR OUTSIDE HANDLE ASSEMBLY (FOR FRONT PASSENGER DOOR (FRONT PASSENGER DOOR LOCK SENSOR SIGNAL INPUT)


    1. Connect the m1*1 or n1*2 front door outside handle assembly (for front passenger door) connector.

      A005BH2E02
      Text in Illustration
      *1 Waveform - -
      *a

      Component with harness connected

      (Certification ECU (smart key ECU assembly))

      *b In actuality, sampling is being performed

      • *1: for LHD

      • *2: for RHD

    2. Connect the L195 and L197 certification ECU (smart key ECU assembly) connectors.

    3. Using an oscilloscope, check the waveform.

      OK
      Tester Connection Condition Tool Setting Specified Condition
      L197-8 (TSW2) - L195-11 (E)

      Procedure:


      1. Power switch off

      2. Electrical key transmitter sub-assembly brought outside vehicle

      3. All doors closed

      4. Front passenger door lock sensor not touched → touched

      2 V/DIV., 500 ms/DIV. Pulse generation (See waveform)

    OK
    NG