АНТЕННЫЙ ПРОВОД НА ОКОННОМ СТЕКЛЕ ПРОВЕРКА БЕЗ СНЯТИЯ С АВТОМОБИЛЯ
ПОРЯДОК ВЫПОЛНЕНИЯ
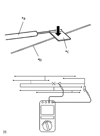
ПРОВЕРЬТЕ АНТЕННЫЙ ПРОВОД НА ОКОННОМ СТЕКЛЕ
-
*a
Щуп портативного диагностического прибора
*b
Антенный провод
*c
Алюминиевая фольга
Проверьте неразрывность антенны.
Tip:Проверьте неразрывность относительно центра антенного провода, как показано на рисунке.
Note:Для чистки неопускного стекла в сборе используйте мягкую сухую ткань и протирайте стекло вдоль нитей. Старайтесь не повредить провода. Не используйте синтетические моющие средства или средства для чистки стекол с абразивными компонентами.
Для измерения сопротивления оберните отрицательный щуп алюминиевой фольгой, приложите его к нити и прижмите пальцем, как показано на рисунке.
OK
Обрывы цепи антенны отсутствуют.
Если результат проверки не отвечает требованиям, отремонтируйте антенный провод на ветровом стекле.
-