ПЕРЕДНИЙ БОКОВОЙ ЗАЩИТНЫЙ БРУС ЗАМЕНА УЗЛОВ (ТИП 1)
-
Со снятыми кронштейном радиатора и кронштейном опоры переднего крыла.
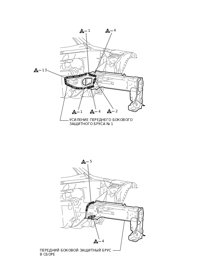
СНЯТИЕ
Значения символов

Точки сварки при снятии

Точки сварки при снятии

Обрезка шлифовальной машиной и т.п.
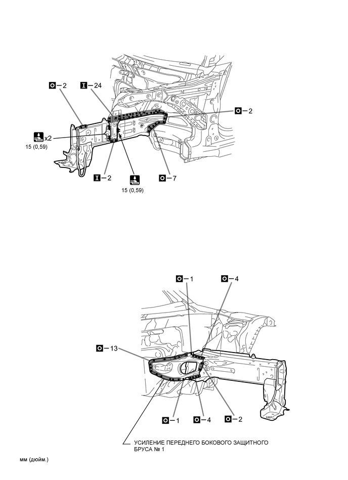
УСТАНОВКА
Значения символов

Сварка электрозаклепкой

Сварка электрозаклепкой

Угловой сварной шов
ТОЧКА СНЯТИЯ
После снятия усиления переднего бокового защитного бруса № 1 снимите передний боковой защитный брус в сборе.
ТОЧКА УСТАНОВКИ
Установите не закрепляя новые детали и измерьте необходимые размеры в соответствии со схемой измерений (См. размеры кузова.)
После приваривания переднего бокового защитного бруса в сборе к кузову установите усиление переднего бокового защитного бруса № 1.
Проверьте, чтобы установка была выполнена правильно в соответствии со схемой измерений кузова, поскольку эта деталь влияет на регулировку передних колес.
После сварки нанесите герметик для кузова и грунтовочное покрытие на соответствующие детали (См. раздел "Лакокрасочное покрытие".)
После нанесения верхнего слоя покрытия нанесите антикоррозийное средство на сварные точки несущих рабочую нагрузку швов замкнутого профиля с внутренней стороны панели.