DESCRIPTION
for Automatic Sound Levelizer (ASL) (for 6 Speakers):
This circuit is necessary for the Automatic Sound Levelizer (ASL) built into the radio and display receiver assembly.
The Automatic Sound Levelizer (ASL) function automatically adjusts the audio system volume level in order to compensate for increased vehicle noise (vehicle noise tends to increase as vehicle speed increases). The ASL adjusts the volume level based upon vehicle speed signals that it receives from the meter circuit plate.
for "Bluetooth":
Vehicle speed signals are received from the meter circuit plate and used to cancel "Bluetooth" function operation.
The radio and display receiver assembly recognizes that the vehicle is being to driven and makes it impossible to connect or register a "Bluetooth" device while driving.
Tech Tips
A voltage of 12 V or 5 V is output from each ECU and then input to the meter circuit plate. The signal is changed to a pulse signal at the transistor in the meter circuit plate. Each ECU controls the respective system based on the pulse signal.
If a short occurs in any of the ECUs or in the wire harness connected to an ECU, all systems in the following diagram will not operate normally.
WIRING DIAGRAM
PROCEDURE
CHECK VEHICLE SIGNAL (OPERATION CHECK)
Enter the "Vehicle Signal Check Mode" screen. Refer to Check Vehicle Signal Check Mode in Operation Check Click here.
While driving the vehicle, compare the "SPEED" indicator to the reading on the speedometer. Check if these readings are almost equal.
Tech Tips
The meter circuit plate receives the vehicle speed signal from the skid control ECU via CAN communication. Therefore, perform the following inspection referring to values on the Data List of the skid control ECU because it is the source of the vehicle speed signal.
| OK |
|---|
| Vehicle speed displayed on the "Vehicle Signal Check Mode" screen is almost the same as the actual vehicle speed measured using the GTS (See page Click here). |
| OK |
|
PROCEED TO NEXT SUSPECTED AREA SHOWN IN PROBLEM SYMPTOMS TABLE Click here |
| NG |
|
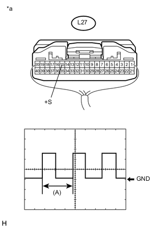
INSPECT METER CIRCUIT PLATE (OUTPUT WAVEFORM)
| *a | Component with harness connected (Meter Circuit Plate) |
Check the output waveform.
Remove the meter circuit plate with the connector still connected.
Connect an oscilloscope to terminal L27-15 (+S) and body ground.
Turn the power switch on (IG).
Turn a wheel slowly.
Check the signal waveform according to the condition(s) in the table below.
| Item | Condition |
|---|---|
| Measurement terminal | L27-15 (+S) - Body ground |
| Tool setting | 5 V/DIV., 20 ms./DIV. |
| Vehicle condition | Wheel being rotated |
| OK |
|---|
| The waveform is similar to that shown in the illustration. |
Tech Tips
When the system is functioning normally, one wheel revolution generates 4 pulses. As the vehicle speed increases, the width indicated by (A) in the illustration narrows.
| NG |
|
GO TO METER / GAUGE SYSTEM Click here |
| OK |
|
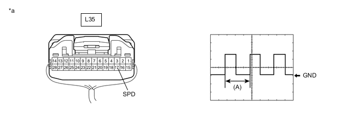
INSPECT RADIO AND DISPLAY RECEIVER ASSEMBLY (INPUT WAVEFORM)
Check the input waveform.
Remove the radio and display receiver assembly with the connector still connected.
Connect an oscilloscope to terminal L35-17 (SPD) and body ground.
Turn the power switch on (IG).
Turn a wheel slowly.
Check the signal waveform according to the condition(s) in the table below.
| Item | Condition |
|---|---|
| Measurement terminal | L35-17 (SPD) - Body ground |
| Tool setting | 5 V/DIV., 20 ms./DIV. |
| Vehicle condition | Wheel being rotated |
| OK |
|---|
| The waveform is similar to that shown in the illustration. |
Tech Tips
When the system is functioning normally, one wheel revolution generates 4 pulses. As the vehicle speed increases, the width indicated by (A) in the illustration narrows.
| *a | Component with harness connected (Radio and Display Receiver Assembly) |
| OK |
|
REPLACE RADIO AND DISPLAY RECEIVER ASSEMBLY Click here |
| NG |
|
CHECK HARNESS AND CONNECTOR (RADIO AND DISPLAY RECEIVER ASSEMBLY - JUNCTION CONNECTOR)
Disconnect the L35 radio and display receiver assembly connector.
Disconnect the L70 junction connector.
Measure the resistance according to the value(s) in the table below.
| Standard Resistance | ||||||
|---|---|---|---|---|---|---|
|
||||||
|
| OK |
|
REPAIR OR REPLACE HARNESS OR CONNECTOR (JUNCTION CONNECTOR) |
| NG |
|
REPAIR OR REPLACE HARNESS OR CONNECTOR (RADIO AND DISPLAY RECEIVER ASSEMBLY - JUNCTION CONNECTOR) |