POWER STEERING SYSTEM


  1. FUNCTION OF MAIN COMPONENTS


    1. The main components of the EPS system are as follows:

      Component Function
      Steering Column Assembly Torque Sensor Detects the amount of twist of the torsion bar. Based on the torque that is applied to the torsion bar, the sensor creates an electrical signal, and sends this signal to the power steering ECU assembly.
      Rotation Angle Sensor Sends the rotation angle of the power steering motor to the power steering ECU assembly.
      Power Steering Motor Generates assist torque in accordance with a signal received from the power steering ECU assembly.
      Reduction Mechanism Reduces the speed of the power steering motor through the use of a worm gear and a wheel gear and transmits it to the column shaft.
      Power Steering ECU Assembly
      • Actuates the power steering motor mounted on the steering column assembly to provide power assist, based on the signals received from various sensors and ECUs.

      • Boosts the voltage of the auxiliary battery from 12 V to 27 V and supplies this power to the power steering motor.

      Brake Booster with Master Cylinder Assembly Skid Control ECU
      • Sends the vehicle speed signal to the power steering ECU assembly.

      • Requests steering torque assist during steering cooperative control.

      Air Conditioning Amplifier Assembly Receives a signal from the power steering ECU assembly limit the electrical usages.
      Power Management Control ECU Transmits the ready status signal to the power steering ECU assembly.
      Combination Meter Sub-assembly EPS Warning Light Illuminates to alert the driver when the power steering ECU assembly detects a malfunction in the EPS system.
      Parking Assist ECU* Requests steering torque assist during steering cooperative control.

      *: Models with intelligent parking assist system

  2. SYSTEM CONTROL


    1. The EPS system has the following controls:

      Control Outline
      Basic Control Calculates the assist current from the steering torque value and the vehicle speed, and actuates the power steering motor.
      Inertia Compensation Control Ensures the starting movement of the power steering motor when the driver starts to turn the steering wheel.
      Recovery Control During the short interval between the time the driver fully turns the steering wheel and the wheels try to recover, this control assists the recovery force.
      Damper Control Regulates the amount of assist when the driver turns the steering wheel while driving at high speeds, thus damping the changes in the yaw rate of the vehicle body.
      System Overheat Protection Control Estimates the power steering motor temperature based on the amperage and the length of time the amperage has been applied for. If the temperature exceeds the standard, it limits the amperage to prevent the power steering motor from overheating.
      Electric Load Control Prevents a reduction of assist torque if the auxiliary battery voltage decreases.
      Cooperative Control Brake Control System

      The power steering ECU assembly performs cooperative control with the skid control ECU, in order to control the steering assist torque in accordance with information received from the skid control ECU. This facilitates the steering operation of the driver, thus realizing a high level of vehicle stability. For details, Click here.

      Intelligent Parking Assist System*

      When the vehicle is parked in a garage, the intelligent parking assist system assists steering in accordance with the signal from the parking assist ECU. For details, Click here.

      *: Models with intelligent parking assist system

    2. Electric Load Control


      1. When the power steering ECU assembly detects the auxiliary battery voltage decrease, it transmits the electric load control signal to the air conditioning amplifier assembly in order to limit the electrical usage.

      2. The air conditioning amplifier assembly limits operation of the rear window defogger, mirror heater and PTC heater until the power steering ECU assembly releases the limitation demand.

        *: Models with PTC heater

  3. CONSTRUCTION


    1. Steering Column Assembly


      1. The steering column assembly includes a torque sensor, power steering motor and reduction mechanism.

        A00511QE02
        Text in Illustration
        *1 Steering Column Assembly *2 Torque Sensor
        *3 Reduction Mechanism *4 Power Steering Motor
        *a A-A Cross Section *b B-B Cross Section
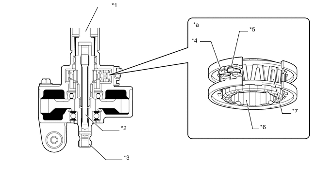
      2. The power steering torque sensor is built into the steering column assembly. A multipole magnet is mounted to the input shaft, and a yoke is mounted to the output shaft. The input and output shafts are joined by a torsion bar.

      3. The power steering torque sensor contains 2 Hall ICs which face opposite to each other. The system detects the steering direction in accordance with the direction of the magnetic flux that passes between the Hall ICs. Furthermore, the system detects steering torque in accordance with the amount of change in the magnetic flux density based on the relative displacement of the multipole magnet and the yoke. The power steering ECU assembly monitors the torque sensor signals sent by the 2 Hall ICs to detect malfunctions.

        A00512ZE03
        Text in Illustration
        *1 Input Shaft *2 Torsion Bar
        *3 Output Shaft *4 Hall IC 2
        *5 Hall IC 1 *6 Multipole Magnet
        *7 Yoke - -
        *a Torque Sensor - -
      4. A low inertia, low noise, and high power output brushless type power steering motor is used.

      5. The power steering motor consists of a rotor, stator, motor shaft and rotation angle sensor.

      6. The rotation angle sensor consists of a highly reliable and durable resolver sensor. The rotation angle sensor detects the rotation angle of the motor and outputs it to the power steering ECU assembly. As a result, it ensures efficient EPS control.

      7. The torque that is generated by the power steering motor is transmitted via the joint to the reduction mechanism.

      8. The reduction mechanism reduces the speed of the power steering motor via the worm gear and the wheel gear, and transmits it to the column shaft.

      9. The wheel gear is made of a high strength, low friction, and low wear plastic material, to realize low noise and a lightweight construction.

      10. A worm gear supported by ball bearings is used. Also, a leaf spring is provided to ensure optimal gear engagement at all times.

        A0050PEE04
        Text in Illustration
        *1 Leaf Spring *2 Ball Bearing
        *3 Worm Gear *4 Rotation Angle Sensor
        *5 Rotor *6 Column Shaft
        *7 Wheel Gear *8 Motor Shaft
        *9 Stator - -
  4. OPERATION


    1. When the steering wheel is not turned


      1. If the vehicle is driven straight and the driver does not turn the steering wheel, the yoke is centered between the N and S poles of the multipole magnet. Thus, no magnetic flux passes between the Hall ICs. In this case, the Hall ICs output a specified voltage to the power steering ECU assembly, to indicate that no turning torque is being applied to the steering wheel. Therefore, current is not applied to the motor.

        A0050SZE16
        Text in Illustration
        *1 Yoke Tab *2 Multipole Magnet
        *3 Hall IC 2 *4 Hall IC 1
    2. When the steering wheel is turned right or left


      1. When the driver turns the steering wheel to the right or left, the twist created in the torsion bar creates a relative displacement between the multipole magnet and yoke.

      2. At this time, the magnetic flux from the N to S poles of the multipole magnet passes between the Hall ICs. The system detects the direction the steering wheel is being turned in accordance with the direction of the magnetic flux that passes between the Hall ICs. Hall IC1 and Hall IC2 are installed facing opposite to each other. As a result, the output characteristics of the 2 Hall ICs are constantly opposite each other. The system monitors the different outputs of these Hall ICs in order to detect malfunctions.

      3. The magnetic flux density becomes higher as the Hall ICs get closer to the center of each respective pole. Each Hall IC converts these magnetic flux fluctuations into voltage fluctuations in order to transmit the rotational torque of the steering wheel to the power steering ECU assembly.

        A0050Q4E19
        Text in Illustration
        *1 Yoke Tab *2 Multipole Magnet
        *3 Hall IC 2 *4 Hall IC 1
        *a When the steering wheel is turned right *b When the steering wheel is turned left
        A00515J Direction of the Magnetic Flux - -
    3. Power Steering Torque Sensor Output Characteristics


      1. When the driver does not turn the steering wheel, the power steering torque sensor outputs a specified voltage (2.5 V) to the power steering ECU assembly. As long as the specified voltage is output, the power steering ECU assembly determines that no turning torque is being applied to the steering wheel.

      2. When the driver turns the steering wheel to the right or left, the voltage output from the power steering torque sensor to the power steering ECU assembly changes. Based on the changes, the power steering ECU assembly determines the steering torque and steering direction input by the driver.

        A0050PJE28
  5. FAIL-SAFE


    1. If the power steering ECU assembly detects a malfunction in the EPS system, the power steering ECU assembly illuminates the EPS warning light and sounds the buzzer to inform the driver.

    2. If a system malfunction occurs, the power steering ECU assembly changes control mode to fail-safe mode.

  6. DIAGNOSIS


    1. The power steering ECU assembly will also store Diagnostic Trouble Codes (DTCs). The DTC can be accessed through the use of an Global TechStream (GTS). For details, refer to the Repair Manual.