STOP LIGHT SWITCH INSTALLATION

PROCEDURE

  1. INSTALL STOP LIGHT SWITCH ASSEMBLY

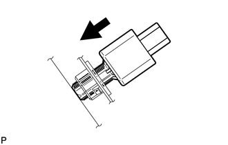
    1. E167768

      Insert the stop light switch assembly until the threaded sleeve hits the pedal.

      Note:

      When inserting the stop light switch assembly, support the pedal from behind so that the pedal is not pushed in.

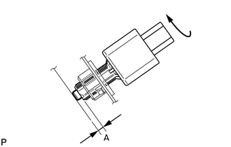
    2. E259461E05

      Turn the stop light switch assembly a quarter turn clockwise to install the stop light switch assembly.

      1.5 N*m

      15 kgf*cm

      13 in.*lbf

      or less

      Note:

      When inserting the stop light switch assembly, support the pedal from behind so that the pedal is not pushed in.

    3. Connect the connector.

    4. Check the protrusion of the plunger.

      Part

      Measurement

      A

      0.5 to 2.4 mm (0.0197 to 0.0945 in.)

      If the protrusion is not as specified, recheck switch installation and inspect brake pedal adjustment if necessary.

      for LHD

      Click here

      for RHD

      Click here

      Note:

      Do not depress or support the brake pedal.

  2. INSTALL LOWER INSTRUMENT PANEL FINISH PANEL