СИСТЕМА УПРАВЛЕНИЯ ГИБРИДНОЙ СИСТЕМОЙ, диагностический DTC: P3004-131

Код DTC Наименование DTC
P3004-131 Высоковольтная система электропитания

КРАТКОЕ ОПИСАНИЕ КОДА DTC

  1. ОПИСАНИЕ НЕИСПРАВНОСТИ

    ЭБУ гибридной системы контролирует состояние высоковольтных жгутов проводов между аккумуляторной батареей гибридной системы и преобразователем-инвертором в сборе, и регистрирует обрыв в цепи.

    Причиной данной неисправности может быть одна из следующих:

    • Неисправность в цепи датчика напряжения инвертора (VH)

    • Неисправность датчика напряжения (VH)

    • Неисправность ЭБУ мотор-генератора (ЭБУ MG)

    • Нарушение связи (жгут проводов)

    • Неисправность системы высокого напряжения

    • Неисправность аккумуляторной батареи гибридной системы

    • Неисправность распределительного блока высоковольтной аккумуляторной батареи в сборе

    • Неисправность преобразователя-инвертора

    • Неисправность высоковольтного жгута проводов

    • Неисправность высоковольтного разъема или соединения

    • Неисправность в цепи низкого напряжения (12 В)

    • Неисправность ЭБУ гибридной системы

    • Неисправность распределительного блока высоковольтной аккумуляторной батареи в сборе

    • Неисправность жгута проводов низкого напряжения

    • Неисправность низковольтного разъема

  2. ОПИСАНИЕ ПРОВЕРКИ

    C309568E06

    Диапазон схемы системы

    Описание проверки

    Причина

    Шаг проверки

    *a

    Проверьте состояние соединения и жгут проводов между ЭБУ гибридной системы в сборе и распределительным блоком аккумуляторной батареи гибридной системы в сборе

    Необходимо убедиться, что разъемы и подсоединены правильно, и проверить, нет ли обрывов в первичных линиях SMRP и SMRB

    3 - 7

    *b

    Проверьте главное реле системы

    Проверьте, не заедают ли SMRB и SMRP в выключенном состоянии

    8, 9

    *c

    Проверьте состояние соединения и высоковольтный кабель между распределительным блоком высоковольтной аккумуляторной батареи и преобразователем-инвертором в сборе

    Проверьте, нет ли обрывов и дефектов соединения (следов дуги) в связи с ослаблением

    10, 11, 12

    *d

    Проверьте высоковольтный кабель и состояние соединения между высоковольтной аккумуляторной батареей и распределительным блоком гибридной системы

    Проверьте, нет ли обрывов и дефектов соединения (следов дуги) в связи с ослаблением

    13

    *e

    Проверьте высоковольтную аккумуляторную батарею

    Проверьте, не снизилось ли значительно напряжение высоковольтной аккумуляторной батареи относительно нормального диапазона

    14

ОПИСАНИЕ

См. описание для DTC P0AE6-225.

Нажмите здесьClick here

ЭБУ гибридной системы контролирует состояние высоковольтных жгутов проводов между высоковольтной аккумуляторной батареей и преобразователем-инвертором в сборе, и регистрирует следующую неисправность.

№ DTC

Неисправность

Условие обнаружения DTC

Неисправный участок

MIL

Индикация предупреждения

P3004-131

Высоковольтная система электропитания

Несмотря на то, что после приведения в действие выключателя питания был передан запрос на включение SMR, напряжение после повышения не возрастает.

Цепь высокого напряжения между аккумуляторной батареей гибридной системы и преобразователем-инвертором в сборе неисправна.

Перегорел предохранитель аккумуляторной батареи EV, снят зажим сервисного размыкателя цепи, перегорел главный резистор системы, цепь SMRP или SMRB остается разомкнутой, либо существует обрыв в цепи высоковольтного кабеля.

(логика диагностирования за 2 поездки)

  • Распределительный блок высоковольтной аккумуляторной батареи в сборе

  • Жгут проводов под полом гибридного автомобиля

  • Преобразователь-инвертор в сборе

  • Высоковольтная аккумуляторная батарея

  • Жгут проводов или разъем

Не загорается

Главная контрольная лампа аварийного состояния:

Загорается

Table 1. Сопутствующие параметры Data List

№ DTC

Параметры из Data List

P3004-131

  • VH-Voltage after Boosting

  • Power Resource VB

При выполнении ремонта могут быть полезны следующие пункты:

  • Таблица данных

  • Ready Signal

  • VL-Voltage before Boosting

  • Inter Lock Switch

  • SMRP Status

  • SMRB Status

  • SMRG Status

СХЕМА СОЕДИНЕНИЙ

См. схему соединений для DTC P0AA6-526.

Нажмите здесьClick here

Используйте схему соединений высоковольтной цепи высоковольтной аккумуляторной батареи.

Нажмите здесьClick here

ПРЕДОСТЕРЕЖЕНИЕ / ПРИМЕЧАНИЕ / УКАЗАНИЕ

CAUTION:
  • Перед проверкой системы высокого напряжения или отсоединением разъема низкого напряжения преобразователя-инвертора необходимо принять меры по предотвращению поражения электрическим током, а именно, надеть электроизолирующие перчатки и снять зажим сервисного размыкателя цепи. После снятия зажима сервисного размыкателя цепи положите его в карман, чтобы никто не смог случайно подсоединить его обратно, пока выполняются работы с системой высокого напряжения.

  • После отсоединения зажима сервисного размыкателя цепи подождите, по крайней мере, 10 мин, прежде чем прикасаться к какому-либо из высоковольтных разъемов или контактов. По истечении 10 мин проверьте напряжение на контактах в контрольной точке преобразователя-инвертора в сборе. Перед началом работ напряжение должно составлять 0 В.

    Нажмите здесьClick hereClick here

    Tip:

    Для разрядки высоковольтного конденсатора внутри преобразователя-инвертора требуется не менее 10 мин.

  • При утилизации высоковольтной аккумуляторной батареи возвращайте ее через уполномоченного сборщика, который в состоянии распорядиться ею безопасным образом. Если высоковольтная аккумуляторная батарея возвращена согласно указаниям производителя, она будет утилизирована должным и безопасным образом уполномоченным сборщиком.

Note:

После выключения питания следует подождать некоторое время, прежде чем отсоединять провод от отрицательного (-) вывода вспомогательной аккумуляторной батареи. Поэтому, прежде чем приступать к этой работе, обязательно ознакомьтесь с примечанием относительно отсоединения провода от отрицательного (-) вывода вспомогательной аккумуляторной батареи.

Нажмите здесьClick hereClick hereClick here

Tip:

После ремонта удалите коды DTC, выполните описанные ниже действия и убедитесь, что этот DTC (в том числе DTC, ожидающий обработки) не выводится.

  1. Выключите питание и подождите не менее 30 с.

  2. Включите питание (READY) и подождите не менее 30 с.

ПОРЯДОК ВЫПОЛНЕНИЯ

  1. ПРОВЕРЬТЕ DTC (СИСТЕМЫ УПРАВЛЕНИЯ ГИБРИДНОЙ СИСТЕМОЙ)

    1. Подключите GTS к DLC3.

    2. Включите питание (IG).

    3. Войдите в следующие меню: Powertrain / Hybrid Control / Trouble Codes.

    4. Проверьте наличие кодов DTC.

      Powertrain > Hybrid Control > Trouble Codes

      Результат

      Result

      Перейдите к

      P3004-131 (включая ожидающий обработки DTC) — единственный выводимый код DTC, либо также выводятся коды DTC, помимо указанных в следующих таблицах.

      А

      Также выводится любой из кодов DTC, указанных в приведенной ниже таблице 1, включая коды DTC, ожидающие обработки.

      B

      Также выводятся какие-либо DTC из таблицы 2 ниже.

      C

      Таблица 1

      Информация о неисправности

      Соответствующий DTC

      Неисправность микропроцессора

      P0A1A-151, 658

      Модуль управления генератором

      P0A1B-786

      Модуль управления тяговым электродвигателем "A"

      P0A1D-148

      Модуль управления гибридной трансмиссией

      P1C2A-155

      Цепь АЦП генератора

      P1CA6-156

      Неисправность модуля управления генератором

      P1CA7-193

      Неисправность модуля управления тяговым электродвигателем

      P2511-149

      Обрыв цепи, прерывистый сигнал в измерительной цепи реле питания главного процессора гибридной системы

      P3133-659

      Ошибка передачи данных от генератора к тяговому электродвигателю "A"

      P3134-661

      Ошибка передачи данных от тягового электродвигателя "A" к генератору

      P324E-788

      Прерывистый сигнал в цепи реле питания MG-ECU

      Неисправность в цепи питания

      P06E6-164

      Цепь питания датчиков "C" / Обрыв

      P1C73-512

      Цепь номинального напряжения датчиков "F" / Обрыв

      Неисправность системы передачи данных

      U0110 (все коды INF)*1

      Прекращение обмена данными с модулем управления тяговым электродвигателем "A"

      Неисправность в цепи датчика и привода

      P0ADB-227

      Низкий уровень сигнала в цепи управления контактора положительного вывода аккумуляторной батареи гибридной системы

      P0ADC-226

      Высокий уровень сигнала в цепи управления контактора положительного вывода аккумуляторной батареи гибридной системы

      P0ADF-229

      Низкий уровень сигнала в цепи управления контактора отрицательного вывода аккумуляторной батареи гибридной системы

      P0AE0-228

      Высокий уровень сигнала в цепи управления контактора отрицательного вывода аккумуляторной батареи гибридной системы

      P0AE6-225

      Низкий уровень сигнала в цепи управления контактора предварительной зарядки аккумуляторной батареи гибридной системы

      P0AE7-224

      Высокий уровень сигнала в цепи управления контактора предварительной зарядки аккумуляторной батареи гибридной системы

      P0C76-523

      Слишком длительный разряд в системе аккумуляторной батареи гибридной системы

      P0D2E-586

      Диапазон / характеристики цепи датчика напряжения инвертора тягового электродвигателя "A"

      P0D2F-266

      Низкий уровень сигнала в цепи датчика напряжения инвертора тягового электродвигателя "A"

      P0D30-267

      Высокий уровень сигнала в цепи датчика напряжения инвертора тягового электродвигателя "A"

      Неисправность системы

      P0CA3-442

      Характеристика повышения напряжения преобразователя постоянного тока

      P3004-800, 801

      Высоковольтная система электропитания

      Таблица 2

      Информация о неисправности

      Соответствующий DTC

      Неисправность микропроцессора

      P0AFC-123

      Модуль датчиков блока аккумуляторных батарей гибридной системы

      Неисправность в цепи питания

      P0ABF-123

      Цепь датчика тока аккумуляторной батареи гибридной системы

      Неисправность системы передачи данных

      U029A-123

      Нарушение связи с модулем датчиков блока аккумуляторных батарей гибридной системы

      Неисправность в цепи датчика и привода

      P0A95-123

      Плавкий предохранитель высоковольтной цепи

      P0AC0-123

      Диапазон / характеристика цепи датчика тока блока аккумуляторных батарей гибридной системы

      P0AC1-123

      Низкий уровень сигнала в цепи датчика тока "A" блока аккумуляторных батарей гибридной системы

      P0AC2-123

      Высокий уровень сигнала в цепи датчика тока "A" блока аккумуляторных батарей гибридной системы

      P0B3D-123

      Низкий уровень сигнала в цепи датчика напряжения "A" аккумуляторной батареи гибридной системы

      P0B42-123

      Низкий уровень сигнала в цепи датчика напряжения "B" аккумуляторной батареи гибридной системы

      P0B47-123

      Низкий уровень сигнала в цепи датчика напряжения "C" аккумуляторной батареи гибридной системы

      P0B4C-123

      Низкий уровень сигнала в цепи датчика напряжения "D" аккумуляторной батареи гибридной системы

      P0B51-123

      Низкий уровень сигнала в цепи датчика напряжения "E" аккумуляторной батареи гибридной системы

      P0B56-123

      Низкий уровень сигнала в цепи датчика напряжения "F" аккумуляторной батареи гибридной системы

      P0B5B-123

      Низкий уровень сигнала в цепи датчика напряжения "G" аккумуляторной батареи гибридной системы

      P0B60-123

      Низкий уровень сигнала в цепи датчика напряжения "H" аккумуляторной батареи гибридной системы

      P0B65-123

      Низкий уровень сигнала в цепи датчика напряжения "I" аккумуляторной батареи гибридной системы

      P0B6A-123

      Низкий уровень сигнала в цепи датчика напряжения "J" аккумуляторной батареи гибридной системы

      P0B6F-123

      Низкий уровень сигнала в цепи датчика напряжения "K" аккумуляторной батареи гибридной системы

      P0B74-123

      Низкий уровень сигнала в цепи датчика напряжения "L" аккумуляторной батареи гибридной системы

      P0B79-123

      Низкий уровень сигнала в цепи датчика напряжения "M" аккумуляторной батареи гибридной системы

      P0B7E-123

      Низкий уровень сигнала в цепи датчика напряжения "N" аккумуляторной батареи гибридной системы

      P0B83-123

      Низкий уровень сигнала в цепи датчика напряжения "O" аккумуляторной батареи гибридной системы

      P0B88-123

      Низкий уровень сигнала в цепи датчика напряжения "P" аккумуляторной батареи гибридной системы

      P308A-123

      Низкий уровень сигнала во всех цепях датчиков напряжения аккумуляторной батареи гибридной системы

      Tip:
      • *1: Если для данного DTC выдаются какие-либо коды INF, обратитесь к соответствующей процедуре диагностики.

      • P3004-131 может выводиться в связи с неисправностью, на которую указывают коды DTC, рассмотренные выше.

        1. Приведенная выше схема отражает порядок приоритета проверки.

        2. Проверьте коды DTC, которые выводятся одновременно, в следующем указанном порядке. (Основную причину неисправности можно определить без ненужных проверок.)

    5. Выключите зажигание.

    B

    ОБРАТИТЕСЬ К ТАБЛИЦЕ КОДОВ DTC (СИСТЕМА УПРАВЛЕНИЯ ГИБРИДНОЙ СИСТЕМОЙ)

    Нажмите здесьClick hereClick here

    C

    ОБРАТИТЕСЬ К ТАБЛИЦЕ КОДОВ DTC (АККУМУЛЯТОРНАЯ БАТАРЕЯ ГИБРИДНОЙ СИСТЕМЫ)

    Нажмите здесьClick hereClick here

    A
  2. ПРОВЕРЬТЕ ДАННЫЕ ФИКСИРОВАННОГО НАБОРА ПАРАМЕТРОВ (СИСТЕМЫ УПРАВЛЕНИЯ ГИБРИДНОЙ СИСТЕМОЙ)

    1. Подключите GTS к DLC3.

    2. Включите питание (IG).

    3. Войдите в следующие меню: Powertrain / Hybrid Control / Trouble Codes.

    4. Считайте данные фиксированного набора параметров для DTC P3004-131.

      Powertrain > Hybrid Control > Trouble Codes

      Tip:

      Считайте данные фиксированного набора параметров "VH-Voltage after Boosting", "Power Resource VB" и "VL-Voltage before Boosting".

      Result

      Result

      Перейдите к

      При выполнении обоих следующих условий:

      • Напряжение после повышения (VH-Voltage after Boosting) ниже 50 В.

      • Разность между напряжением высоковольтной аккумуляторной батареи (Power Resource VB) и напряжением до повышения (VL-Voltage before Boosting) не превышает 40 В.

      А

      За исключением указанного выше

      B

    5. Выключите питание.

    A

    ЗАМЕНИТЕ ПРЕОБРАЗОВАТЕЛЬ-ИНВЕРТОР В СБОРЕ

    Нажмите здесьClick hereClick hereClick here

    B
  3. ПРОВЕРЬТЕ ПОДКЛЮЧЕНИЕ РАЗЪЕМА (ЭБУ ГИБРИДНОЙ СИСТЕМЫ)

    Нажмите здесьClick here

    Результат

    Перейти к

    OK

    НЕ СООТВ.

    НЕ СООТВ.

    ПРОВЕРЬТЕ НАДЕЖНОСТЬ ПОДКЛЮЧЕНИЯ

    СООТВ
  4. ПРОВЕРЬТЕ ПОДКЛЮЧЕНИЕ РАЗЪЕМА (РАЗЪЕМ НАПОЛЬНОГО ПРОВОДА № 2)

    Нажмите здесьClick here

    Результат

    Перейти к

    OK

    НЕ СООТВ.

    НЕ СООТВ.

    ПРОВЕРЬТЕ НАДЕЖНОСТЬ ПОДКЛЮЧЕНИЯ

    СООТВ
  5. ПРОВЕРЬТЕ ПОДКЛЮЧЕНИЕ РАЗЪЕМА (ЖГУТА ЭЛЕКТРОПРОВОДКИ БЛОКА АККУМУЛЯТОРНЫХ БАТАРЕЙ ГИБРИДНОЙ СИСТЕМЫ № 2)

    Нажмите здесьClick here

    Result

    Result

    Перейти к

    OK

    А

    NG (разъем не подсоединен надежно)

    B

    NG (отсутствует надежный контакт между выводами, либо они деформированы, или же в разъем попала вода или посторонние вещества)

    C

    B

    ПРОВЕРЬТЕ НАДЕЖНОСТЬ ПОДКЛЮЧЕНИЯ

    C

    ОТРЕМОНТИРУЙТЕ ИЛИ ЗАМЕНИТЕ ЖГУТ ПРОВОДОВ ИЛИ РАЗЪЕМ

    A
  6. ПРОВЕРЬТЕ ПОДКЛЮЧЕНИЕ РАЗЪЕМА (РАСПРЕДЕЛИТЕЛЬНОГО БЛОКА ВЫСОКОВОЛЬТНОЙ АККУМУЛЯТОРНОЙ БАТАРЕИ В СБОРЕ)

    Нажмите здесьClick here

    Результат

    Перейти к

    OK

    НЕ СООТВ.

    НЕ СООТВ.

    ПРОВЕРЬТЕ НАДЕЖНОСТЬ ПОДКЛЮЧЕНИЯ

    СООТВ
  7. ПРОВЕРЬТЕ ЖГУТ ПРОВОДОВ И РАЗЪЕМ (ЭБУ ГИБРИДНОЙ СИСТЕМЫ - РАСПРЕДЕЛИТЕЛЬНЫЙ БЛОК ВЫСОКОВОЛЬТНОЙ АККУМУЛЯТОРНОЙ БАТАРЕИ В СБОРЕ)

    CAUTION:

    Работайте в электроизолирующих перчатках и защитных очках.

    1. Убедитесь, что зажим сервисного размыкателя цепи не установлен.

      Note:

      При снятом зажиме сервисного размыкателя цепи не включайте питание (READY), если нет соответствующего указания в руководстве по ремонту, так как это может стать причиной неисправности.

    2. Отсоедините разъем J2 ЭБУ гибридной системы.

    3. Снимите верхнюю крышку высоковольтной аккумуляторной батареи в сборе.

      Нажмите здесьClick hereClick hereClick here

    4. A318907N07

      Отсоедините разъем z18 распределительного блока высоковольтной аккумуляторной батареи в сборе.

    5. A377918C06

      *a

      Вид сзади разъема со стороны жгута проводов

      (к ЭБУ гибридной системы в сборе)

      *b

      Вид сзади разъема со стороны жгута проводов

      (к распределительному блоку высоковольтной аккумуляторной батареи в сборе)

      Измерьте сопротивление в соответствии со значениями, приведенными в таблице ниже.

      Номинальное сопротивление

      Подключение диагностического прибора

      Условие

      Заданные условия

      J2-4 (SMRB) - z18-4 (SMRB)

      Питание выключено

      Менее 1 Ом

      J2-3 (SMRP) - z18-3 (SMRP)

      Питание выключено

      Менее 1 Ом

    6. Подсоедините разъем z18 распределительного блока высоковольтной аккумуляторной батареи в сборе.

    7. Установите верхнюю крышку высоковольтной аккумуляторной батареи в сборе.

    8. Подсоедините разъем J2 ЭБУ гибридной системы.

    Результат

    Перейти к

    OK

    НЕ СООТВ.

    НЕ СООТВ.

    ОТРЕМОНТИРУЙТЕ ИЛИ ЗАМЕНИТЕ ЖГУТ ПРОВОДОВ ИЛИ РАЗЪЕМ

    СООТВ
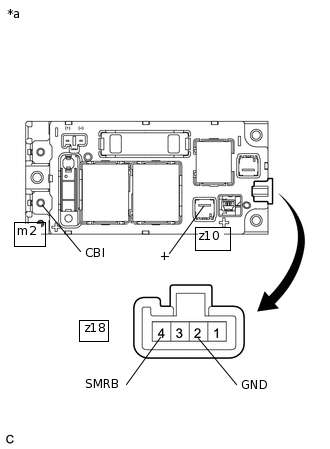
  8. ПРОВЕРЬТЕ РАСПРЕДЕЛИТЕЛЬНЫЙ БЛОК ВЫСОКОВОЛЬТНОЙ АККУМУЛЯТОРНОЙ БАТАРЕИ (SMRB)

    CAUTION:

    Работайте в электроизолирующих перчатках и защитных очках.

    1. Убедитесь, что зажим сервисного размыкателя цепи не установлен.

      Note:

      При снятом зажиме сервисного размыкателя цепи не включайте питание (READY), если нет соответствующего указания в руководстве по ремонту, так как это может стать причиной неисправности.

    2. Снимите распределительный блок высоковольтной аккумуляторной батареи в сборе.

      Нажмите здесьClick hereClick hereClick here

    3. A215628C68

      *a

      Устройство с неподсоединенным жгутом проводов

      (Распределительный блок высоковольтной вспомогательной аккумуляторной батареи в сборе)

      Измерьте сопротивление в соответствии со значениями, приведенными в таблице ниже.

      Номинальное сопротивление

      Подключение диагностического прибора

      Условие

      Заданные условия

      m2-1 (CBI) - z10-1 (+)

      Напряжение вспомогательной аккумуляторной батареи подается на контакты z18-4 (SMRB) и z18-2 (GND)

      Менее 1 Ом

    4. Измерьте сопротивление в соответствии со значениями, приведенными в таблице ниже.

      Номинальное сопротивление

      Подключение диагностического прибора

      Условие

      Заданные условия

      z18-4 (SMRB) - z18-2 (GND)

      -40 - 80°C (-40 - 176°F)

      18,4 - 36,3 Ом

    5. Установите распределительный блок высоковольтной аккумуляторной батареи в сборе.

    Результат

    Перейти к

    OK

    НЕ СООТВ.

    НЕ СООТВ.

    ЗАМЕНИТЕ РАСПРЕДЕЛИТЕЛЬНЫЙ БЛОК ВЫСОКОВОЛЬТНОЙ АККУМУЛЯТОРНОЙ БАТАРЕИ В СБОРЕ

    Нажмите здесьClick hereClick hereClick here

    СООТВ
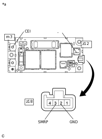
  9. ПРОВЕРЬТЕ РАСПРЕДЕЛИТЕЛЬНЫЙ БЛОК ВЫСОКОВОЛЬТНОЙ АККУМУЛЯТОРНОЙ БАТАРЕИ (SMRP)

    CAUTION:

    Работайте в электроизолирующих перчатках и защитных очках.

    1. Убедитесь, что зажим сервисного размыкателя цепи не установлен.

      Note:

      При снятом зажиме сервисного размыкателя цепи не включайте питание (READY), если нет соответствующего указания в руководстве по ремонту, так как это может стать причиной неисправности.

    2. Снимите распределительный блок высоковольтной аккумуляторной батареи в сборе.

      Нажмите здесьClick hereClick hereClick here

    3. A215628C70

      *a

      Устройство с неподсоединенным жгутом проводов

      (Распределительный блок высоковольтной вспомогательной аккумуляторной батареи в сборе)

      Измерьте сопротивление в соответствии со значениями, приведенными в таблице ниже.

      Номинальное сопротивление

      Подключение диагностического прибора

      Условие

      Заданные условия

      m3-1 (CEI) - z12-1 (-)

      Напряжение вспомогательной аккумуляторной батареи подается на контакты z18-3 (SMRP) и z18-2 (GND)

      28,5-31,5 Ом

    4. Измерьте сопротивление в соответствии со значениями, приведенными в таблице ниже.

      Номинальное сопротивление

      Подключение диагностического прибора

      Условие

      Заданные условия

      z18-3 (SMRP) - z18-2 (GND)

      -40 - 80°C (-40 - 176°F)

      112 - 274 Ом

    5. Установите распределительный блок высоковольтной аккумуляторной батареи в сборе.

    Результат

    Перейти к

    OK

    НЕ СООТВ.

    НЕ СООТВ.

    ЗАМЕНИТЕ РАСПРЕДЕЛИТЕЛЬНЫЙ БЛОК ВЫСОКОВОЛЬТНОЙ АККУМУЛЯТОРНОЙ БАТАРЕИ В СБОРЕ

    Нажмите здесьClick hereClick hereClick here

    СООТВ
  10. ПРОВЕРЬТЕ ПРЕОБРАЗОВАТЕЛЬ-ИНВЕРТОР В СБОРЕ (ПОДКЛЮЧЕНИЕ ЖГУТА ПРОВОДОВ ПОД ПОЛОМ ГИБРИДНОГО АВТОМОБИЛЯ)

    CAUTION:

    Не забывайте надевать электроизолирующие перчатки.

    1. Убедитесь, что зажим сервисного размыкателя цепи не установлен.

      Note:

      При снятом зажиме сервисного размыкателя цепи не включайте питание (READY), если нет соответствующего указания в руководстве по ремонту, так как это может стать причиной неисправности.

    2. A373462

      Снимите крышку выводов инвертора с преобразователя-инвертора в сборе.

    3. A371216

      Убедитесь, что болт жгута проводов под полом гибридного автомобиля затянут с номинальным моментом затяжки, жгут проводов под полом гибридного автомобиля подсоединен надежно, и нарушений контакта нет.

      Заданные условия

      T = 8,0 Н*м (82 кгс*см, 71 фунт-сила-дюйм)

    4. Отсоедините жгут проводов под полом гибридного автомобиля от преобразователя-инвертора в сборе.

    5. Проверьте наличие следов дуги на выводах жгута проводов под полом гибридного автомобиля и преобразователя-инвертора в сборе.

      Результат

      Result

      Перейдите к

      Выводы подсоединены надежно, нарушений контакта нет.

      Следы дуги отсутствуют.

      А

      Выводы подсоединены ненадежно, и имеются нарушения контакта.

      Следы дуги присутствуют.

      B

      Выводы подсоединены ненадежно, и имеются нарушения контакта.

      Следы дуги отсутствуют.

      C

      Выводы подсоединены надежно, нарушений контакта нет.

      Следы дуги присутствуют.

      B

    6. Подсоедините жгут проводов под полом гибридного автомобиля к преобразователю-инвертору в сборе.

    7. Установите крышку выводов инвертора.

    B

    ЗАМЕНИТЕ НЕИСПРАВНЫЕ ДЕТАЛИ

    C

    ПРОВЕРЬТЕ НАДЕЖНОСТЬ ПОДКЛЮЧЕНИЯ

    A
  11. ПРОВЕРЬТЕ РАСПРЕДЕЛИТЕЛЬНЫЙ БЛОК ВЫСОКОВОЛЬТНОЙ АККУМУЛЯТОРНОЙ БАТАРЕИ В СБОРЕ (ПОДКЛЮЧЕНИЕ ЖГУТА ПРОВОДОВ ПОД ПОЛОМ ГИБРИДНОГО АВТОМОБИЛЯ)

    CAUTION:

    Не забывайте надевать электроизолирующие перчатки.

    1. Убедитесь, что зажим сервисного размыкателя цепи не установлен.

      Note:

      При снятом зажиме сервисного размыкателя цепи не включайте питание (READY), если нет соответствующего указания в руководстве по ремонту, так как это может стать причиной неисправности.

    2. Снимите панель экрана высоковольтной аккумуляторной батареи № 8.

      Нажмите здесьClick hereClick hereClick here

    3. A318902

      Убедитесь, что гайки жгута проводов под полом гибридного автомобиля затянуты с номинальным моментом затяжки, жгут проводов под полом гибридного автомобиля подсоединен надежно, и нарушений контакта нет.

      Заданные условия

      T = 9,0 Н*м (92 кгс*см, 80 фунт-сила-дюймов)

    4. Отсоедините жгут проводов под полом гибридного автомобиля от распределительного блока высоковольтной аккумуляторной батареи в сборе.

    5. Проверьте наличие следов дуги на выводах жгута проводов под полом гибридного автомобиля и распределительного блока высоковольтной аккумуляторной батареи в сборе.

      Результат

      Result

      Перейдите к

      Выводы подсоединены надежно, нарушений контакта нет.

      Следы дуги отсутствуют.

      А

      Выводы подсоединены ненадежно, и имеются нарушения контакта.

      Следы дуги присутствуют.

      B

      Выводы подсоединены ненадежно, и имеются нарушения контакта.

      Следы дуги отсутствуют.

      C

      Выводы подсоединены надежно, нарушений контакта нет.

      Следы дуги присутствуют.

      B

    6. Подсоедините жгут проводов под полом гибридного автомобиля к распределительному блоку высоковольтной аккумуляторной батареи в сборе.

    7. Установите панель экрана высоковольтной аккумуляторной батареи № 8.

    B

    ЗАМЕНИТЕ НЕИСПРАВНЫЕ ДЕТАЛИ

    C

    ПРОВЕРЬТЕ НАДЕЖНОСТЬ ПОДКЛЮЧЕНИЯ

    A
  12. ПРОВЕРЬТЕ ЖГУТ ПРОВОДОВ ПОД ПОЛОМ ГИБРИДНОГО АВТОМОБИЛЯ

    CAUTION:

    Не забывайте надевать электроизолирующие перчатки.

    1. Убедитесь, что зажим сервисного размыкателя цепи не установлен.

      Note:

      При снятом зажиме сервисного размыкателя цепи не включайте питание (READY), если нет соответствующего указания в руководстве по ремонту, так как это может стать причиной неисправности.

    2. Снимите панель экрана высоковольтной аккумуляторной батареи № 8.

      Нажмите здесьClick hereClick hereClick here

    3. A318902

      Отсоедините жгут проводов под полом гибридного автомобиля от распределительного блока высоковольтной аккумуляторной батареи в сборе.

    4. A373462

      Снимите крышку выводов инвертора с преобразователя-инвертора в сборе.

    5. A371216

      Отсоедините жгут проводов под полом гибридного автомобиля от преобразователя-инвертора в сборе.

    6. A377982C01

      *1

      Красная метка

      *a

      Жгут проводов под полом гибридного автомобиля

      (со стороны преобразователя-инвертора в сборе)

      *b

      Жгут проводов под полом гибридного автомобиля

      (со стороны распределительного блока высоковольтной аккумуляторной батареи в сборе)

      Измерьте сопротивление в соответствии со значениями, приведенными в таблице ниже.

      Номинальное сопротивление

      Подключение диагностического прибора

      Условие

      Заданные условия

      m1-2 (CBI) - m2-1 (CBI)

      Питание выключено

      Менее 1 Ом

      m1-1 (CEI) - m3-1 (CEI)

      Питание выключено

      Менее 1 Ом

    7. Подсоедините жгут проводов под полом гибридного автомобиля к преобразователю-инвертору в сборе.

    8. Установите крышку выводов инвертора.

    9. Подсоедините жгут проводов под полом гибридного автомобиля к распределительному блоку высоковольтной аккумуляторной батареи в сборе.

    10. Установите панель экрана высоковольтной аккумуляторной батареи № 8.

    Результат

    Перейти к

    OK

    НЕ СООТВ.

    НЕ СООТВ.

    ЗАМЕНИТЕ ЖГУТ ПРОВОДОВ ПОД ПОЛОМ ГИБРИДНОГО АВТОМОБИЛЯ

    Нажмите здесьClick hereClick hereClick here

    СООТВ
  13. ПРОВЕРЬТЕ РАСПРЕДЕЛИТЕЛЬНЫЙ БЛОК ВЫСОКОВОЛЬТНОЙ АККУМУЛЯТОРНОЙ БАТАРЕИ В СБОРЕ (ПОДКЛЮЧЕНИЕ РАЗЪЕМА ВЫСОКОГО НАПРЯЖЕНИЯ АККУМУЛЯТОРНОЙ БАТАРЕИ ГИБРИДНОЙ СИСТЕМЫ)

    CAUTION:

    Работайте в электроизолирующих перчатках и защитных очках.

    1. Убедитесь, что зажим сервисного размыкателя цепи не установлен.

      Note:

      При снятом зажиме сервисного размыкателя цепи не включайте питание (READY), если нет соответствующего указания в руководстве по ремонту, так как это может стать причиной неисправности.

    2. Снимите верхнюю крышку высоковольтной аккумуляторной батареи в сборе.

      Нажмите здесьClick hereClick hereClick here

    3. A318905

      Проверьте состояние соединения между 2 разъемами высокого напряжения высоковольтной аккумуляторной батареи и распределительным блоком высоковольтной аккумуляторной батареи в сборе.

    4. Отсоедините 2 разъема высокого напряжения высоковольтной аккумуляторной батареи от распределительного блока высоковольтной аккумуляторной батареи в сборе.

    5. Проверьте наличие следов дуги на контактах высокого напряжения аккумуляторной батареи гибридной системы.

      Result

      Result

      Перейдите к

      Выводы подсоединены надежно, нарушений контакта нет.

      Следы дуги отсутствуют.

      А

      Выводы подсоединены ненадежно, и имеются нарушения контакта.

      Следы дуги присутствуют.

      B

      Выводы подсоединены ненадежно, и имеются нарушения контакта.

      Следы дуги отсутствуют.

      C

      Выводы подсоединены надежно, нарушений контакта нет.

      Следы дуги присутствуют.

      B

    6. Подсоедините 2 разъема высокого напряжения высоковольтной аккумуляторной батареи.

    7. Установите верхнюю крышку высоковольтной аккумуляторной батареи в сборе.

    B

    ЗАМЕНИТЕ НЕИСПРАВНЫЕ ДЕТАЛИ

    C

    ПРОВЕРЬТЕ НАДЕЖНОСТЬ ПОДКЛЮЧЕНИЯ

    A
  14. ПРОВЕРЬТЕ ВЫСОКОВОЛЬТНУЮ АККУМУЛЯТОРНУЮ БАТАРЕЮ

    CAUTION:

    Работайте в электроизолирующих перчатках и защитных очках.

    1. Убедитесь, что зажим сервисного размыкателя цепи не установлен.

      Note:

      При снятом зажиме сервисного размыкателя цепи не включайте питание (READY), если нет соответствующего указания в руководстве по ремонту, так как это может стать причиной неисправности.

    2. Снимите верхнюю крышку высоковольтной аккумуляторной батареи в сборе.

      Нажмите здесьClick hereClick hereClick here

    3. Отсоедините 2 разъема высокого напряжения высоковольтной аккумуляторной батареи от распределительного блока высоковольтной аккумуляторной батареи в сборе.

    4. Измерьте напряжение в соответствии со значениями, приведенными в таблице.

      A320280C05

      *a

      Вид спереди разъема со стороны жгута проводов:

      (к распределительному блоку высоковольтной аккумуляторной батареи в сборе)

      *b

      Зажим сервисного размыкателя цепи снят

      (соединительные контакты зажима сервисного размыкателя цепи)

      Номинальное напряжение

      Подключение диагностического прибора

      Условие

      Заданные условия

      z10-1 (+) - контакт 1 сервисного размыкателя цепи

      Питание выключено

      160 В или более

      z12-1 (-) - контакт 2 сервисного размыкателя цепи

      Питание выключено

      80 В или более

      CAUTION:

      Не допускайте соприкосновения щупов электрического диагностического прибора во время выполнения этой проверки.

    5. Подсоедините 2 разъема высокого напряжения высоковольтной аккумуляторной батареи.

    6. Установите верхнюю крышку высоковольтной аккумуляторной батареи в сборе.

    Результат

    Перейти к

    OK

    НЕ СООТВ.

    НЕ СООТВ.

    ЗАМЕНИТЕ ВЫСОКОВОЛЬТНУЮ АККУМУЛЯТОРНУЮ БАТАРЕЮ

    Нажмите здесьClick hereClick hereClick here

    OK
  15. ПРОВЕРЬТЕ, НЕТ ЛИ ЭПИЗОДИЧЕСКИХ НЕИСПРАВНОСТЕЙ

    1. Проверьте, нет ли эпизодических неисправностей.

      Нажмите здесьClick here

    Результат

    Перейти к

    Признак неисправности не проявляется.

    Признак неисправности проявляется снова.

    Tip:
    • В связи с использованием логики диагностирования за 2 поездки условие регистрации DTC должно быть выполнено дважды.

    • Если после выполнения рассматриваемой проверки снова выводится DTC P3004-131, замените преобразователь-инвертор в сборе. Если DTC P3004-131 не выводится снова, замените распределительный блок высоковольтной аккумуляторной батареи в сборе.

    Признак неисправности не проявляется.

    ЗАМЕНИТЕ РАСПРЕДЕЛИТЕЛЬНЫЙ БЛОК ВЫСОКОВОЛЬТНОЙ АККУМУЛЯТОРНОЙ БАТАРЕИ В СБОРЕ

    Нажмите здесьClick hereClick hereClick here

    Признак неисправности проявляется снова.

    ЗАМЕНИТЕ ПРЕОБРАЗОВАТЕЛЬ-ИНВЕРТОР В СБОРЕ

    Нажмите здесьClick hereClick hereClick here