FUEL SYSTEM


  1. CONSTRUCTION


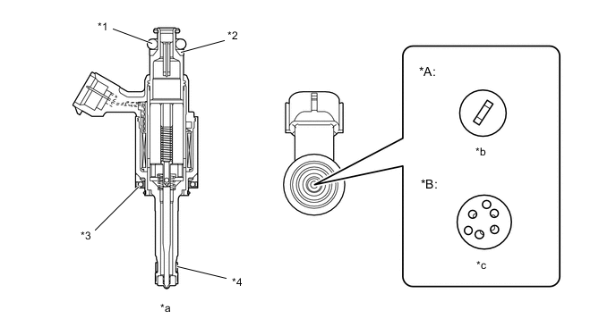
    1. A 1-hole type high pressure slit nozzle fuel injector assembly (for direct injection), which has 1 injection hole shaped like a slit, is used.*1


      • *1: Models without gasoline particulate filter (GPF) system

    2. A multi-hole type high pressure fuel injector assembly (for direct injection) is used.*2


      • *2: Models with gasoline particulate filter (GPF) system

    3. The use of this fuel injector assembly (for direct injection) causes the fuel to become highly atomized and spread over a wide fan-shaped area. At the same time, the fuel is mixed with a large amount of air and injected into the combustion chamber. As a result, fuel injection dissipation performance is improved to achieve a homogeneous air-fuel mixture, high performance and high engine output.

    4. A Teflon sealant is used for the cylinder internal pressure sealant and an insulator is used at the cylinder head sub-assembly contact area to reduce vibration and noise and improve sealing performance.

    5. An O-ring and backup ring* are used in the fuel injector assembly (for direct injection). As a result, the transmission of operation noise from the fuel injector assembly (for direct injection) is reduced to improve quietness and ensure fastener airtightness.

      Note

      *: The backup ring is installed to securely support the rubber O-ring, which is subjected to high pressures. Take care to install the backup ring in the correct direction at the correct installation position.

      B008G7QC01
      *A Models without Gasoline Particulate Filter (GPF) System *B Models with Gasoline Particulate Filter (GPF) System
      *1 O-ring *2 Backup Ring
      *3 Insulator *4 Teflon Sealant
      *a Fuel Injector Assembly (for Direct Injection) Cross Section *b 1-hole Type Injection Hole
      *c 6-hole Type Injection Hole - -