DIFFERENTIAL SIDE GEAR SHAFT INSTALLATION

PROCEDURE

  1. INSTALL DIFFERENTIAL SIDE GEAR SHAFT DUST COVER LH

    1. for LH Side:

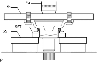
      1. C298103C02

        *a

        Press

        *b

        Steel Plate

        Using SST, a steel plate and a press, install a new dust cover to the differential side gear shaft sub-assembly.

        09527-21011

        09726-40010

        Note:
        • Make sure that the edge of the dust cover is securely installed to the differential side gear shaft sub-assembly.

        • Do not damage the dust cover.

    2. for RH Side:

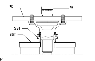
      1. C298104C02

        *a

        Press

        *b

        Steel Plate

        Using SST, a steel plate and a press, install a new dust cover to the differential side gear shaft sub-assembly.

        09309-14010

        09527-20011

        Note:
        • Make sure that the edge of the dust cover is securely installed to the differential side gear shaft sub-assembly.

        • Do not damage the dust cover.

  2. INSTALL DIFFERENTIAL SIDE GEAR SHAFT SUB-ASSEMBLY LH

    1. Install a new differential side gear shaft snap ring to the differential side gear shaft sub-assembly.

    2. Using SST, install the differential side gear shaft sub-assembly to the rear traction motor with transaxle assembly.

      09520-24010

      09520-04010

      09520-32040

      Note:
      • Position the differential side gear shaft snap ring with the opening facing downward.

      • Do not tap the differential side gear shaft sub-assembly at an angle. If the differential side gear shaft sub-assembly is tapped at an angle, replace the differential side gear shaft snap ring with a new one.

      • Do not damage the rear transaxle side gear oil seal.

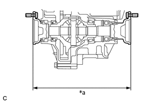
    3. C170292C01

      *a

      272.9 mm (10.744 in.) or Less

      Using a vernier caliper, measure the distance between the right and left differential side gear shaft sub-assemblies as shown in the illustration.

      Standard Distance

      272.9 mm (10.744 in.) or Less

  3. INSTALL REAR DRIVE SHAFT ASSEMBLY

  4. ADD HYBRID TRANSAXLE FLUID

  5. INSPECT HYBRID TRANSAXLE FLUID