NAVIGATION SYSTEM, Diagnostic DTC:B15C0 and B15C1

DTC Code DTC Name
B15C0 GPS Antenna Connection Malfunction(short)
B15C1 GPS Antenna Connection Malfunction(break)

DESCRIPTION

These DTCs are stored when a malfunction occurs in the navigation antenna assembly.

DTC No.

Detection Item

DTC Detection Condition

Trouble Area

B15C0

GPS Antenna Connection Malfunction(short)

Navigation antenna error

  • Navigation antenna assembly*1

  • No. 1 Amplifier Antenna Assembly*2

  • No. 3 antenna cord sub-assembly*2

  • No. 2 antenna cord sub-assembly*2

  • Antenna cord sub-assembly

  • Navigation ECU

  • Antenna divider*3

  • Harness or connector

B15C1

GPS Antenna Connection Malfunction(break)

Error of the power source to the navigation antenna

  • Navigation antenna assembly*1

  • No. 1 Amplifier Antenna Assembly*2

  • No. 3 antenna cord sub-assembly*2

  • No. 2 antenna cord sub-assembly*2

  • Antenna cord sub-assembly

  • Navigation ECU

  • Antenna divider*3

  • Harness or connector

  • *1: Except models with the vehicle identification number on the certification label ending with the character X.

  • *2: Only for models with the vehicle identification number on the certification label ending with the character X.

  • *3: w/ Telematics Transceiver

WIRING DIAGRAM

E350990E02
E350991E03

CAUTION / NOTICE / HINT

Note:

Check that the wire harness is properly installed and does not have any sharp bends, pinching or loose connections.

Click here

PROCEDURE

  1. CHECK CONNECTION OF NAVIGATION ANTENNA ASSEMBLY

    1. Check if the navigation antenna assembly is securely connected to the antenna cord sub-assembly.

      OK

      Navigation antenna assembly is securely connected.

    Result

    Proceed to

    OK

    NG

    NG

    SECURELY CONNECT NAVIGATION ANTENNA ASSEMBLY

    OK
  2. CHECK VEHICLE CONDITION

    1. Check the vehicle condition.

    Result

    Result

    Proceed to

    w/o Telematics Transceiver (Except models with the vehicle identification number on the certification label ending with the character X)

    A

    w/o Telematics Transceiver (Only for models with the vehicle identification number on the certification label ending with the character X)

    B

    w/ Telematics Transceiver

    C

    B

    CHECK NO. 3 ANTENNA CORD SUB-ASSEMBLYClick here

    C

    CHECK NO. 3 ANTENNA CORD SUB-ASSEMBLYClick here

    A
  3. CHECK ANTENNA CORD SUB-ASSEMBLY

    1. E337721C04

      *a

      Front view of wire harness connector

      (to Navigation Antenna Assembly)

      *b

      Front view of wire harness connector

      (to Navigation ECU)

      Disconnect the antenna connector from the navigation ECU.

    2. Disconnect the antenna connector from the navigation antenna assembly.

    3. Measure the resistance according to the value(s) in the table below.

      Standard Resistance

      Tester Connection

      Condition

      Specified Condition

      A-1 - B-1

      Always

      Below 1 Ω

      A-1a - B-1a

      Always

      Below 1 Ω

      A-1 or B-1 - Body ground

      Always

      10 kΩ or higher

      A-1a or B-1a - Body ground

      Always

      10 kΩ or higher

    Result

    Proceed to

    OK

    NG

    NG

    REPLACE ANTENNA CORD SUB-ASSEMBLY

    OK
  4. CHECK NAVIGATION ANTENNA ASSEMBLY

    1. Replace the navigation antenna assembly with a new or known good one.

      Click here

    2. Clear the DTCs.

      Click here

      Body Electrical > Navigation System > Clear DTCs

    3. Check for DTCs.

      Click here

      Body Electrical > Navigation System > Trouble Codes

      OK

      No DTCs are output.

    Result

    Proceed to

    OK

    NG

    OK

    END (NAVIGATION ANTENNA ASSEMBLY IS DEFECTIVE)

    NG

    REPLACE NAVIGATION ECU

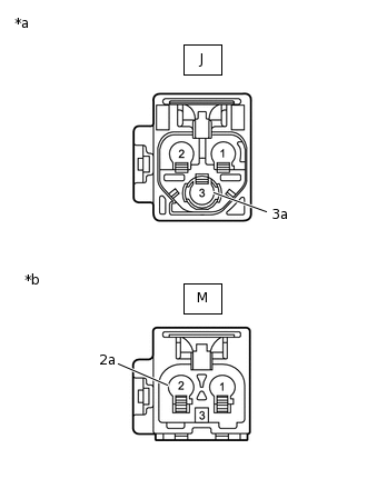
  5. CHECK NO. 3 ANTENNA CORD SUB-ASSEMBLY

    1. E332809C06

      *a

      Front view of wire harness connector

      (to No. 1 Amplifier Antenna Assembly)

      *b

      Front view of wire harness connector

      (to No. 2 Antenna Cord Sub-assembly)

      Disconnect the antenna connector from the No. 1 amplifier antenna assembly.

    2. Disconnect the antenna connector from the No. 2 antenna cord sub-assembly.

    3. Measure the resistance according to the value(s) in the table below.

      Standard Resistance

      Tester Connection

      Condition

      Specified Condition

      C-5 - D-2

      Always

      Below 1 Ω

      C-5a - D-2a

      Always

      Below 1 Ω

      C-5 or D-2 - Body ground

      Always

      10 kΩ or higher

      C-5a or D-2a - Body ground

      Always

      10 kΩ or higher

    Result

    Proceed to

    OK

    NG

    NG

    REPLACE NO. 3 ANTENNA CORD SUB-ASSEMBLY

    OK
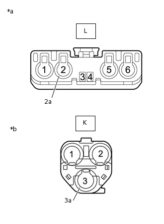
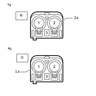
  6. CHECK NO. 2 ANTENNA CORD SUB-ASSEMBLY

    1. E288795C03

      *a

      Front view of wire harness connector

      (to No. 3 Antenna Cord Sub-assembly)

      *b

      Front view of wire harness connector

      (to Antenna Cord Sub-assembly)

      Disconnect the antenna connector from the No. 3 antenna cord sub-assembly.

    2. Disconnect the antenna connector from the antenna cord sub-assembly.

    3. Measure the resistance according to the value(s) in the table below.

      Standard Resistance

      Tester Connection

      Condition

      Specified Condition

      E-2 - F-1

      Always

      Below 1 Ω

      E-2a - F-1a

      Always

      Below 1 Ω

      E-2 or F-1 - Body ground

      Always

      10 kΩ or higher

      E-2a or F-1a - Body ground

      Always

      10 kΩ or higher

    Result

    Proceed to

    OK

    NG

    NG

    REPLACE NO. 2 ANTENNA CORD SUB-ASSEMBLY

    OK
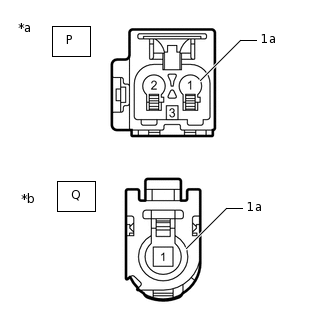
  7. CHECK ANTENNA CORD SUB-ASSEMBLY

    1. E291139C02

      *a

      Front view of wire harness connector

      (to No. 2 Antenna Cord Sub-assembly)

      *b

      Front view of wire harness connector

      (to Navigation ECU)

      Disconnect the antenna connector from the No. 2 antenna cord sub-assembly.

    2. Disconnect the antenna connector from the navigation ECU.

    3. Measure the resistance according to the value(s) in the table below.

      Standard Resistance

      Tester Connection

      Condition

      Specified Condition

      G-1 - H-1

      Always

      Below 1 Ω

      G-1a - H-1a

      Always

      Below 1 Ω

      G-1 or H-1 - Body ground

      Always

      10 kΩ or higher

      G-1a or H-1a - Body ground

      Always

      10 kΩ or higher

    Result

    Proceed to

    OK

    NG

    NG

    REPLACE ANTENNA CORD SUB-ASSEMBLY

    OK
  8. CHECK NO. 1 AMPLIFIER ANTENNA ASSEMBLY

    1. Replace the No. 1 amplifier antenna assembly with a new or known good one.

      Click here

    2. Clear the DTCs.

      Click here

      Body Electrical > Navigation System > Clear DTCs

    3. Check for DTCs.

      Click here

      Body Electrical > Navigation System > Trouble Codes

      OK

      No DTCs are output.

    Result

    Proceed to

    OK

    NG

    OK

    END (NO. 1 AMPLIFIER ANTENNA ASSEMBLY IS DEFECTIVE)

    NG

    REPLACE NAVIGATION ECU

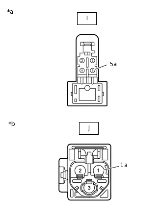
  9. CHECK NO. 3 ANTENNA CORD SUB-ASSEMBLY

    1. E350951C06

      *a

      Front view of wire harness connector

      (to No. 1 amplifier antenna assembly)

      *b

      Front view of wire harness connector

      (to Wire Harnass)

      Disconnect the antenna connector from No. 1 amplifier antenna assembly.

    2. Disconnect the antenna connector from the wire harness.

    3. Measure the resistance according to the value(s) in the table below.

      Standard Resistance

      Tester Connection

      Condition

      Specified Condition

      I-5 - J-1

      Always

      Below 1 Ω

      I-5a - J-1a

      Always

      Below 1 Ω

      I-5 or J-1 - Body ground

      Always

      10 kΩ or higher

      I-5a or J-1a - Body ground

      Always

      10 kΩ or higher

    Result

    Proceed to

    OK

    NG

    NG

    REPLACE NO. 3 ANTENNA CORD SUB-ASSEMBLY

    OK
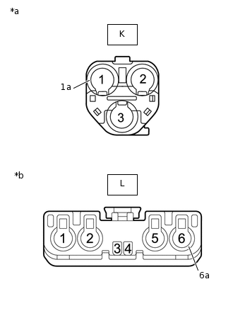
  10. CHECK HARNESS AND CONNECTOR (NO. 3 ANTENNA CORD SUB-ASSEMBLY - ANTENNA DIVIDER)

    1. Disconnect the antenna connector from the No. 3 antenna cord sub-assembly.

    2. Disconnect the antenna connector from the antenna divider.

    3. E350976C03

      *a

      Front view of wire harness connector

      (to No. 3 Antenna Cord Sub-assembly)

      *a

      Front view of wire harness connector

      (to Antenna Divider)

      Measure the resistance according to the value(s) in the table below.

      Standard Resistance

      Tester Connection

      Condition

      Specified Condition

      K-1 - L-6

      Always

      Below 1 Ω

      K-1a - L-6a

      Always

      Below 1 Ω

      K-1 or L-6 - Body ground

      Always

      10 kΩ or higher

      K-1a or L-6a - Body ground

      Always

      10 kΩ or higher

    Result

    Proceed to

    OK

    NG

    NG

    REPAIR OR REPLACE HARNESS OR CONNECTOR

    OK
  11. INSPECT ANTENNA DIVIDER

    1. Remove the antenna divider.

      Click here

    2. E241596C11

      *a

      Component without harness connected

      (Antenna Divider)

      Measure the resistance according to the value(s) in the table below.

      Standard Resistance

      Tester Connection

      Condition

      Specified Condition

      6 - 2

      Always

      10 kΩ or higher

      2 - 2a

      Always

      243 to 267 Ω

      6 - 6a

      Always

      10 kΩ or higher

    Result

    Proceed to

    OK

    NG

    NG

    REPLACE ANTENNA DIVIDER

    OK
  12. CHECK HARNESS AND CONNECTOR (ANTENNA DIVIDER - NO. 3 ANTENNA CORD SUB-ASSEMBLY)

    1. Disconnect the antenna connector from the No. 3 antenna cord sub-assembly.

    2. Disconnect the antenna connector from the antenna divider.

    3. E350992C02

      *a

      Front view of wire harness connector

      (to Antenna Divider)

      *a

      Front view of wire harness connector

      (to No. 3 Antenna Cord Sub-assembly)

      Measure the resistance according to the value(s) in the table below.

      Standard Resistance

      Tester Connection

      Condition

      Specified Condition

      L-2 - K-3

      Always

      Below 1 Ω

      L-2a - K-3a

      Always

      Below 1 Ω

      L-2 or K-3 - Body ground

      Always

      10 kΩ or higher

      L-2a or K-3a - Body ground

      Always

      10 kΩ or higher

    Result

    Proceed to

    OK

    NG

    NG

    REPAIR OR REPLACE HARNESS OR CONNECTOR

    OK
  13. CHECK NO. 3 ANTENNA CORD SUB-ASSEMBLY

    1. E350993C01

      *a

      Front view of wire harness connector

      (to wire harness)

      *b

      Front view of wire harness connector

      (to No. 2 Antenna Cord Sub-assembly)

      Disconnect the antenna connector from the wire harness.

    2. Disconnect the antenna connector from the No. 2 antenna cord sub-assembly.

    3. Measure the resistance according to the value(s) in the table below.

      Standard Resistance

      Tester Connection

      Condition

      Specified Condition

      J-3 - M-2

      Always

      Below 1 Ω

      J-3a - M-2a

      Always

      Below 1 Ω

      J-3 or M-2 - Body ground

      Always

      10 kΩ or higher

      J-3a or M-2a - Body ground

      Always

      10 kΩ or higher

    Result

    Proceed to

    OK

    NG

    NG

    REPLACE NO. 3 ANTENNA CORD SUB-ASSEMBLY

    OK
  14. CHECK NO. 2 ANTENNA CORD SUB-ASSEMBLY

    1. E288795C04

      *a

      Front view of wire harness connector

      (to No. 3 Antenna Cord Sub-assembly)

      *b

      Front view of wire harness connector

      (to Antenna Cord Sub-assembly)

      Disconnect the antenna connector from the No. 3 antenna cord sub-assembly.

    2. Disconnect the antenna connector from the antenna cord sub-assembly.

    3. Measure the resistance according to the value(s) in the table below.

      Standard Resistance

      Tester Connection

      Condition

      Specified Condition

      N-2 - O-1

      Always

      Below 1 Ω

      N-2a - O-1a

      Always

      Below 1 Ω

      N-2 or O-1 - Body ground

      Always

      10 kΩ or higher

      N-2a or O-1a - Body ground

      Always

      10 kΩ or higher

    Result

    Proceed to

    OK

    NG

    NG

    REPLACE NO. 2 ANTENNA CORD SUB-ASSEMBLY

    OK
  15. CHECK ANTENNA CORD SUB-ASSEMBLY

    1. E291139C03

      *a

      Front view of wire harness connector

      (to No. 2 Antenna Cord Sub-assembly)

      *b

      Front view of wire harness connector

      (to Navigation ECU)

      Disconnect the antenna connector from the No. 2 antenna cord sub-assembly.

    2. Disconnect the antenna connector from the navigation ECU.

    3. Measure the resistance according to the value(s) in the table below.

      Standard Resistance

      Tester Connection

      Condition

      Specified Condition

      P-1 - Q-1

      Always

      Below 1 Ω

      P-1a - Q-1a

      Always

      Below 1 Ω

      P-1 or Q-1 - Body ground

      Always

      10 kΩ or higher

      P-1a or Q-1a - Body ground

      Always

      10 kΩ or higher

    Result

    Proceed to

    OK

    NG

    NG

    REPLACE ANTENNA CORD SUB-ASSEMBLY

    OK
  16. CHECK NO. 1 AMPLIFIER ANTENNA ASSEMBLY

    1. Replace the No. 1 amplifier antenna assembly with a new or known good one.

      Click here

    2. Clear the DTCs.

      Click here

      Body Electrical > Navigation System > Clear DTCs

    3. Check for DTCs.

      Click here

      Body Electrical > Navigation System > Trouble Codes

      OK

      No DTCs are output.

    Result

    Proceed to

    OK

    NG

    OK

    END (NO. 1 AMPLIFIER ANTENNA ASSEMBLY IS DEFECTIVE)

    NG
  17. CHECK ANTENNA DIVIDER

    1. Replace the antenna divider with a new or known good one.

      Click here

    2. Clear the DTCs.

      Click here

      Body Electrical > Navigation System > Clear DTCs

    3. Check for DTCs.

      Click here

      Body Electrical > Navigation System > Trouble Codes

      OK

      No DTCs are output.

    Result

    Proceed to

    OK

    NG

    OK

    END (ANTENNA DIVIDER IS DEFECTIVE)

    NG

    REPLACE NAVIGATION ECU