ENGINE UNIT


  1. CONSTRUCTION


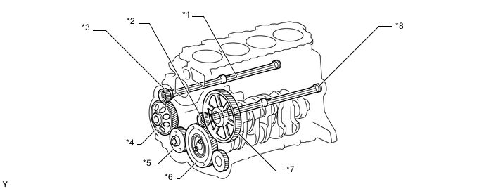
    1. For in-line 4-cylinder engines, the main cause of vibration is the imbalanced inertial force of reciprocating parts, such as the pistons and connecting rods. Engine vibration has been reduced by using 2 balance shafts to cancel the imbalanced inertial force, thereby reducing engine noise (booming noise).

    2. These balance shafts are built into the cylinder block. Driven by the timing gear, the balance shafts rotate at twice the speed of the crankshaft and in the opposite direction of each other.

      B0020C4C05
      *1 No. 1 Balance Shaft Sub-assembly *2 No. 2 Balance Shaft Driven Gear
      *3 No. 1 Balance Shaft Driven Gear *4 Oil Pump Drive Gear
      *5 Crankshaft Timing Gear *6 No. 1 Idle Gear
      *7 Supply Pump Drive Gear *8 No. 2 Balance Shaft Sub-assembly
  2. OPERATION


    1. In the in-line 4-cylinder engine, the crankshaft angle for No. 1 and No. 4 cylinders are at the exact opposite (180°) positions of No. 2 and No. 3 cylinders. Therefore, the inertial force of the pistons and the connecting rods of the former 2 cylinders and of the latter 2 cylinders almost cancel each other out. However, because the position at which the piston reaches its maximum speed is located toward the top dead center from the center of the stroke, the upward inertial force is greater than the downward inertial force. This unbalanced secondary inertial force is generated twice for each rotation of the crankshaft.

      B0020AJE06
      *1 Top Dead Center
      *2 Point of Max. Speed
      *3 Bottom Dead Center
      B0020B2E09
    2. To cancel the unbalanced secondary inertial force, 2 balance shafts are rotated twice for each rotation of the crankshaft and generate inertial force in the opposite direction. Also, in order to cancel the inertial force generated by the balance shaft itself, the balance shaft actually consists of 2 shafts rotating in opposite directions.

      B0020JYE05
      *1 Inertial Force of Balancer
      *2 Crankshaft Angle
      *3 Secondary Inertial Force
      *4 Mass Direction of Balance Shaft