СИСТЕМА УПРАВЛЕНИЯ ГИБРИДНОЙ СИСТЕМОЙ Цепь режима "EV" переключателя выбора режима

Код DTC Наименование DTC
Цепь режима "EV" переключателя выбора режима

ОПИСАНИЕ

Когда водитель нажимает выключатель режима привода EV (комбинированный переключатель в сборе), сигнал режима привода EV передается в ЭБУ гибридной системы. Если выполняются заданные условия, система переходит в режим привода EV, и автомобиль будет двигаться в режиме привода EV. Затем ЭБУ гибридной системы передает этот сигнал по шине CAN в щиток приборов для включения контрольной лампы режима привода EV.

СХЕМА ЭЛЕКТРИЧЕСКИХ СОЕДИНЕНИЙ

C280820E25

ПРЕДОСТЕРЕЖЕНИЕ / ПРИМЕЧАНИЕ / УКАЗАНИЕ

При невыполнении какого-либо из перечисленных ниже условий режим привода EV может быть не включен или отменен (Включится зуммер, оповещая об отмене перехода в режим привода EV.)

Условие перехода в режим привода EV

Информация на дисплее прибора

Заданные условия

Степень заряда высоковольтной аккумуляторной батареи

State of Charge (All Bat)

Примерно 50% или выше

Измерение положения педали акселератора

Accelerator Degree

Примерно менее 30%

Температура охлаждающей жидкости

Engine Coolant Temp

Не менее 0°C (32°F)

Температура высоковольтной аккумуляторной батареи

Temp of Batt TB1 - TB6

Между 0 - 40°C (32 - 104°F)

Скорость движения автомобиля

(изменяется в зависимости от степени прогрева двигателя)

Vehicle Spd

В холодном состоянии: 15 км/час (9 миль в час) или менее

После прогрева: 40 км/час (25 миль в час) и менее

Win

Charge Control Value

Менее -20 кВт

Wout

Discharge Control Value

20 кВт или более

Через оттаиватель

-

OFF (ВЫКЛ)

Круиз-контроль

-

OFF (ВЫКЛ)

ПОРЯДОК ВЫПОЛНЕНИЯ

  1. ЗАПРОСИТЕ ИНФОРМАЦИЮ О СОСТОЯНИИ АВТОМОБИЛЯ

    1. Проверьте, звучал ли сигнал зуммера, и отображалось ли сообщение на мультиинформационном дисплее при попытке войти в режим привода EV.

      Результат

      Result

      Перейдите к

      Зуммер не звучал, и сообщение на мультиинформационном дисплее не отображалось.

      A

      Зуммер звучал, и сообщение на мультиинформационном дисплее отображалось.

      B

      Tip:

      Если звучит зуммер, и отображается сообщение на мультиинформационном дисплее, одно или несколько условий перехода в режим привода EV не были удовлетворены. Прежде чем нажимать на выключатель режима привода EV (комбинированный переключатель в сборе), убедитесь, что выполняются все условия для перехода в режим привода EV.

    B

    КОНЕЦ

    A
  2. СНИМИТЕ ПОКАЗАНИЯ GTS (ПРОВЕРКА ШИНЫ CAN)

    1. Подключите GTS к DLC3.

    2. Включите зажигание (IG).

    3. Войдите в следующие меню: System Select / CAN Bus Check.

      Проверка шины CAN

      Result

      Result

      Перейдите к

      Отображаются все ЭБУ и датчики, подключенные к системе передачи данных CAN на текущий момент времени.

      А

      Не отображается ни один из ЭБУ и датчиков, которые подключены к системе передачи данных CAN, либо отображаются лишь некоторые из них.

      B

    4. Выключите питание.

    B

    ПЕРЕЙДИТЕ К РАЗДЕЛУ "СИСТЕМА ПЕРЕДАЧИ ДАННЫХ CAN"

    Нажмите здесьClick here

    A
  3. ПРОВЕРЬТЕ, ВЫВОДЯТСЯ ЛИ DTC (HEALTH CHECK)

    1. Подключите GTS к DLC3.

    2. Включите зажигание (IG).

    3. Войдите в следующие меню: System Select / Health Check.

    4. Проверьте наличие кодов DTC.

      Result

      Перейдите к

      Коды DTC не выводятся.

      Выводятся коды DTC.

    5. Выключите зажигание.

    Выданы коды DTC.

    ПЕРЕЙДИТЕ К ТАБЛИЦЕ DTC

    Коды DTC не выводятся.
  4. СНИМИТЕ ПОКАЗАНИЯ GTS (ЗАПРОС EV, ПЕРЕКЛЮЧАТЕЛЬ EV)

    1. Подключите GTS к DLC3.

    2. Включите питание (IG).

    3. Войдите в следующие меню: Powertrain / Hybrid Control / Data List / EV request, EV Switch.

      Powertrain > Hybrid Control > Data List

      Информация на дисплее прибора

      EV Request

      EV Switch

    4. Считайте значение, отображаемое на GTS.

      Powertrain > Hybrid Control > Data List

      Информация на дисплее прибора

      Измеряемая величина

      Диапазон

      Нормальное состояние

      EV Request

      Возможность перехода в режим привода EV

      ON (ВКЛ) или OFF (ВЫКЛ)

      В режиме привода EV: ON (ВКЛ)

      EV Switch

      Состояние выключателя режима привода EV (комбинированного переключателя в сборе)

      ON (ВКЛ) или OFF (ВЫКЛ)

      Выключатель режима привода EV (комбинированный переключатель в сборе) нажат и удерживается: ON (ВКЛ)

      Результат

      Result

      Перейдите к

      Показания на дисплее GTS изменяются в соответствии с положением переключателя режима привода EV (комбинированного переключателя в сборе).

      A

      Показания на дисплее GTS не изменяются в соответствии с положением переключателя режима привода EV (комбинированного переключателя в сборе).

      B

    5. Выключите питание.

    A

    ПРОВЕРЬТЕ, НЕТ ЛИ ЭПИЗОДИЧЕСКИХ НЕИСПРАВНОСТЕЙ

    Нажмите здесьClick here

    B
  5. ПРОВЕРЬТЕ ПЕРЕКЛЮЧАТЕЛЬ РЕЖИМА ПРИВОДА EV (КОМБИНИРОВАННЫЙ ПЕРЕКЛЮЧАТЕЛЬ)

    1. Снимите переключатель режима привода EV (комбинированный переключатель в сборе).

      Нажмите здесьClick here

    2. C305912C54

      *a

      Устройство с неподсоединенным жгутом проводов

      (Переключатель режима привода EV (комбинированный переключатель в сборе))

      Измерьте сопротивление в соответствии со значениями, приведенными в таблице ниже.

      Номинальное сопротивление

      Подключение диагностического прибора

      Условие

      Заданные условия

      J35-5 (S) - J35-1 (GND)

      Выключатель режима привода EV (комбинированный переключатель в сборе) нажат и удерживается

      Менее 50 Ом

      Выключатель режима привода EV (комбинированный переключатель в сборе) не нажат

      10 кОм или более

    3. Установите переключатель режима привода EV (комбинированный переключатель в сборе).

    Result

    Перейти к

    OK

    НЕ СООТВ.

    НЕ СООТВ.

    ЗАМЕНИТЕ ПЕРЕКЛЮЧАТЕЛЬ РЕЖИМА ПРИВОДА EV (КОМБИНИРОВАННЫЙ ПЕРЕКЛЮЧАТЕЛЬ)

    Нажмите здесьClick here

    СООТВ
  6. ПРОВЕРЬТЕ ЖГУТ ПРОВОДОВ И РАЗЪЕМ (ВЫКЛЮЧАТЕЛЬ РЕЖИМА ПРИВОДА EV (КОМБИНИРОВАННЫЙ ПЕРЕКЛЮЧАТЕЛЬ В СБОРЕ) – МАССА)

    1. Отсоедините разъем J35 выключателя режима привода EV (комбинированного переключателя в сборе).

    2. C339643C08

      *a

      Вид спереди разъема со стороны жгута проводов:

      (к переключателю режима привода EV (комбинированному переключателю в сборе))

      Измерьте сопротивление в соответствии со значениями, приведенными в таблице ниже.

      Номинальное сопротивление

      Подключение диагностического прибора

      Условие

      Заданные условия

      J35-1 (GND) - масса

      Всегда

      Менее 1 Ом

    3. Подсоедините разъем J35 переключателя режима движения EV (комбинированного переключателя в сборе).

    Результат

    Перейти к

    OK

    НЕ СООТВ.

    НЕ СООТВ.

    ОТРЕМОНТИРУЙТЕ ИЛИ ЗАМЕНИТЕ ЖГУТ ПРОВОДОВ ИЛИ РАЗЪЕМ

    СООТВ
  7. ПРОВЕРЬТЕ ЖГУТ ПРОВОДОВ И РАЗЪЕМ (ЭБУ ГИБРИДНОЙ СИСТЕМЫ - ВЫКЛЮЧАТЕЛЬ РЕЖИМА ПРИВОДА EV (КОМБИНИРОВАННЫЙ ПЕРЕКЛЮЧАТЕЛЬ В СБОРЕ))

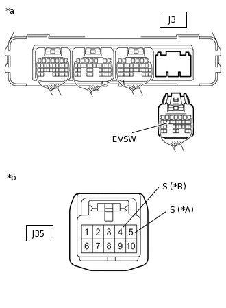
    1. Отсоедините разъем J3 ЭБУ гибридной системы.

    2. Отсоедините разъем J35 выключателя режима привода EV (комбинированного переключателя в сборе).

    3. A373401C05

      *A

      Для моделей с левосторонним рулевым управлением

      *B

      Для моделей с правосторонним рулевым управлением

      *a

      Вид сзади разъема со стороны жгута проводов

      (к ЭБУ гибридной системы в сборе)

      *b

      Вид спереди разъема со стороны жгута проводов:

      (к переключателю режима привода EV (комбинированному переключателю в сборе))

      Измерьте сопротивление в соответствии со значениями, приведенными в таблице ниже.

      Номинальное сопротивление

      Table 1. для моделей с левосторонним рулевым управлением.

      Подключение диагностического прибора

      Условие

      Заданные условия

      J3-15 (EVSW) - J35-5 (S)

      Всегда

      Менее 1 Ом

      J3-15 (EVSW) или J35-5 (S) - масса

      Всегда

      10 кОм или более

      Table 2. Для моделей с правосторонним рулевым управлением

      Подключение диагностического прибора

      Условие

      Заданные условия

      J3-15 (EVSW) - J35-4 (S)

      Всегда

      Менее 1 Ом

      J3-15 (EVSW) или J35-4 (S) - масса

      Всегда

      10 кОм или более

    4. Подсоедините разъем J35 переключателя режима движения EV (комбинированного переключателя в сборе).

    5. Подсоедините разъем J3 ЭБУ гибридной системы.

    Результат

    Перейти к

    OK

    НЕ СООТВ.

    OK

    ЗАМЕНИТЕ ЭБУ ГИБРИДНОЙ СИСТЕМЫ В СБОРЕ

    Нажмите здесьClick hereClick hereClick here

    NG

    ОТРЕМОНТИРУЙТЕ ИЛИ ЗАМЕНИТЕ ЖГУТ ПРОВОДОВ ИЛИ РАЗЪЕМ