ПЕРЕДНИЙ САЛЬНИК КАРТЕРА РАЗДАТОЧНОЙ КОРОБКИ (с правой стороны) ЗАМЕНА
ПОРЯДОК ВЫПОЛНЕНИЯ
СЛЕЙТЕ МАСЛО ИЗ РАЗДАТОЧНОЙ КОРОБКИ
Нажмите здесьClick here
СЛЕЙТЕ ЖИДКОСТЬ ДЛЯ АВТОМАТИЧЕСКИХ ТРАНСМИССИЙ (для моделей с 8AR-FTS)
Нажмите здесьClick here
СЛЕЙТЕ ЖИДКОСТЬ ДЛЯ БЕССТУПЕНЧАТОЙ ТРАНСМИССИИ (для моделей с 3ZR-FAE)
Нажмите здесьClick here
СНИМИТЕ ПРАВЫЙ ПЕРЕДНИЙ ПРИВОДНОЙ ВАЛ В СБОРЕ
Для моделей с 8AR-FTS: (нажмитеClick hereClick here)
Для моделей с 3ZR-FAE: (нажмите)Click hereClick here
СНИМИТЕ ОПОРУ КОЛЛЕКТОРА (для моделей с 3ZR-FAE)
Нажмите здесьClick here
СНИМИТЕ КРОНШТЕЙН ПОДШИПНИКА ПРИВОДНОГО ВАЛА
Для моделей с 8AR-FTS: (нажмитеClick hereClick hereClick here)
Для моделей с 3ZR-FAE: (нажмите)Click here
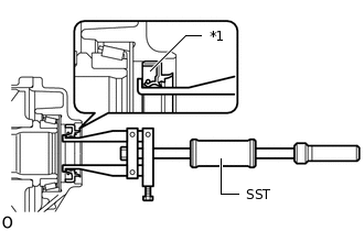
СНИМИТЕ ПРАВЫЙ САЛЬНИК КАРТЕРА РАЗДАТОЧНОЙ КОРОБКИ
*1
Правый сальник картера раздаточной коробки
С помощью SST извлеките правый сальник картера раздаточной коробки из крышки картера раздаточной коробки № 1.
09308-00010
Note:Не допускайте царапания поверхности запрессовки правого сальника картера раздаточной коробки.
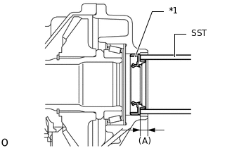
УСТАНОВИТЕ ПРАВЫЙ САЛЬНИК КАРТЕРА РАЗДАТОЧНОЙ КОРОБКИ
*1
Правый сальник картера раздаточной коробки
С помощью SST и молотка запрессуйте новый правый сальник картера раздаточной коробки, как показано на рисунке.
09316-60011
09316-00011
Глубина заглубления (A)
7,5 - 8,5 мм (0,296 - 0,334 дюйма)
Note:Удары по правому сальнику картера раздаточной коробки необходимо наносить равномерно, чтобы он не перекосился.
Не запрессовывайте правый сальник картера раздаточной коробки слишком глубоко.
УСТАНОВИТЕ КРОНШТЕЙН ПОДШИПНИКА ПРИВОДНОГО ВАЛА
Для моделей с 8AR-FTS: (нажмитеClick hereClick here)
Для моделей с 3ZR-FAE: (нажмите)Click hereClick here
УСТАНОВИТЕ ОПОРУ КОЛЛЕКТОРА (для моделей с 3ZR-FAE)
Нажмите здесьClick here
УСТАНОВИТЕ ПРАВЫЙ ПЕРЕДНИЙ ПРИВОДНОЙ ВАЛ
Для моделей с 8AR-FTS: (нажмитеClick hereClick here)
Для моделей с 3ZR-FAE: (нажмите)Click hereClick here
ДОБАВЬТЕ МАСЛО В РАЗДАТОЧНУЮ КОРОБКУ
Нажмите здесьClick here
ПРОВЕРЬТЕ МАСЛО РАЗДАТОЧНОЙ КОРОБКИ
Нажмите здесьClick here
ДОБАВЬТЕ ЖИДКОСТЬ ДЛЯ АВТОМАТИЧЕСКОЙ ТРАНСМИССИИ (для моделей с 8AR-FTS)
Нажмите здесьClick here
ДОБАВЬТЕ ЖИДКОСТЬ ДЛЯ БЕССТУПЕНЧАТОЙ ТРАНСМИССИИ (для моделей с 3ZR-FAE)
Нажмите здесьClick here
ПРОВЕРЬТЕ, НЕТ ЛИ УТЕЧЕК МАСЛА