ЗАМОК ПЕРЕДНЕЙ ДВЕРИ ПРОВЕРКА

ПОРЯДОК ВЫПОЛНЕНИЯ

  1. ПРОВЕРЬТЕ ЗАМОК ЛЕВОЙ ПЕРЕДНЕЙ ДВЕРИ С ЭЛЕКТРОДВИГАТЕЛЕМ В СБОРЕ (для моделей без системы двойной блокировки)

    1. B340410C04

      *a

      Разблокировка

      *b

      Блокировка

      *c

      Устройство с неподсоединенным жгутом проводов

      (Замок левой передней двери с электродвигателем в сборе)

      Проверьте работу электродвигателя замка двери.

      1. Подайте напряжение вспомогательной аккумуляторной батареи и проверьте работу электродвигателя замка двери.

        OK

        Соединение вспомогательной аккумуляторной батареи

        Результат

        Положительный (+) вывод вспомогательной аккумуляторной батареи → контакт 4 (L)

        Отрицательный (-) вывод вспомогательной аккумуляторной батареи → контакт 1 (UL)

        Блокирует

        Положительный (+) вывод вспомогательной аккумуляторной батареи → контакт 1 (UL)

        Отрицательный (-) вывод вспомогательной аккумуляторной батареи → контакт 4 (L)

        Разблокирует

        Если результат проверки не отвечает требованиям, замените электродвигатель замка левой передней двери в сборе.

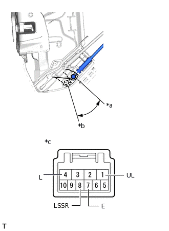
    2. Проверьте работу датчика системы разблокировки дверей.

      1. Измерьте сопротивление в соответствии со значениями, приведенными в таблице.

        Номинальное сопротивление

        Подключение диагностического прибора

        Условие

        Номинальное сопротивление

        7 (E) - 8 (LSSR)

        Блокировка

        10 кОм или более

        7 (E) - 8 (LSSR)

        Разблокировано

        Менее 1 Ом

        Если результат проверки не отвечает требованиям, замените электродвигатель замка левой передней двери в сборе.

    3. B347368C02

      *a

      Разблокировка

      *b

      Нейтральное положение

      *c

      Зафиксируйте

      *d

      Устройство с отсоединенным жгутом проводов

      (Замок левой передней двери с электродвигателем в сборе)

      Проверьте работу переключателя под ключ открывания/закрывания двери. (для моделей с левосторонним рулевым управлением)

      1. Измерьте сопротивление в соответствии со значениями, приведенными в таблице.

        Номинальное сопротивление

        Подключение диагностического прибора

        Условие

        Номинальное сопротивление

        9 (L) - 7 (E)

        Удерживается со стороны блокировки

        Менее 1 Ом

        9 (L) - 7 (E)

        В нейтральном положении или удерживается со стороны разблокировки

        10 кОм или более

        10 (UL) - 7 (E)

        Удерживается со стороны разблокировки

        Менее 1 Ом

        10 (UL) - 7 (E)

        В нейтральном положении или удерживается со стороны блокировки

        10 кОм или более

        Если результат проверки не отвечает требованиям, замените электродвигатель замка левой передней двери в сборе.

  2. ПРОВЕРЬТЕ ЗАМОК ПРАВОЙ ПЕРЕДНЕЙ ДВЕРИ С ЭЛЕКТРОДВИГАТЕЛЕМ В СБОРЕ (для моделей без системы двойной блокировки)

    1. B340409C05

      *a

      Разблокировка

      *b

      Блокировка

      *c

      Устройство с отсоединенным жгутом проводов

      (Замок правой передней двери с электродвигателем в сборе)

      Проверьте работу электродвигателя замка двери.

      1. Подайте напряжение вспомогательной аккумуляторной батареи и проверьте работу электродвигателя замка двери.

        OK

        Соединение вспомогательной аккумуляторной батареи

        Результат

        Положительный (+) вывод вспомогательной аккумуляторной батареи → контакт 4 (L)

        Отрицательный (-) вывод вспомогательной аккумуляторной батареи → контакт 1 (UL)

        Блокирует

        Положительный (+) вывод вспомогательной аккумуляторной батареи → контакт 1 (UL)

        Отрицательный (-) вывод вспомогательной аккумуляторной батареи → контакт 4 (L)

        Разблокирует

        Если результат проверки не отвечает требованиям, замените электродвигатель замка правой передней двери в сборе.

    2. Проверьте работу датчика системы разблокировки дверей.

      1. Измерьте сопротивление в соответствии со значениями, приведенными в таблице.

        Номинальное сопротивление

        Подключение диагностического прибора

        Условие

        Номинальное сопротивление

        7 (LSSR) - 8 (E)

        Блокировка

        10 кОм или более

        7 (LSSR) - 8 (E)

        Разблокировано

        Менее 1 Ом

        Если результат проверки не отвечает требованиям, замените электродвигатель замка правой передней двери в сборе.

    3. B340408C04

      *a

      Разблокировка

      *b

      Нейтральное положение

      *c

      Зафиксируйте

      *d

      Устройство с отсоединенным жгутом проводов

      (Замок правой передней двери с электродвигателем в сборе)

      Проверьте работу переключателя под ключ открывания/закрывания двери. (для моделей с правосторонним рулевым управлением)

      1. Измерьте сопротивление в соответствии со значениями, приведенными в таблице.

        Номинальное сопротивление

        Подключение диагностического прибора

        Условие

        Номинальное сопротивление

        6 (L) - 8 (E)

        Удерживается со стороны блокировки

        Менее 1 Ом

        6 (L) - 8 (E)

        В нейтральном положении или удерживается со стороны разблокировки

        10 кОм или более

        5 (UL) - 8 (E)

        Удерживается со стороны разблокировки

        Менее 1 Ом

        5 (UL) - 8 (E)

        В нейтральном положении или удерживается со стороны блокировки

        10 кОм или более

        Если результат проверки не отвечает требованиям, замените электродвигатель замка правой передней двери в сборе.

  3. ПРОВЕРЬТЕ ЗАМОК ЛЕВОЙ ПЕРЕДНЕЙ ДВЕРИ С ЭЛЕКТРОДВИГАТЕЛЕМ В СБОРЕ (для моделей с системой двойной блокировки)

    1. B164418C07

      *a

      Разблокировка

      *b

      Блокировка

      *c

      Устройство с неподсоединенным жгутом проводов

      (Замок левой передней двери с электродвигателем в сборе)

      Проверьте работу электродвигателя замка передней двери.

      1. Подайте напряжение вспомогательной аккумуляторной батареи и проверьте работу электродвигателя замка передней двери и электродвигателя двойной блокировки.

        OK

        Условие

        Результат

        Положительный (+) вывод вспомогательной аккумуляторной батареи → контакт 1 (L)

        Отрицательный (-) вывод вспомогательной аккумуляторной батареи → контакт 2 (UL)

        Блокирует

        Положительный (+) вывод вспомогательной аккумуляторной батареи → контакт 2 (UL)

        Отрицательный (-) вывод вспомогательной аккумуляторной батареи → контакт 1 (L)

        Разблокирует

        Положительный (+) вывод вспомогательной аккумуляторной батареи → контакт 4 (DL)

        Отрицательный (-) вывод вспомогательной аккумуляторной батареи → контакт 3 (UNDL)

        Устанавливает

        Положительный (+) вывод вспомогательной аккумуляторной батареи → контакт 3 (UNDL)

        Отрицательный (-) вывод вспомогательной аккумуляторной батареи → контакт 4 (DL)

        Снимает

        Tip:
        • Переведите электродвигатель замка двери в положение блокировки и приведите в действие систему двойной блокировки. Убедитесь в том, что двери невозможно разблокировать с помощью троса управления.

        • Переведите электродвигатель замка двери в положение блокировки и верните систему двойной блокировки в исходное состояние. Убедитесь в том, что двери можно разблокировать с помощью троса управления.

        Если результат проверки не отвечает требованиям, замените электродвигатель замка левой передней двери в сборе.

    2. Проверьте работу выключателя обнаружения разблокировки двери и датчика положения системы двойной блокировки.

      1. Измерьте сопротивление в соответствии со значениями, приведенными в таблице ниже.

        Номинальное сопротивление

        Подключение диагностического прибора

        Условие

        Заданные условия

        10 (LSSR) - 9 (E)

        Заблокировано

        10 кОм или более

        10 (LSSR) - 9 (E)

        Разблокировано

        Менее 1 Ом

        6 (DLSR) - 5 (E)

        Unset

        10 кОм или более

        6 (DLSR) - 5 (E)

        Set

        Менее 1 Ом

        Если результат проверки не отвечает требованиям, замените электродвигатель замка левой передней двери в сборе.

    3. B348004C02

      *a

      Разблокировка

      *b

      Блокировка

      *c

      Устройство с неподсоединенным жгутом проводов

      (Замок левой передней двери с электродвигателем в сборе)

      Проверьте работу переключателя под ключ открывания/закрывания двери (для моделей с левосторонним рулевым управлением).

      1. Измерьте сопротивление в соответствии со значениями, приведенными в таблице.

        Номинальное сопротивление

        Подключение диагностического прибора

        Условие

        Заданные условия

        7 (L) - 9 (E)

        Удерживается со стороны блокировки

        Менее 1 Ом

        7 (L) - 9 (E)

        В нейтральном положении или удерживается со стороны разблокировки

        10 кОм или более

        8 (UL) - 9 (E)

        Удерживается со стороны разблокировки

        Менее 1 Ом

        8 (UL) - 9 (E)

        В нейтральном положении или удерживается со стороны блокировки

        10 кОм или более

        Если результат проверки не отвечает требованиям, замените электродвигатель замка левой передней двери в сборе.

  4. ПРОВЕРЬТЕ ЗАМОК ПРАВОЙ ПЕРЕДНЕЙ ДВЕРИ С ЭЛЕКТРОДВИГАТЕЛЕМ В СБОРЕ (для моделей с системой двойной блокировки)

    1. B273326C05

      *a

      Разблокировка

      *b

      Блокировка

      *c

      Устройство с отсоединенным жгутом проводов

      (Замок правой передней двери с электродвигателем в сборе)

      Проверьте работу электродвигателя замка передней двери.

      1. Подайте напряжение вспомогательной аккумуляторной батареи и проверьте работу электродвигателя замка передней двери и электродвигателя двойной блокировки.

        OK

        Условие

        Результат

        Положительный (+) вывод вспомогательной аккумуляторной батареи → контакт 3 (L)

        Отрицательный (-) вывод вспомогательной аккумуляторной батареи → контакт 4 (UL)

        Блокирует

        Положительный (+) вывод вспомогательной аккумуляторной батареи → контакт 4 (UL)

        Отрицательный (-) вывод вспомогательной аккумуляторной батареи → контакт 3 (L)

        Разблокирует

        Положительный (+) вывод вспомогательной аккумуляторной батареи → контакт 2 (DL)

        Отрицательный (-) вывод вспомогательной аккумуляторной батареи → контакт 1 (UNDL)

        Устанавливает

        Положительный (+) вывод вспомогательной аккумуляторной батареи → контакт 1 (UNDL)

        Отрицательный (-) вывод вспомогательной аккумуляторной батареи → контакт 2 (DL)

        Снимает

        Tip:
        • Переведите электродвигатель замка двери в положение блокировки и приведите в действие систему двойной блокировки. Убедитесь в том, что двери невозможно разблокировать с помощью троса управления.

        • Переведите электродвигатель замка двери в положение блокировки и верните систему двойной блокировки в исходное состояние. Убедитесь в том, что двери можно разблокировать с помощью троса управления.

        Если результат проверки не отвечает требованиям, замените электродвигатель замка правой передней двери в сборе.

    2. Проверьте работу выключателя обнаружения разблокировки двери и датчика положения системы двойной блокировки.

      1. Измерьте сопротивление в соответствии со значениями, приведенными в таблице ниже.

        Номинальное сопротивление

        Подключение диагностического прибора

        Условие

        Номинальное сопротивление

        5 (LSSR) - 6 (E)

        Заблокировано

        10 кОм или более

        5 (LSSR) - 6 (E)

        Разблокировано

        Менее 1 Ом

        9 (DLSR) - 10 (E)

        Unset

        10 кОм или более

        9 (DLSR) - 10 (E)

        Set

        Менее 1 Ом

        Если результат проверки не отвечает требованиям, замените электродвигатель замка правой передней двери в сборе.

    3. B259282C05

      *a

      Разблокировка

      *b

      Блокировка

      *c

      Устройство с отсоединенным жгутом проводов

      (Замок правой передней двери с электродвигателем в сборе)

      Проверьте работу переключателя под ключ открывания/закрывания двери (для моделей с правосторонним рулевым управлением).

      1. Измерьте сопротивление в соответствии со значениями, приведенными в таблице.

        Номинальное сопротивление

        Подключение диагностического прибора

        Условие

        Заданные условия

        8 (L) - 6 (E)

        Удерживается со стороны блокировки

        Менее 1 Ом

        8 (L) - 6 (E)

        В нейтральном положении или удерживается со стороны разблокировки

        10 кОм или более

        7 (UL) - 6(E)

        Удерживается со стороны разблокировки

        Менее 1 Ом

        7 (UL) - 6(E)

        В нейтральном положении или удерживается со стороны блокировки

        10 кОм или более

        Если результат проверки не отвечает требованиям, замените электродвигатель замка правой передней двери в сборе.