SFI SYSTEM


  1. CONSTRUCTION


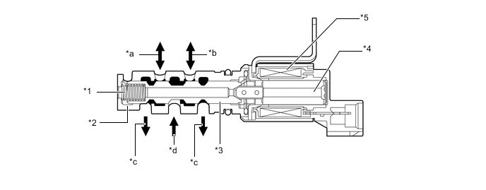
    1. The camshaft timing oil control valve assembly controls its spool valve using duty-cycle control from the ECM. This allows hydraulic pressure to be applied to the camshaft timing gear assembly or camshaft timing exhaust gear assembly advance or retard side. When the engine is stopped, the camshaft timing oil control valve assembly (intake) will move to the retard position, and the camshaft timing oil control valve assembly (exhaust) will move to the advance position.

      B002366C10
      *1 Spring *2 Sleeve
      *3 Spool Valve *4 Plunger
      *5 Coil - -
      *a To Camshaft Timing Gear Assembly (VVT-i Controller) (Advance Side)* *b To Camshaft Timing Gear Assembly (VVT-i Controller) (Retard Side)*
      *c Drain *d Oil Pressure

      *: On the exhaust side oil control valve, the advance and retard sides are reversed.