ПЕРЕДНИЙ ПРИВОДНОЙ ВАЛ В СБОРЕ (для моделей с 8AR-FTS) ПОВТОРНАЯ СБОРКА
ПРЕДОСТЕРЕЖЕНИЕ / ПРИМЕЧАНИЕ / УКАЗАНИЕ
Устанавливайте между тисками и деталью алюминиевые губки.
Не затягивайте тиски слишком сильно.
ПОРЯДОК ВЫПОЛНЕНИЯ
УСТАНОВИТЕ ПОДШИПНИК ПЕРЕДНЕГО ПРИВОДНОГО ВАЛА (с правой стороны)
-
С помощью SST и пресса впрессуйте внутренний шарнир правого переднего приводного вала в сборе до тех пор, пока подшипник переднего приводного вала не коснется кромки внутреннего шарнира правого переднего приводного вала в сборе.
Для моделей с приводом на одну ось:
09527-10011
09710-30012
09710-04081
Для моделей с полным приводом:
09527-10011
09710-18050
09711-01090
Note:Убедитесь, что подшипник переднего приводного вала соприкасается с кромкой внутреннего шарнира правого переднего приводного вала в сборе, но не следует впрессовывать его чрезмерно.
Не подвергайте пыльник и наружное кольцо подшипника переднего приводного вала каким-либо нагрузкам.
-
С помощью съемника стопорных колец наденьте новое пружинное стопорное кольцо.
Note:Пружинное стопорное кольцо необходимо устанавливать полностью.
-
УСТАНОВИТЕ ПЫЛЬНИК ПЕРЕДНЕГО ПРИВОДНОГО ВАЛА (для правой стороны)
Tip:Эту процедуру следует выполнять только на автомобилях с приводом на одну ось.
-
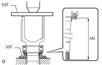
С помощью SST и пресса установите новый пыльник переднего приводного вала на внутренний шарнир правого переднего приводного вала.
09527-10011
09726-40010
Номинальное расстояние (A)
354,9 - 355,9 мм (1,165 - 1,167 фута)
Note:Не допускайте повреждения пыльника переднего приводного вала.
Пыльник переднего приводного вала следует устанавливать полностью.
Соблюдайте направление установки пыльника переднего приводного вала.
-
УСТАНОВИТЕ ЛЕВЫЙ ПЫЛЬНИК ПЕРЕДНЕГО ПРИВОДНОГО ВАЛА
-
С помощью SST и пресса впрессуйте внутренний шарнир левого переднего приводного вала в сборе до тех пор, пока пыльник левого переднего приводного вала не коснется кромки внутреннего шарнира левого переднего приводного вала в сборе.
09527-10011
Note:Не повредите пыльник левого переднего приводного вала.
Пыльник левого переднего вала следует устанавливать полностью.
Соблюдайте направление установки пыльника левого переднего приводного вала.
-
УСТАНОВИТЕ ПРАВЫЙ ПЫЛЬНИК ПЕРЕДНЕГО ПРИВОДНОГО ВАЛА
-
Для моделей с приводом на одну ось:
С помощью SST и пресса установите новый пыльник правого переднего приводного вала на внутренний шарнир правого переднего приводного вала так, чтобы расстояние от конца внутреннего шарнира правого переднего приводного вала в сборе до пыльника правого переднего приводного вала удовлетворяло требованиям, как показано на рисунке.
09527-10011
Номинальное расстояние (A)
115,5 - 116,5 мм (4,548 - 4,586 дюйма)
Note:Не повредите пыльник правого переднего приводного вала.
Пыльник правого переднего приводного вала следует устанавливать полностью.
Соблюдайте направление установки пыльника правого переднего приводного вала.
-
Для моделей с постоянным полным приводом:
С помощью SST и пресса установите новый пыльник правого переднего приводного вала на внутренний шарнир правого переднего приводного вала, как показано на рисунке.
09527-10011
Номинальное расстояние (A)
87,3 - 88,3 мм (3,437 - 3,476 дюйма)
Note:Не повредите пыльник правого переднего приводного вала.
Пыльник правого переднего приводного вала следует устанавливать полностью.
Соблюдайте направление установки пыльника правого переднего приводного вала.
-
УСТАНОВИТЕ ЧЕХОЛ НАРУЖНОГО ШАРНИРА ПЕРЕДНЕЙ ПОЛУОСИ (для левой стороны)
-
*a
Защитная клейкая лента
Перед установкой чехла наружного шарнира передней полуоси оберните шлицы вала наружного шарнира левого переднего приводного вала защитной клейкой лентой для предотвращения повреждения чехла наружного шарнира передней полуоси.
-
*1
Зажим чехла наружного шарнира левой передней полуоси № 2
*2
Чехол наружного шарнира передней полуоси
*3
Зажим чехла наружного шарнира левой передней полуоси
*4
Вал наружного шарнира левого переднего приводного вала в сборе

Со стороны наружного шарнира

Со стороны внутреннего шарнира
Установите новые детали на наружный шарнир левого переднего приводного вала в сборе в следующем порядке.
Зажим чехла наружного шарнира левой передней полуоси № 2
Чехол наружного шарнира передней полуоси
Хомут чехла наружного шарнира левой передней полуоси
Установите чехол наружного шарнира передней полуоси таким образом, чтобы он находился между хомутом чехла левого наружного шарнира передней полуоси № 2 и наружным шарниром левого переднего приводного вала.
Временно закрепите зажим чехла наружного шарнира левой передней полуоси на чехле наружного шарнира передней полуоси.
Наполните вал наружного шарнира левого переднего приводного вала в сборе и чехол наружного шарнира передней полуоси смазкой из комплекта чехла.
Номинальное количество смазки
164,0 - 184,0 г (5,79 - 6,48 унции)
Установите чехол наружного шарнира передней полуоси в паз на валу наружного шарнира левого переднего приводного вала в сборе.
Note:Не наносите консистентную смазку на части чехла наружного шарнира передней полуоси, соприкасающиеся с канавкой.
Не допускайте попадания посторонних частиц в чехол наружного шарнира передней полуоси.
-
УСТАНОВИТЕ ХОМУТ ЧЕХЛА НАРУЖНОГО ШАРНИРА ЛЕВОЙ ПЕРЕДНЕЙ ПОЛУОСИ № 2
Установите SST на зажим чехла наружного шарнира левой передней полуоси № 2, а затем, сжимая чехол наружного шарнира передней полуоси, слегка затяните болт SST.
09521-24010
Note:Правильно установите зажим чехла наружного шарнира левой передней полуоси № 2 в направляющую канавку.
Соблюдайте осторожность, чтобы не повредить чехол наружного шарнира передней полуоси.
-
*a
Поверните
*b
Удерживайте
Затяните SST так, чтобы сжать зажим чехла наружного шарнира левой передней полуоси № 2.
Номинальный зазор
0,5 - 1,5 мм (0,0197 - 0,0590 дюйма)
Note:Затягивая SST, следите за тем, чтобы зазор зажима чехла наружного шарнира левой передней полуоси № 2 находился в пределах номинального диапазона.
Соблюдайте осторожность, чтобы не повредить чехол наружного шарнира передней полуоси.
Снимите SST с зажима чехла наружного шарнира левой передней полуоси № 2.
-
Используя SST, измерьте зазор зажима чехла наружного шарнира левой передней полуоси № 2.
09240-00020
Номинальный зазор
0,5 - 1,5 мм (0,0197 - 0,0590 дюйма)
Note:Если измеренная величина превышает номинальную, повторно затяните хомут чехла наружного шарнира левой передней полуоси № 2.
Если результат ниже номинального диапазона, установите новый зажим чехла наружного шарнира левой передней полуоси № 2.
УСТАНОВИТЕ ХОМУТ ЧЕХЛА НАРУЖНОГО ШАРНИРА ЛЕВОЙ ПЕРЕДНЕЙ ПОЛУОСИ
Tip:Выполните те же действия, что и для хомута чехла наружного шарнира левой передней полуоси № 2.
УСТАНОВИТЕ ДЕМПФЕР ЛЕВОГО ПЕРЕДНЕГО ПРИВОДНОГО ВАЛА
-
*1
Зажим демпфера левого переднего приводного вала
*2
Демпфер левого переднего приводного вала
Установите 2 новый хомута демпфера левого переднего приводного вала и демпфер левого переднего приводного вала на вал наружного шарнира левого переднего приводного вала в сборе.
Отрегулируйте положение левого демпфера приводного вала так, чтобы расстояние, указанное на рисунке, попало в номинальный диапазон.
Номинальное расстояние (A)
214,0 - 220,0 мм (8,426 - 8,661 дюйма)
-
УСТАНОВИТЕ ДЕМПФЕР ПРАВОГО ПЕРЕДНЕГО ПРИВОДНОГО ВАЛА
Tip:Порядок выполнения работ такой же, как для левой стороны.
УСТАНОВИТЕ ЗАЖИМ ДЕМПФЕРА ПЕРЕДНЕГО ЛЕВОГО ПРИВОДНОГО ВАЛА
Tip:Выполните эту процедуру для каждого зажима демпфера левого переднего приводного вала.
Установите SST на зажим демпфера левого переднего приводного вала, а затем, сжимая демпфер левого переднего приводного вала, слегка затяните болт SST.
09521-24010
Note:Правильно установите зажим демпфера левого переднего приводного вала в направляющую канавку.
-
*a
Поверните
*b
Удерживайте
Затяните SST так, чтобы зажать хомут демпфера левого переднего приводного вала.
Номинальный зазор
0,5 - 1,5 мм (0,0197 - 0,0590 дюйма)
Note:Затягивая SST, следите за тем, чтобы зазор зажима демпфера левого переднего приводного вала находился в пределах номинального диапазона.
Снимите SST с зажима демпфера левого переднего приводного вала.
-
С помощью SST измерьте зазор хомута демпфера левого переднего приводного вала.
09240-00020
Номинальный зазор
0,5 - 1,5 мм (0,0197 - 0,0590 дюйма)
Note:Если измеренная величина превышает номинальную, повторно затяните зажим демпфера левого переднего приводного вала.
Если результат ниже номинального диапазона, установите новый зажим демпфера левого переднего приводного вала.
УСТАНОВИТЕ ХОМУТ ДЕМПФЕРА ПРАВОГО ПЕРЕДНЕГО ПРИВОДНОГО ВАЛА
Tip:Порядок выполнения работ такой же, как для левой стороны.
УСТАНОВИТЕ ВНУТРЕННИЙ ШАРНИР ЛЕВОГО ПЕРЕДНЕГО ПРИВОДНОГО ВАЛА В СБОРЕ
-
*1
Зажим чехла внутреннего шарнира передней левой полуоси
*2
Чехол внутреннего шарнира передней полуоси
*3
Зажим чехла внутреннего шарнира левой передней полуоси № 2
*a
Защитная клейкая лента

Со стороны наружного шарнира

Со стороны внутреннего шарнира
Установите новые детали на наружный шарнир левого переднего приводного вала в сборе в следующем порядке.
Хомут чехла внутреннего шарнира левой передней полуоси
Чехол внутреннего шарнира передней полуоси
Хомут чехла внутреннего шарнира левой передней полуоси № 2
Удалите защитную клейкую ленту с вала наружного шарнира левого переднего приводного вала в сборе.
-
*a
Метка

Со стороны внутреннего шарнира
Совместив метки, установите осевой шлиц триподного соединения таким образом, чтобы фаска была направлена к валу наружного шарнира левого переднего приводного вала в сборе.
Note:Направьте срезанный край шлицевого соединения по направлению к внутреннему шарниру и надвиньте шлицевое соединение на вал наружного шарнира левого переднего приводного вала в сборе.
-
С помощью латунного стержня и молотка вбейте триподное соединение на вал наружного шарнира левого переднего приводного вала в сборе.
Note:Не ударяйте по роликам.
При установке соблюдайте направление сошки.
-
С помощью съемника стопорных колец установите новое пружинное стопорное кольцо вала.
Note:Пружинное стопорное кольцо вала необходимо устанавливать полностью.
Заполните внутренний шарнир левого переднего приводного вала и чехол внутреннего шарнира передней полуоси консистентной смазкой из комплекта чехла.
Номинальное количество смазки
140,0 - 160,0 г (4,94 - 5,64 унции)
-
*a
Метка
Совместив метки, установите внутренний шарнир левого переднего приводного вала в сборе на вал наружного шарнира левого переднего приводного вала в сборе.
-
УСТАНОВИТЕ ВНУТРЕННИЙ ШАРНИР ПРАВОГО ПЕРЕДНЕГО ПРИВОДНОГО ВАЛА В СБОРЕ
Tip:Порядок выполнения работ такой же, как для левой стороны.
УСТАНОВИТЕ ЧЕХОЛ ВНУТРЕННЕГО ШАРНИРА ПЕРЕДНЕЙ ПОЛУОСИ
Tip:Порядок выполнения работ для левой и правой стороны одинаков.
Установите чехол внутреннего шарнира передней полуоси на внутренний шарнир переднего приводного вала в сборе.
Note:Не наносите консистентную смазку на части чехла внутреннего шарнира передней полуоси, соприкасающиеся с канавкой.
Не допускайте попадания посторонних частиц в чехол внутреннего шарнира передней полуоси.
-
*A
Для левой стороны
*B
Для правой стороны
Убедитесь, что при номинальной длине переднего приводного вала в сборе чехол внутреннего шарнира передней полуоси и чехол наружного шарнира передней полуоси не растягиваются и не стягиваются.
Расстояние (A)
Параметр / Устройство
Длина
Левая сторона
575,2 мм (1,89 фута)
Правая сторона
Для моделей с приводом на одну ось
922,5 мм (3,03 фута)
для моделей с постоянным полным приводом
921,0 мм (3,02 фута)
Note:Во время проверки удерживайте передний приводной вал в сборе в горизонтальном положении.
Если чехол внутреннего шарнира передней полуоси и чехол наружного шарнира передней полуоси растянуты или стянуты, скорректируйте их положение.
УСТАНОВИТЕ ХОМУТ ЧЕХЛА ВНУТРЕННЕГО ШАРНИРА ЛЕВОЙ ПЕРЕДНЕЙ ПОЛУОСИ
Установите SST на зажим чехла внутреннего шарнира левой передней полуоси, а затем, сжимая чехол внутреннего шарнира передней полуоси, слегка затяните болт SST.
09521-24010
Note:Правильно установите зажим чехла внутреннего шарнира левой передней полуоси в направляющую канавку.
Не повредите чехол внутреннего шарнира передней полуоси.
-
*a
Поверните
*b
Удерживайте
Затяните SST так, чтобы сжать зажим чехла внутреннего шарнира левой передней полуоси.
Номинальный зазор
0,5 - 1,5 мм (0,0197 - 0,0590 дюйма)
Note:Затягивая SST, следите за тем, чтобы зазор зажима чехла внутреннего шарнира левой передней полуоси находился в пределах номинального диапазона.
Не повредите чехол внутреннего шарнира передней полуоси.
Снимите SST с зажима чехла внутреннего шарнира левой передней полуоси.
-
С помощью SST измерьте зазор зажима чехла внутреннего шарнира левой передней полуоси.
09240-00020
Номинальный зазор
0,5 - 1,5 мм (0,0197 - 0,0590 дюйма)
Note:Если измеренная величина превышает номинальную, повторно затяните хомут чехла внутреннего шарнира левой передней полуоси.
Если результат ниже номинального диапазона, установите новый зажим чехла внутреннего шарнира левой передней полуоси.
УСТАНОВИТЕ ХОМУТ ЧЕХЛА ВНУТРЕННЕГО ШАРНИРА ПРАВОЙ ПЕРЕДНЕЙ ПОЛУОСИ
Tip:Порядок выполнения работ такой же, как для левой стороны.
УСТАНОВИТЕ ХОМУТ ЧЕХЛА ВНУТРЕННЕГО ШАРНИРА ЛЕВОЙ ПЕРЕДНЕЙ ПОЛУОСИ № 2
-
*a
Зацепление захватов
Установите хомут чехла внутреннего шарнира левой передней полуоси № 2 на чехол внутреннего шарнира передней полуоси.
Note:Правильно установите зажим чехла внутреннего шарнира левой передней полуоси № 2 в направляющую канавку.
С помощью круглогубцев сожмите зажим чехла внутреннего шарнира левой передней полуоси № 2 в месте зацепления захватов.
Note:Не повредите чехол внутреннего шарнира передней полуоси.
Не деформируйте место зацепления захватов зажима чехла внутреннего шарнира левой передней полуоси № 2.
-
УСТАНОВИТЕ ХОМУТ ЧЕХЛА ВНУТРЕННЕГО ШАРНИРА ПРАВОЙ ПЕРЕДНЕЙ ПОЛУОСИ № 2
Tip:Порядок выполнения работ такой же, как для левой стороны.
ПРОВЕРЬТЕ ПЕРЕДНИЙ ПРИВОДНОЙ ВАЛ
Нажмите здесьЩелкните по следующей ссылке