СИСТЕМА СТЕКЛООЧИСТИТЕЛЕЙ И СТЕКЛООМЫВАТЕЛЕЙ

Figure 1. Система передних стеклоочистителей

B004GX4E07

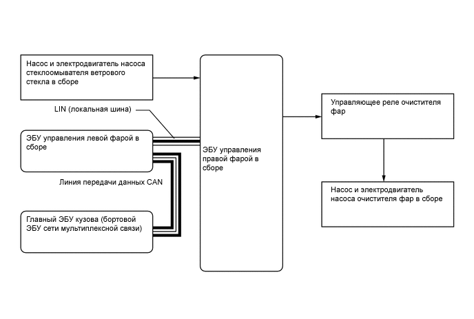
Figure 2. Система очистителей фар

B004H3ZE11