ENGINE UNIT


  1. CONSTRUCTION


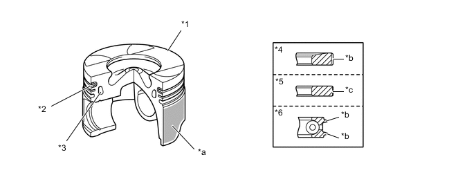
    1. A piston provided with a combustion chamber is used.

    2. The piston is made of aluminum alloy.

    3. A cooling channel has been provided to reduce the piston temperature, and achieve high reliability.

    4. The top ring groove uses a Ni-resist cast iron ring carrier to improve wear resistance.

    5. A Physical Vapor Deposition (PVD) coating has been applied to the surface of the No. 1 compression ring, in order to improve its wear resistance.

    6. A chromium plating coating has been applied to the surface of the No. 2 compression ring, in order to improve its wear resistance.

    7. A PVD coating has been applied to the surface of the oil ring.

    8. A resin coating is applied to the piston skirt portion, to achieve reduction of friction loss.

      B0020C1C01
      *1 Piston *2 Ni-resist Cast Iron Ring Carrier
      *3 Cooling Channel *4 No. 1 Compression Ring
      *5 No. 2 Compression Ring *6 Oil Ring
      *a Resin Coating *b PVD Coating
      *c Chromium Plating - -