DYNAMIC TORQUE CONTROL 4WD/AWD SYSTEM


  1. CONSTRUCTION


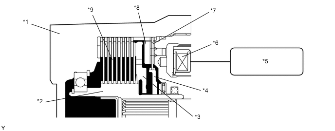
    1. The electromagnetic control coupling consists of a front housing, main clutch, electromagnetic solenoid, armature, control clutch, cam, piston and shaft.

    2. The outer sides of the main clutch and control clutch are coupled with the front housing. The inner side of the main clutch is coupled with the shaft, and the inner side of the control clutch is coupled with the cam.

    3. The control clutch is a multiple metal plate type, and the main clutch is a multiple wet plate type.

      Tech Tips

      The electromagnetic control coupling cannot be disassembled. Replace the electromagnetic control coupling assembly as a unit when performing replacement. For details, refer to the Repair Manual.

      A00YY1IC01
      *1 Front Housing *2 Shaft
      *3 Piston *4 Armature
      *5 Cam *6 Electromagnetic Solenoid
      *7 Control Clutch *8 Main Clutch
      A00YYR0 Propeller Shaft Side - -
  2. OPERATION


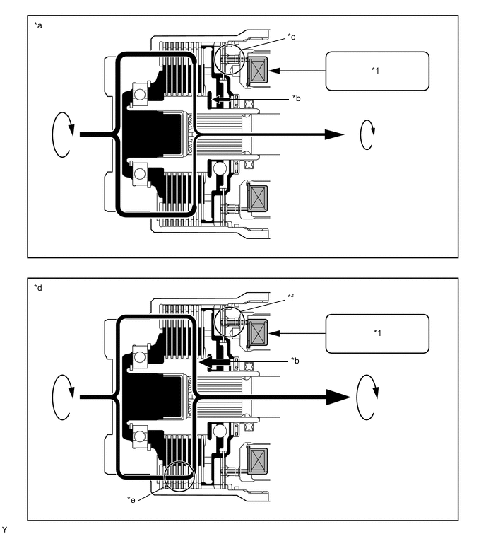
    1. Not Operating


      1. The drive force is transmitted from the propeller shaft to the front housing. When the electromagnetic solenoid is not operating, the drive force of the front housing is not transmitted to the shaft because the control clutch is not engaged. Accordingly, the drive force of the propeller shaft is not transmitted to the rear wheels.

        A00YYQ1C01
        *1 Front Housing *2 Shaft
        *3 Piston *4 Cam
        *5 4WD ECU Assembly *6 Electromagnetic Solenoid
        *7 Control Clutch *8 Armature
        *9 Main Clutch - -
    2. Operating


      1. When the 4WD ECU Assembly energizes the electromagnetic solenoid, it attracts the armature to the control clutch side. This causes the control clutch to engage and the cam to rotate.

      2. The rotational movement of the cam causes the piston to push on the main clutch, causing the main clutch to engage. Accordingly, the drive force of the propeller shaft is transmitted to the rear wheels.

        A00YYP6C01
        *1 Front Housing *2 Shaft
        *3 Piston *4 Cam
        *5 4WD ECU Assembly *6 Electromagnetic Solenoid
        *7 Control Clutch *8 Armature
        *9 Main Clutch - -
      3. The amount of drive force that is transmitted to the rear wheels is controlled steplessly by controlling the amperage that is applied to the electromagnetic solenoid.

        A00YYC8C01
        *1 4WD ECU Assembly - -
        *a Low Amperage *b Piston Travel Distance
        *c Control Clutch Engagement Force: Small *d High Amperage
        *e Main Clutch Engagement Force: Large *f Control Clutch Engagement Force: Large