REAR COMBINATION LIGHT ASSEMBLY ON-VEHICLE INSPECTION

PROCEDURE

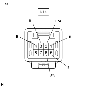
  1. INSPECT REAR COMBINATION LIGHT ASSEMBLY LH

    1. E293939C01

      *A

      for RHD

      *B

      for LHD

      *a

      Front view of wire harness connector

      (to Rear Combination Light Assembly LH)

      Disconnect the K14 rear combination light assembly LH connector.

    2. Measure the voltage according to the value(s) in the table below.

      Standard Voltage

      Tester Connection

      Condition

      Specified Condition

      K14-1 (B) - K14-5 (E)

      Turn signal switch in neutral position

      Below 1 V

      Ignition switch ON, turn signal switch in left turn position

      Alternating between 11 to 14 V and below 1 V

      (60 to 120 times per minute)

      K14-2 (B) - K14-5 (E)*1

      Ignition switch ON, shift lever not in R

      Below 1 V

      Ignition switch ON, shift lever in R

      11 to 14 V

      K14-3 (B) - K14-5 (E)

      Light control switch off

      Below 1 V

      Light control switch in tail position

      11 to 14 V

      K14-4 (B) - K14-5 (E)

      Brake pedal released

      Below 1 V

      Brake pedal depressed

      11 to 14 V

      K14-6 (B) - K14-5 (E)*2

      Light control switch in tail position, fog light switch not in rear position

      Below 1 V

      Light control switch in tail position, fog light switch in rear position

      11 to 14 V

      • *1: for RHD

      • *2: for LHD

      If the result is not as specified, repair or replace the wire harness or connector.

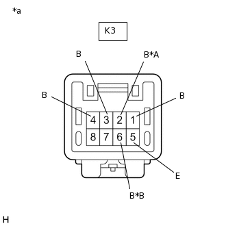
  2. INSPECT REAR COMBINATION LIGHT ASSEMBLY RH

    1. E293939C02

      *A

      for LHD

      *B

      for RHD

      *a

      Front view of wire harness connector

      (to Rear Combination Light Assembly RH)

      Disconnect the K3 rear combination light assembly RH connector.

    2. Measure the voltage according to the value(s) in the table below.

      Standard Voltage

      Tester Connection

      Condition

      Specified Condition

      K3-1 (B) - K3-5 (E)

      Turn signal switch in neutral position

      Below 1 V

      Ignition switch ON, turn signal switch in right turn position

      Alternating between 11 to 14 V and below 1 V

      (60 to 120 times per minute)

      K3-2 (B) - K3-5 (E)*1

      Ignition switch ON, shift lever not in R

      Below 1 V

      Ignition switch ON, shift lever in R

      11 to 14 V

      K3-3 (B) - K3-5 (E)

      Light control switch off

      Below 1 V

      Light control switch in tail position

      11 to 14 V

      K3-4 (B) - K3-5 (E)

      Brake pedal released

      Below 1 V

      Brake pedal depressed

      11 to 14 V

      K3-6 (B) - K3-5 (E)*2

      Light control switch in tail position, fog light switch not in rear position

      Below 1 V

      Light control switch in tail position, fog light switch in rear position

      11 to 14 V

      • *1: for LHD

      • *2: for RHD

      If the result is not as specified, repair or replace the wire harness or connector.